| |||||||||||||
|---|---|---|---|---|---|---|---|---|---|---|---|---|---|
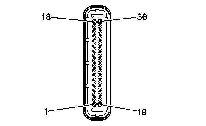
Connector (White) Part Information |
| ||||||||||||
Pin | Wire Color | Circuit No. | Function | ||||||||||
1 | D-BU | 5622 | Fuel Rail Pressure (FRP) Sensor Signal | ||||||||||
2 | GY | 474 | 5-Volt Reference | ||||||||||
3 | D-BU/WH | 878 | Fuel Injector 8 Signal | ||||||||||
4 | OR/BK | 877 | Fuel Injector 7 Signal | ||||||||||
5 | YE/BK | 846 | Fuel Injector 6 Signal | ||||||||||
6 | TN/WH | 845 | Fuel Injector 5 Signal | ||||||||||
7 | L-BU/BK | 844 | Fuel Injector 4 Signal | ||||||||||
8 | PK/BK | 1746 | Fuel Injector 3 Signal | ||||||||||
9 | L-GN/BK | 1745 | Fuel Injector 2 Signal | ||||||||||
10 | TN | 1744 | Fuel Injector 1 Signal | ||||||||||
11 | BK/WH | 1551 | Ground | ||||||||||
12 | OR | 5623 | AF Fuel Injector 1 Control | ||||||||||
13 | PU | 5625 | AF Fuel Injector 3 Control | ||||||||||
14 | L-GN | 5627 | AF Fuel Injector 5 Control | ||||||||||
15 | D-BU | 5629 | AF Fuel Injector 7 Control | ||||||||||
16 | YE/BK | 5694 | Fuel Rail Pressure (FRP) Sensor PWM Output | ||||||||||
17 | PK/BK | 5605 | Fuel Injector Control Module (FICM) Status | ||||||||||
18 | PK | 1020 | Ignition Positive Voltage | ||||||||||
19 | YE | 5629 | Fuel Rail Temperature (FRT) Sensor Signal | ||||||||||
20 | TN | 476 | Ground | ||||||||||
21 | D-BU/WH | 878 | Gasoline Fuel Injector 8 Control | ||||||||||
22 | OR/BK | 877 | Gasoline Fuel Injector 7 Control | ||||||||||
23 | YE/BK | 846 | Gasoline Fuel Injector 6 Control | ||||||||||
24 | TN/WH | 845 | Gasoline Fuel Injector 5 Control | ||||||||||
25 | L-BU/BK | 844 | Gasoline Fuel Injector 4 Control | ||||||||||
26 | PK/BK | 1746 | Gasoline Fuel Injector 3 Control | ||||||||||
27 | L-GN/BK | 1745 | Gasoline Fuel Injector 2 Control | ||||||||||
28 | TN | 1744 | Gasoline Fuel Injector 1 Control | ||||||||||
29 | BK/WH | 1551 | Ground | ||||||||||
30 | YE | 5624 | AF Fuel Injector 2 Control | ||||||||||
31 | BN | 5626 | AF Fuel Injector 4 Control | ||||||||||
32 | L-BU | 5628 | AF Fuel Injector 6 Control | ||||||||||
33 | D-GN | 5630 | AF Fuel Injector 8 Control | ||||||||||
34 | D-BU/WH | 5695 | Fuel Rail Temperature (FRT) Sensor PWM Output | ||||||||||
35 | OR | 2531 | Alternative Fuel (AF) Enable | ||||||||||
36 | -- | -- | Not Used | ||||||||||