GM Service Manual Online
For 1990-2009 cars only

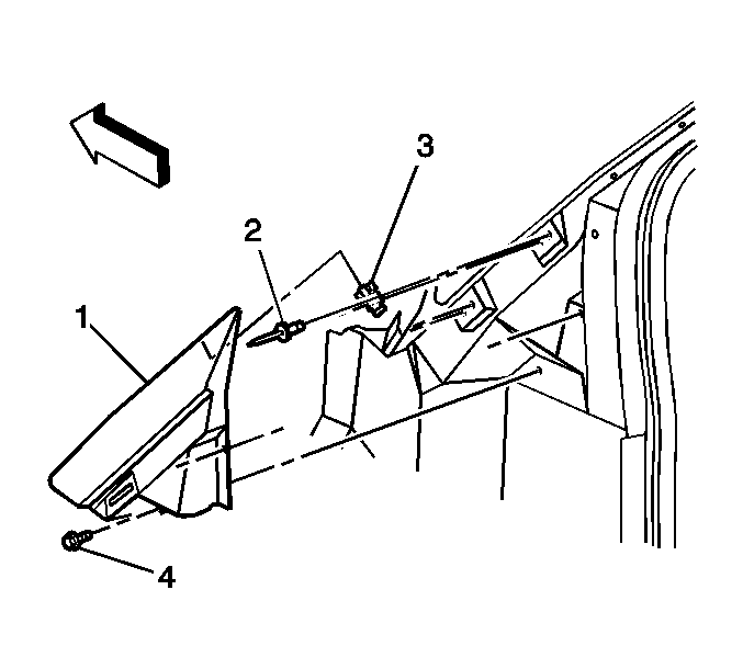
Removal Procedure

  1. Place a protective covering at the top of the fender.

  2. Object Number: 783837  Size: SH
  3. Remove the upper fender filler panel applique. Refer to Windshield Frame Filler Panel Applique Replacement .
  4. Remove the bolt (4) retaining the upper filler panel (1) to the body.
  5. Remove the upper filler panel (1) from the retaining clips.
  6. Remove the upper filler panel (1) from the vehicle.

Installation Procedure


    Object Number: 783837  Size: SH
  1. Install the upper fender filler panel (1) to the vehicle.
  2. Install the upper fender filler panel (1) under the windshield molding.
  3. Install the upper fender filler panel (1) onto the retaining clips.

    Notice: Use the correct fastener in the correct location. Replacement fasteners must be the correct part number for that application. Fasteners requiring replacement or fasteners requiring the use of thread locking compound or sealant are identified in the service procedure. Do not use paints, lubricants, or corrosion inhibitors on fasteners or fastener joint surfaces unless specified. These coatings affect fastener torque and joint clamping force and may damage the fastener. Use the correct tightening sequence and specifications when installing fasteners in order to avoid damage to parts and systems.

  4. Install the bolt (4) in order to retain the upper fender filler panel (1) to the body.
  5. Tighten
    Tighten the bolt (4) to 2 N·m (18 lb in).

  6. Install the upper fender filler panel applique. Refer to Windshield Frame Filler Panel Applique Replacement .
  7. Remove the protective covering from the fender.