GM Service Manual Online
For 1990-2009 cars only
Makes
🢒
Chevrolet
🢒
2008
🢒
HHR
🢒
Engine
🢒
Engine Controls and Fuel - 2.4L
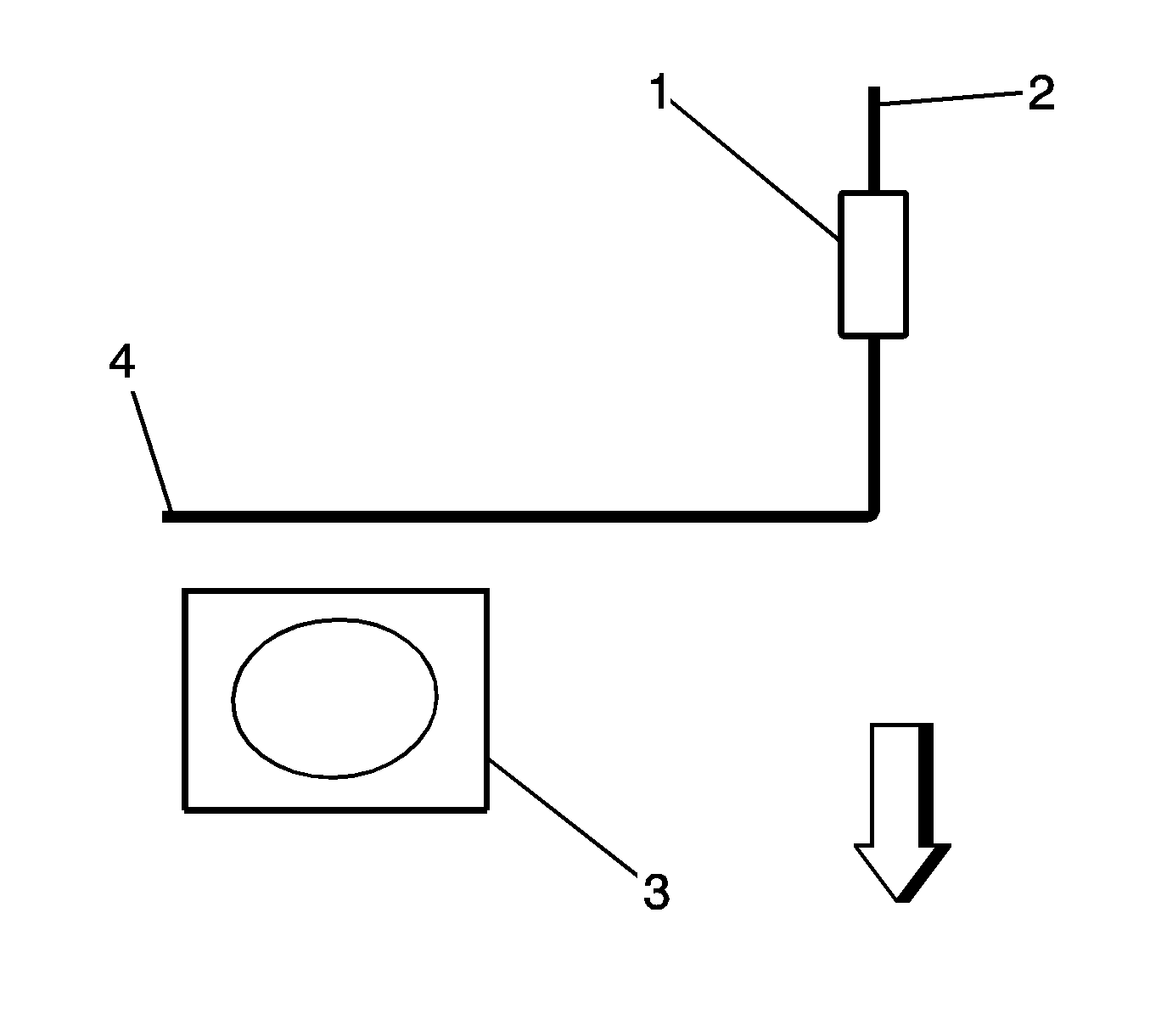
🢒 Emission Hose Routing Diagram
(1)
EVAP Canister Purge Solenoid Valve
(2)
To EVAP Canister
(3)
Throttle Body
(4)
To Intake Manifold