GM Service Manual Online
For 1990-2009 cars only

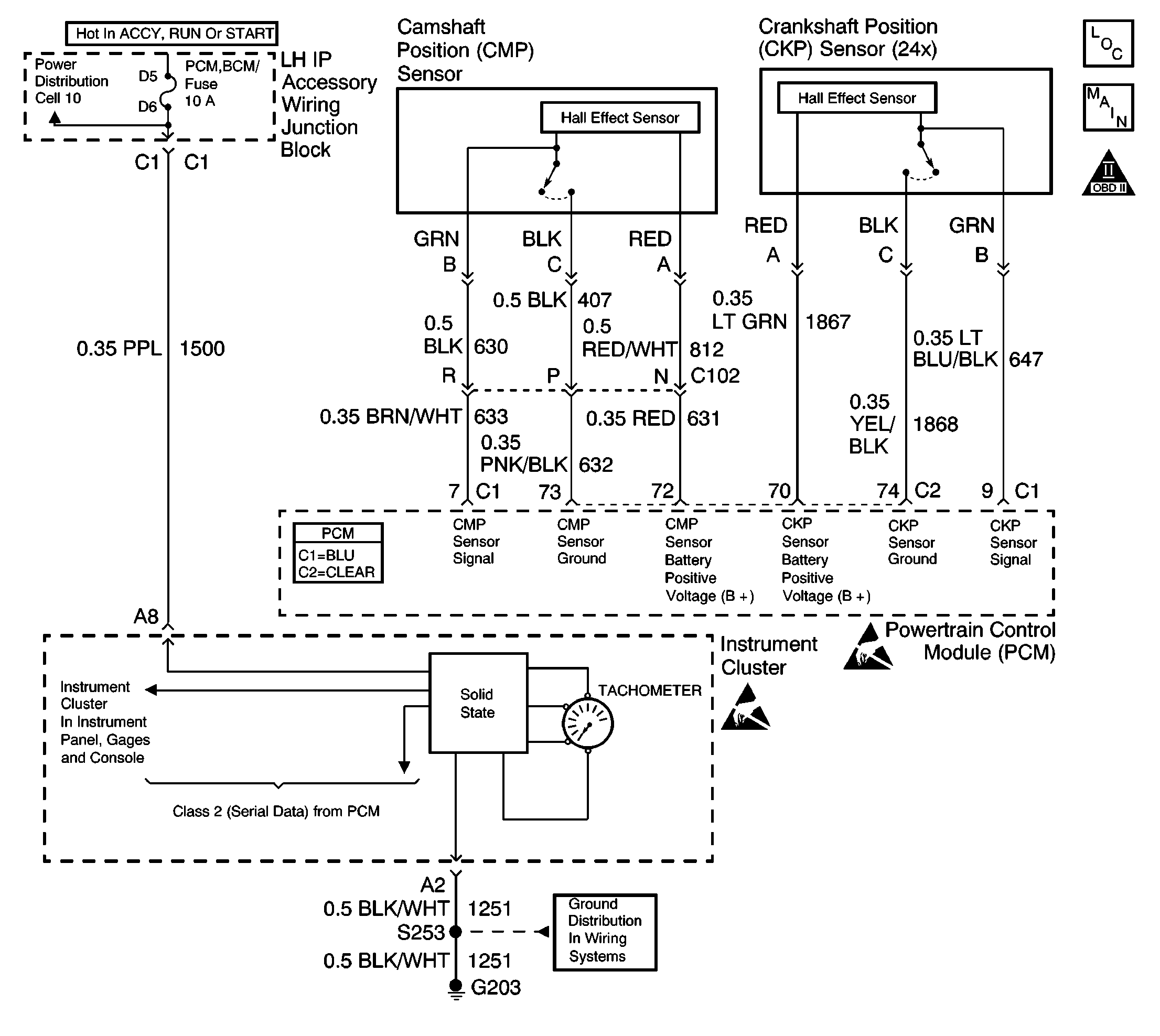
Object Number: 568341  Size: LF
Engine Controls Components
Ignition System, Knock Sensor
OBD II Symbol Description Notice

Circuit Description

The PCM controls the pulse frequency in relationship to the engine RPM and sends the information via Class 2 serial data to the instrument cluster.

Diagnostic Aids

Refer to Diagnostic System Check - Instrument Cluster for additional diagnostic information.

Inspect for the following conditions:

Many situations may lead to an intermittent condition. Perform each inspection or test as directed.

Important: :  Remove any debris from the connector surfaces before servicing a component. Inspect the connector gaskets when diagnosing or replacing a component. Ensure that the gaskets are installed correctly. The gaskets prevent contaminate intrusion.

    • Loose terminal connection
       -  Use a corresponding mating terminal to test for proper tension. Refer to Testing for Intermittent Conditions and Poor Connections , and to Connector Repairs in Wiring Systems for diagnosis and repair.
       -  Inspect the harness connectors for backed out terminals, improper mating, broken locks, improperly formed or damaged terminals, and faulty terminal to wire connection. Refer to Testing for Intermittent Conditions and Poor Connections , and to Connector Repairs in Wiring Systems for diagnosis and repair.
    • Damaged harness--Inspect the wiring harness for damage. If the harness inspection does not reveal a problem, observe the display on the scan tool while moving connectors and wiring harnesses related to the sensor. A change in the scan tool display may indicate the location of the fault. Refer to Wiring Repairs in Wiring Systems for diagnosis and repair.
    •  Inspect the powertrain control module (PCM) and the engine grounds for clean and secure connections. Refer to Wiring Repairs in Wiring Systems for diagnosis and repair.

If the condition is determined to be intermittent, reviewing the Snapshot or Freeze Frame/Failure Records may be useful in determining when the DTC or condition was identified.

Tachometer Control Circuit

Step

Action

Value(s)

Yes

No

1

Did you perform the Diagnostic System Check--Instrument Cluster?

--

Go to Step 2

Go to Diagnostic System Check - Instrument Cluster in Instrument Panel, Gauges, and Console

2

Did you perform the Powertrain On-Board Diagnostic (OBD) System Check?

--

Go to Step 3

Go to Powertrain On Board Diagnostic (OBD) System Check

3

Are there any DTCs set?

--

Go to the applicable DTCs

Go to Step 4

4

  1. Install a scan tool.
  2. Start the engine.
  3. Observe the engine RPM on the scan tool.

Does the scan tool RPM match the RPM indicated on the instrument cluster ?

--

Go to Diagnostic Aids

Go to Step 5

5

Verify proper operation of the scan tool.

Connect the scan tool to another vehicle and observe the RPM.

Does the scan tool RPM match the vehicle RPM?

--

Go to Step 6

Go to Scan Tool Does Not Power Up or to Scan Tool Does Not Communicate with Class 2 Device in Data Link Communication

6

With the engine still running, observe the 24X CKP sensor on scan tool.

Does the scan tool indicate the correct engine speed up to 1600 RPM?

--

Go to Tachometer Inaccurate or Inoperative in Instrument Panel, Gauges, and Console

Go to Step 7

7

Inspect or test for the following circuit conditions:

    • An open or a short in the Class 2 serial data circuit
    •  An open or a short in the following components:
       - The ignition control (IC) circuit
       -  The bypass circuit
       - The 3X reference high circuit
       - The 3X reference low circuit
    •  An open or a short in 24X CKP sensor circuits
    •  If a problem is found repair as necessary. Refer to Wiring Repairs in Wiring Systems.

Did you find and correct the condition?

--

System OK

Refer to DTC P0336 Crankshaft Position (CKP) Sensor Circuit