GM Service Manual Online
For 1990-2009 cars only
Makes
🢒
Chevrolet
🢒
2000
🢒
Impala
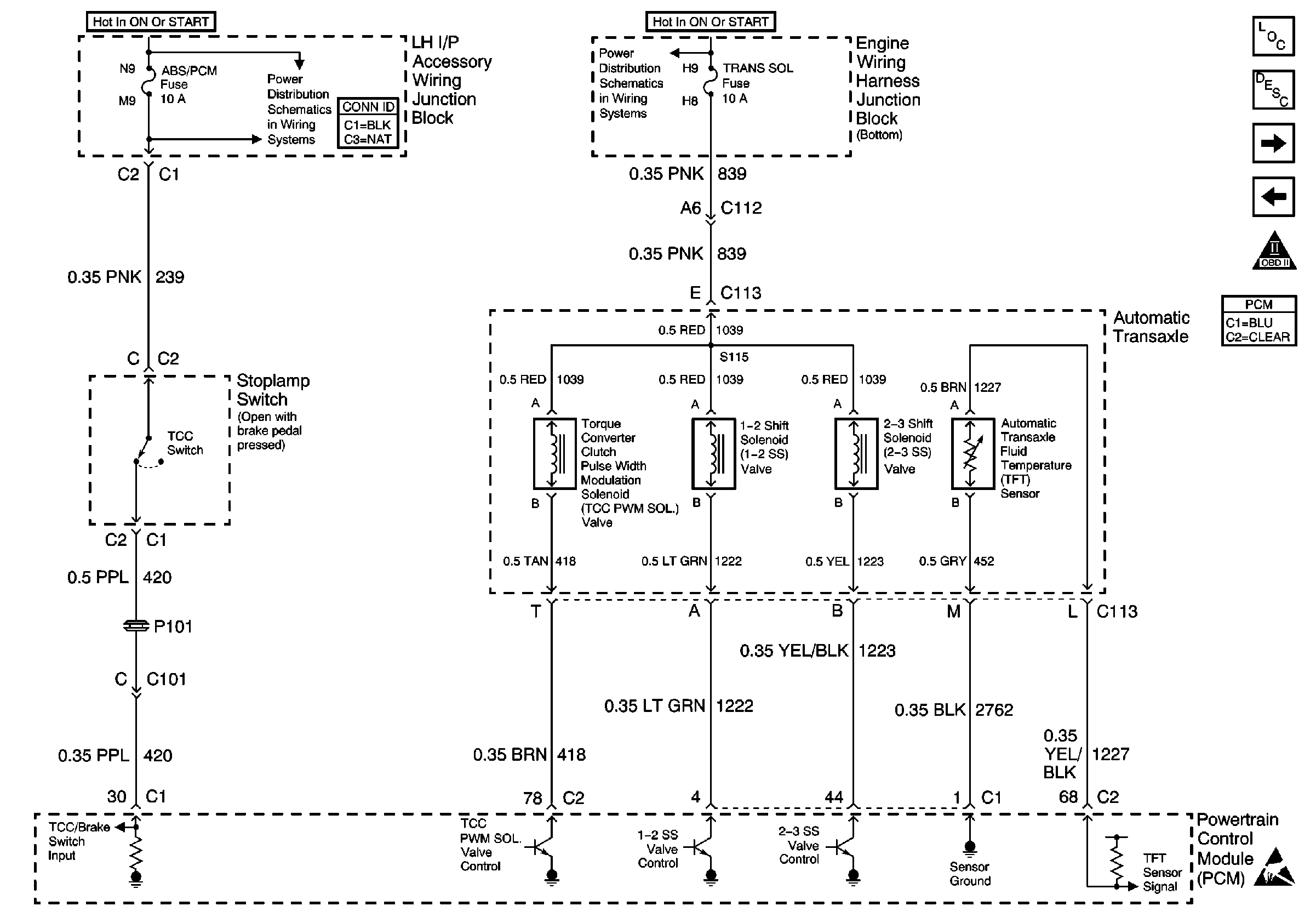
🢒 Automatic Transaxle, TCC Switch
Automatic Transaxle, TCC Switch
Automatic Transaxle, TCC Switch
ABS/PCM, STOP, TURN SIGNAL and SRS Fuses
FUEL INJ, TRANS SOL and A/C RLY (COIL) Fuses
Handling ESD Sensitive Parts Notice
Engine Controls Components
Powertrain Control Module Description
Automatic Transaxle, ISS, PC Solenoid, TFP
Automatic Transaxle Position Encoder, Crank Relay
OBD II Symbol Description Notice