GM Service Manual Online
For 1990-2009 cars only

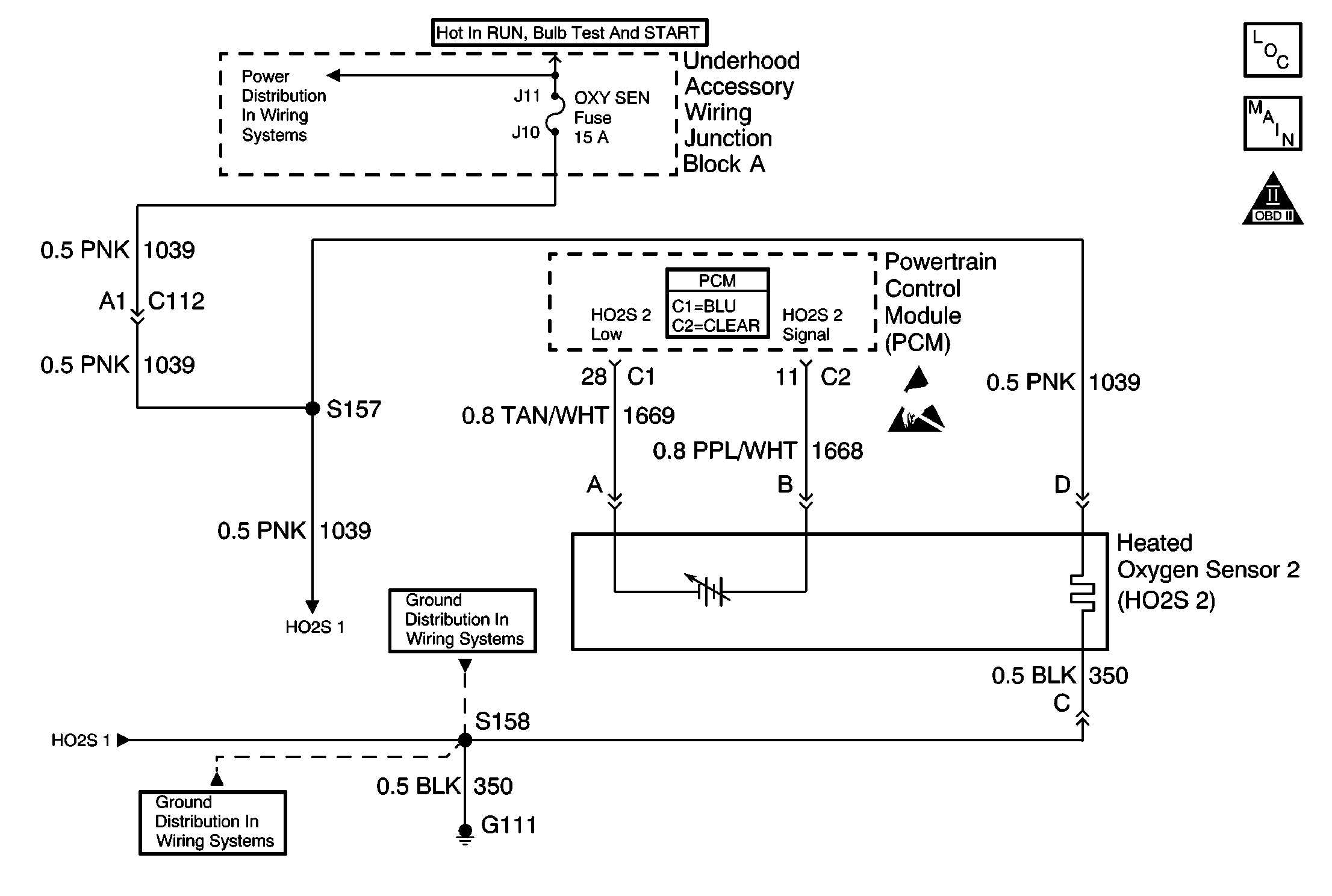
Object Number: 568365  Size: MF
Engine Controls Components
Engine Data Sensors - HO2S 1, HO2S 2
OBD II Symbol Description Notice

Circuit Description

A three-way catalytic converter is used in order to control emissions of hydrocarbons (HC), carbon monoxide (CO), and oxides of nitrogen (NOx). The catalyst within the converter promotes a chemical reaction which oxidizes the HC and the CO present in the exhaust gas, converting them into harmless water vapor and carbon dioxide. The catalyst also reduces the NOx, converting it to nitrogen. The Powertrain Control Module (PCM) has the ability to monitor this process using heated oxygen sensor HO2S 1 and HO2S 2 . HO2S 1 produces an output signal which indicates the amount of oxygen present in the exhaust gas that is entering the three-way catalytic converter. HO2S 2 produces an output signal which indicates the oxygen storage capacity of the catalyst. This in turn indicates the catalyst's ability to convert the exhaust gases efficiently. If the catalyst is operating efficiently, the HO2S 1 signal will be far more active than the signal produced by HO2S 2 . If the HO2S 2 signal voltage remains at or near the 450 mV bias for an extended time, DTC P0140 will set.

Conditions for Running the DTC

    •  No active TP, MAP, MAF, IAT, ECT, sensor, fuel injector circuit, EVAP, AIR DTCs are present.
    • The system voltage is between 9.0--18.0 volts.
    •  The engine coolant temperature is more than 65°C (149°F).
    •  The engine run time is more than 200 seconds.
    • The AIR pump is commanded OFF.

Conditions for Setting the DTC

HO2S 2 signal voltage remains between 412--499 mV for more than 100 seconds.

Action Taken When the DTC Sets

    • The PCM will illuminate the malfunction indicator lamp (MIL) during the second consecutive trip in which the diagnostic test has been run and failed.
    • The PCM will store conditions which were present when the DTC set as Freeze Frame/Failure Records data.

Conditions for Clearing the MIL/DTC

    • The PCM will turn OFF the malfunction indicator lamp (MIL) during the third consecutive trip in which the diagnostic has run and passed.
    • The history DTC will clear after 40 consecutive warm-up cycles have occurred without a malfunction.
    • The DTC can be cleared by using a scan tool.

Diagnostic Aids

Inspect for:

    • Corroded exhaust flange bolts--Use a DMM to ensure that continuity exists between the engine block and the heated oxygen sensor shell. If resistance is excessively high, replace the corroded exhaust flange, attaching the hardware as necessary.
    • A malfunctioning HO2S heater or heater circuit--With the ignition ON and the engine not running, the HO2S voltage displayed on a scan tool should gradually drop to less than 250 mV or rise to more than 600 mV. If not, disconnect the HO2S and connect a test lamp between the HO2S ignition feed and heater ground circuits. If the test lamp does not illuminate, repair the open ignition feed or the sensor ground circuit as necessary. If the test light illuminates and the HO2S signal and low circuits are OK, replace the affected HO2S. Refer to Heated Oxygen Sensor Replacement .

Many situations may lead to an intermittent condition. Perform each inspection or test as directed.

Important: :  Remove any debris from the connector surfaces before servicing a component. Inspect the connector gaskets when diagnosing or replacing a component. Ensure that the gaskets are installed correctly. The gaskets prevent contaminate intrusion.

    • Loose terminal connection
       -  Use a corresponding mating terminal to test for proper tension. Refer to Testing for Intermittent Conditions and Poor Connections , and to Connector Repairs in Wiring Systems for diagnosis and repair.
       -  Inspect the harness connectors for backed out terminals, improper mating, broken locks, improperly formed or damaged terminals, and faulty terminal to wire connection. Refer to Testing for Intermittent Conditions and Poor Connections , and to Connector Repairs in Wiring Systems for diagnosis and repair.
    • Damaged harness--Inspect the wiring harness for damage. If the harness inspection does not reveal a problem, observe the display on the scan tool while moving connectors and wiring harnesses related to the sensor. A change in the scan tool display may indicate the location of the fault. Refer to Wiring Repairs in Wiring Systems for diagnosis and repair.
    •  Inspect the powertrain control module (PCM) and the engine grounds for clean and secure connections. Refer to Wiring Repairs in Wiring Systems for diagnosis and repair.

If the condition is determined to be intermittent, reviewing the Snapshot or Freeze Frame/Failure Records may be useful in determining when the DTC or condition was identified.

Test Description

The numbers below refer to the step numbers on the diagnostic table.

  1. If the DTC P0140 test passes while the Failure Records conditions are being duplicated, an intermittent condition is indicated.

    Reviewing the Failure Records vehicle mileage since the diagnostic test last failed may help to determine how often the condition that caused the DTC to be set occurs. This may assist in diagnosing the condition.

  2. This vehicle is equipped with a PCM which uses an electrically erasable programmable read only memory (EEPROM). When the PCM is replaced, the new PCM must be programmed.

DTC P0140 - HO2S Circuit Insufficient Activity Sensor 2

Step

Action

Values

Yes

No

1

Did you perform the Powertrain On-Board Diagnostic (OBD) System Check?

--

Go to Step 2

Refer to Powertrain On Board Diagnostic (OBD) System Check

2

  1. Ensure that the engine is at the normal operating temperature.
  2. Operate the engine above 1200 RPM for two minutes while monitoring HO2S 2 voltage on the scan tool HO2S data list.

Does the scan tool indicate HO2S 2 voltage varying outside the specified values?

412-499 mV

Go to Step 3

Go to Step 4

3

  1. Turn ON the ignition, with the engine OFF.
  2. Review and record the scan tool Failure Records data and note the parameters.
  3. Operate the vehicle within the Failure Records conditions as noted.
  4. Use a scan tool in order to monitor the Specific DTC info for DTC P0140 until the DTC P0140 test runs.

Does the scan tool indicate that the DTC failed this ignition?

--

Go to Step 4

Go to Diagnostic Aids

4

  1. Disconnect HO2S 2 and jumper the HO2S signal and low circuits on the PCM side to ground.
  2. Use a scan tool in order to monitor the HO2S 2 voltage.

Does the HO2S 2 voltage measure less than the specified value?

150 mV

Go to Step 8

Go to Step 5

5

  1. Remove the jumper wire.
  2. Use a DMM in order to measure the voltage between the HO2S 2 signal circuit on the PCM side and the HO2S 2 heater ground circuit.

Does the HO2S 2 signal voltage measure more than the specified value?

950 mV

Go to Step 6

Go to Step 7

6

  1. Turn OFF the ignition.
  2. Disconnect the PCM.
  3. Inspect the continuity of the HO2S 2 low circuit. Refer to Testing for Continuity in Wiring Systems.
  4. If the HO2S 2 low circuit measures more than 5 ohm, repair the open or faulty connection as necessary. Refer to Testing for Intermittent Conditions and Poor Connections , and Wiring Repairs in Wiring Systems.

Did you find and correct the condition?

--

Go to Step 13

Go to Step 9

7

  1. Disconnect the PCM.
  2. Inspect continuity of the HO2S 2 signal circuit. Refer to Testing for Continuity in Wiring Systems.
  3. If the HO2S 2 signal circuit measures more than 5 ohms, repair the open or faulty connection as necessary. Refer to Testing for Intermittent Conditions and Poor Connections , and Wiring Repairs in Wiring Systems.

Did you find and correct the condition?

--

Go to Step 13

Go to Step 10

8

Inspect for a faulty HO2S 2 signal or a low circuit terminal connection at the HO2S 2 harness connector. Refer to Testing for Intermittent Conditions and Poor Connections , and Connector Repairs in Wiring Systems.

Did you find and correct the condition?

--

Go to Step 13

Go to Step 11

9

Inspect for a faulty HO2S 2 low circuit terminal connection at the PCM. Refer to Testing for Intermittent Conditions and Poor Connections in Wiring Systems.

Did you find and correct the condition?

--

Go to Step 13

Go to Step 12

10

Inspect for a faulty HO2S 2 signal circuit terminal connection at the PCM. Refer to Testing for Intermittent Conditions and Poor Connections in Wiring Systems.

Did you find and correct the condition?

--

Go to Step 13

Go to Step 12

11

Replace the HO2S 2. Refer to Heated Oxygen Sensor Replacement .

Did you complete the replacement?

--

Go to Step 13

--

12

Important: :  The replacement PCM must be programmed.

Replace the PCM. Refer to Powertrain Control Module Replacement/Programming .

Did you complete the replacement?

--

Go to Step 13

--

13

  1. Use the scan tool in order to record the Failure Records.
  2. Clear the DTCs.
  3. Operate vehicle within Failure Records conditions as noted.

Does DTC reset?

--

Go to Step 2

System OK