GM Service Manual Online
For 1990-2009 cars only

Removal Procedure


Object Number: 314509  Size: SH

Important: Sectioning procedures have been developed to simplify repair of the lower rails, providing the majority of the damage can be returned to factory specifications. This allows the damaged front section to be replaced without performing a full rail replacement. The rails are manufactured with diemarks (1) inboard and outboard to indicate the location for the sectioning joint.

Notice: Sectioning should take place only in the locations recommended in the service instructions. Failure to follow these instructions may compromise the structural integrity of the vehicle.

Important: If the damage exceeds the recommended area for sectioning and the rail cannot be straightened, the complete rail must be replaced.

  1. Support the powertrain assembly.
  2. Remove 4 engine cradle bolts.
  3. Position the cradle away from the rail.
  4. Important: It is not necessary to completely remove the powertrain or engine cradle for rail sectioning.

  5. Remove all panels and components necessary for access, including the strut and axle assemblies.
  6. Remove sealers and anti-corrosion materials as necessary.
  7. Locate the diemarks in the rail.

  8. Object Number: 314511  Size: SH
  9. Use a straight edge to scribe lines around the rail.

  10. Object Number: 314513  Size: SH
  11. Mark and cut the damaged rail at the diemarks.
  12. Remove the damaged section of the rail.

Installation Procedure


    Object Number: 314515  Size: SH
  1. Measure from the diemarks to add 20 mm (3/4 in) in length to the service part.
  2. Align marks with a straight edge and scribe line for sectioning cut.
  3. Cut the service part along the marked lines.
  4. Cut the service part along the marked lines.
  5. Leave 20 mm (3/4 in) added lengths to the service part for sectioning overlap.
  6. Cut and remove approximately 20 mm (3/4 in) of the outboard and downward turned flanges of the service part.

  7. Object Number: 314519  Size: SH
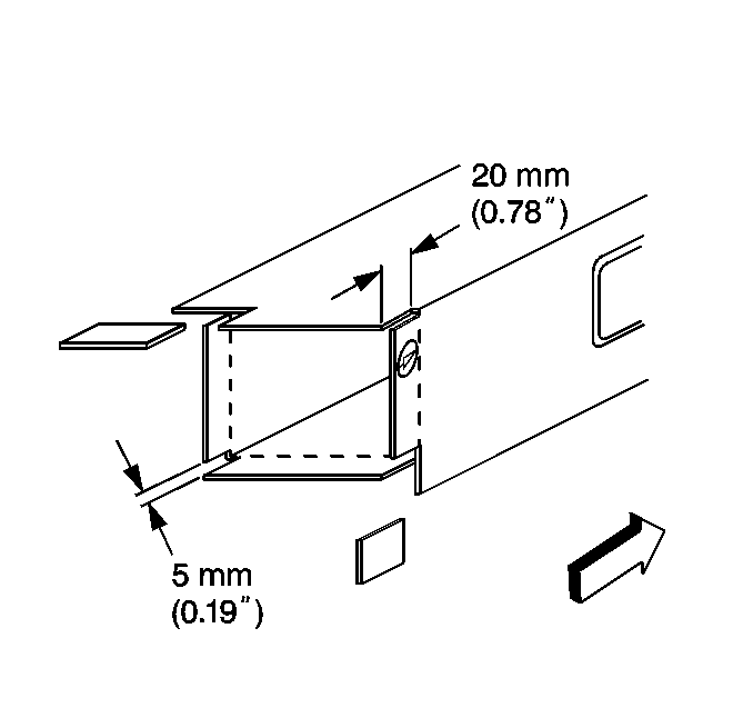
  8. Cut a 5 mm (3/16 in) along the corners of the service part to create tabs on the four sides of the rail.

  9. Object Number: 314526  Size: SH
  10. Step the top, bottom and side tabs inward to allow the service part to fit inside the original rail.
  11. Welds the tabs (1) together along the corners of the service part.

  12. Object Number: 314527  Size: SH
  13. Drill 8 mm (5/16 in) plug weld holes in the top, bottom and sides of the original approximately 10 mm (3/8 in) from the sectioning cut.
  14. Clean and prepare the mating surfaces as necessary.
  15. Position the stepped tabs of the modified service part inside the original rail. Allow 20 mm (¾ in) of overlap.
  16. Align and check fit using three dimensional measuring equipment.
  17. Plug weld accordingly.
  18. Check measurements frequently to ensure proper fit and alignment.
  19. Stitch weld along the entire sectioning joint.

  20. Object Number: 314528  Size: SH
  21. Make 25 mm (1 in) welds along the seam with 25 mm (1 in) gaps between them.
  22. Go back and complete the stitch weld. This will create a solid joint with minimal heat distortion.
  23. Clean and prepare welded surfaces.
  24. Important: Prior to refinishing, refer to GM 4901MD-99 Refinish Manual for recommended products. Do not combine paint systems. Refer to paint manufacturer's recommendations.

  25. Prime with 2-part catalyzed primer.
  26. Apply sealers and anti-corrosion materials as necessary.
  27. Install all related panels and components.