GM Service Manual Online
For 1990-2009 cars only
Figure 1:

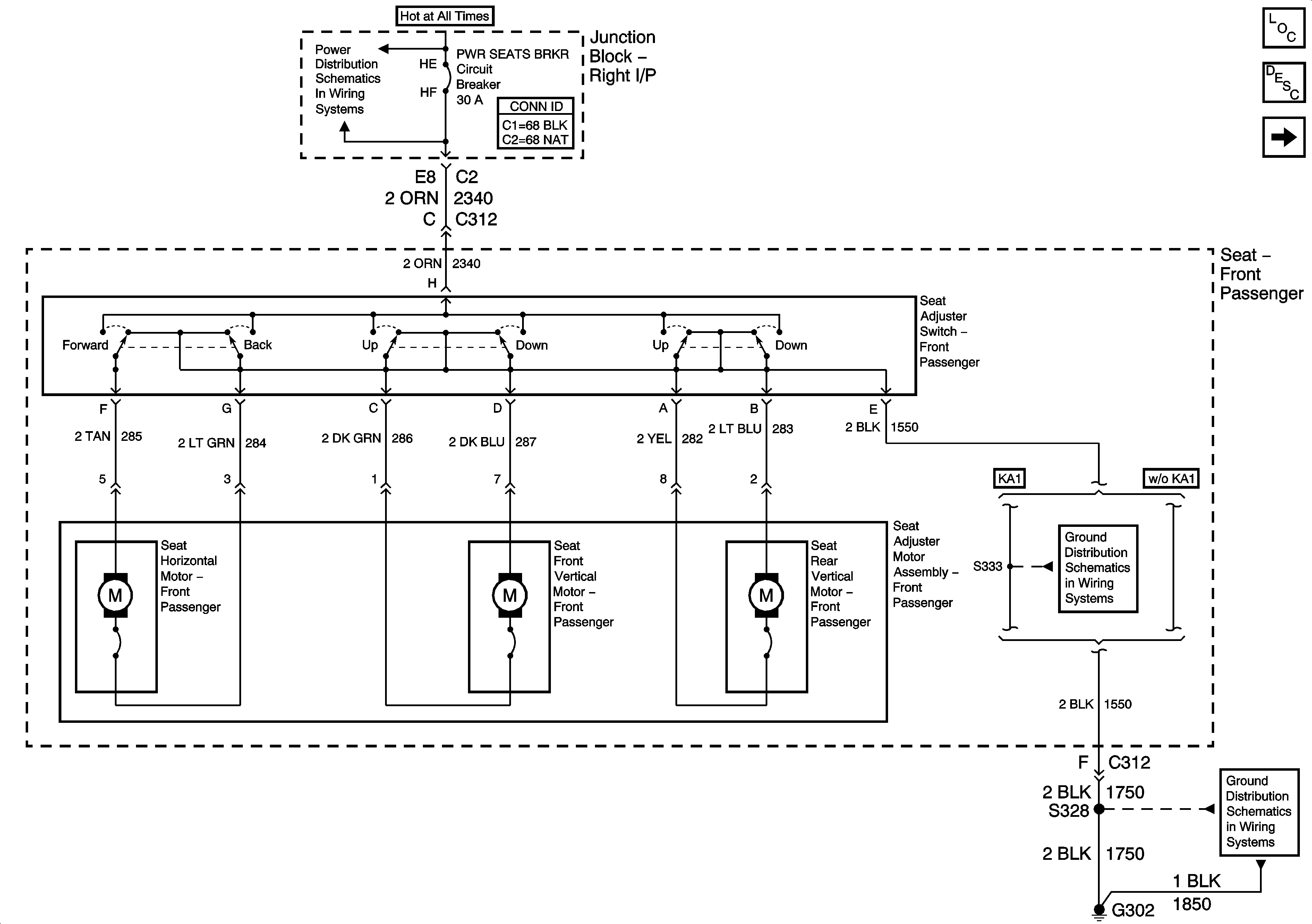
6-Way Power Controls


Object Number: 1552613  Size: FS
Master Electrical Component List
Power Seats System Description and Operation
Heat Controls (Impala)
B/U LP, DIC/RKE, PWR DROP and RT HTD ST Fuses, PWR SEATS BRKR Circuit Breaker
G302 - 1 of 2
G302 - 1 of 2
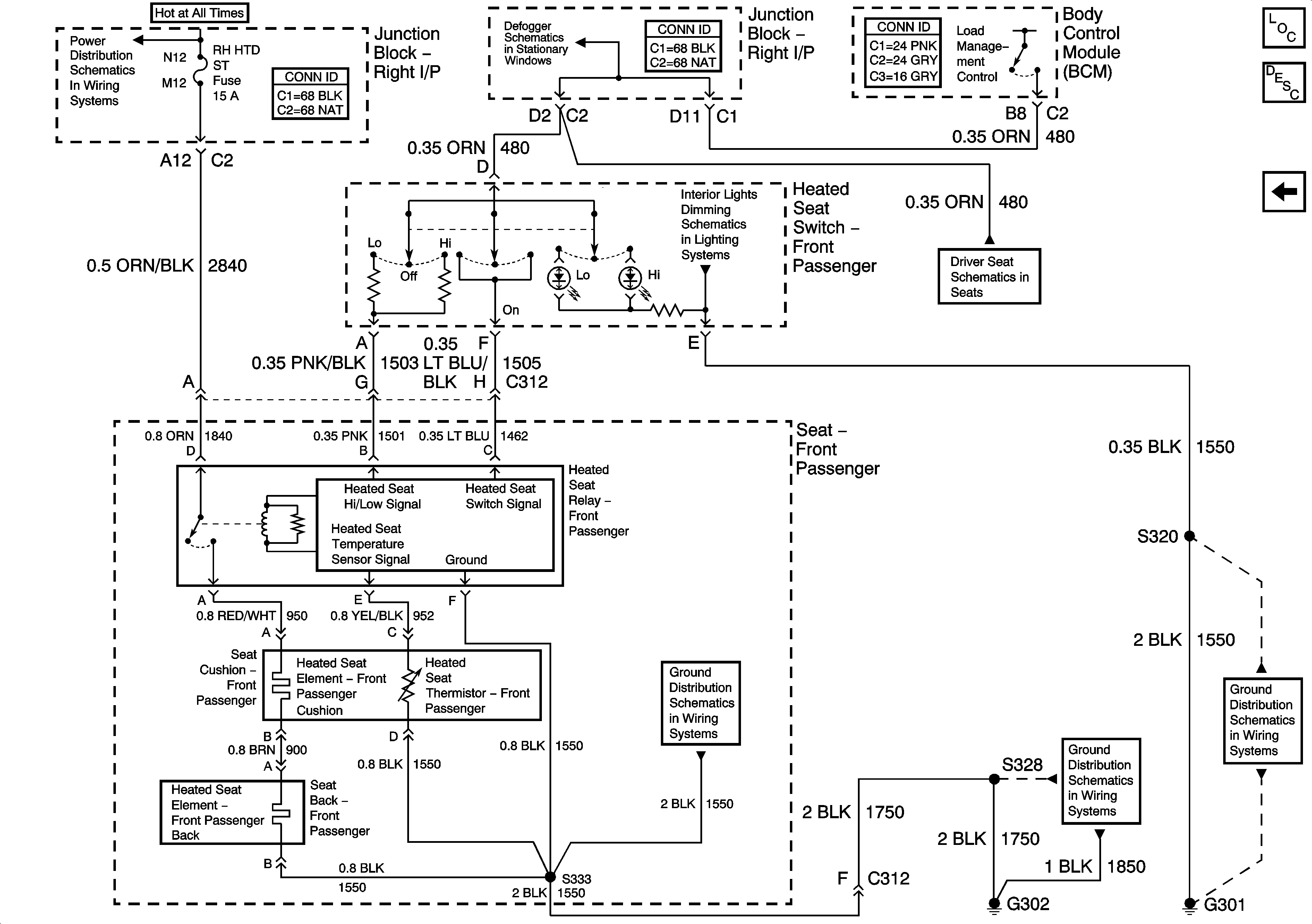
Figure 2:

Heat Controls (Impala)


Object Number: 1551653  Size: FS
Master Electrical Component List
Heated Seats Description and Operation
Heat Controls (Monte Carlo)
6-Way Power Controls
B/U LP, DIC/RKE, PWR DROP and RT HTD ST Fuses, PWR SEATS BRKR Circuit Breaker
Defogger
Heat Controls (Impala)
G302 - 1 of 2
G302 - 1 of 2
Figure 3:

Heat Controls (Monte Carlo)


Object Number: 1551654  Size: FS
Master Electrical Component List
Heated Seats Description and Operation
Heat Controls (Impala)
B/U LP, DIC/RKE, PWR DROP and RT HTD ST Fuses, PWR SEATS BRKR Circuit Breaker
Defogger
Console and Driver Door
Heat Controls (Monte Carlo)
G302 - 1 of 2
G302 - 1 of 2
G301 - 1 of 2