GM Service Manual Online
For 1990-2009 cars only

    Object Number: 1557735  Size: SH

    Caution: Bodily injury may occur if the cleaning solvent is inhaled or exposed to the skin.

  1. Clean all parts of sludge, oil, and varnish by soaking in cleaning solvent.
  2. Inspect for foreign material and determine the source of the foreign material.
  3. Inspect the pump housing and cover for the following conditions:
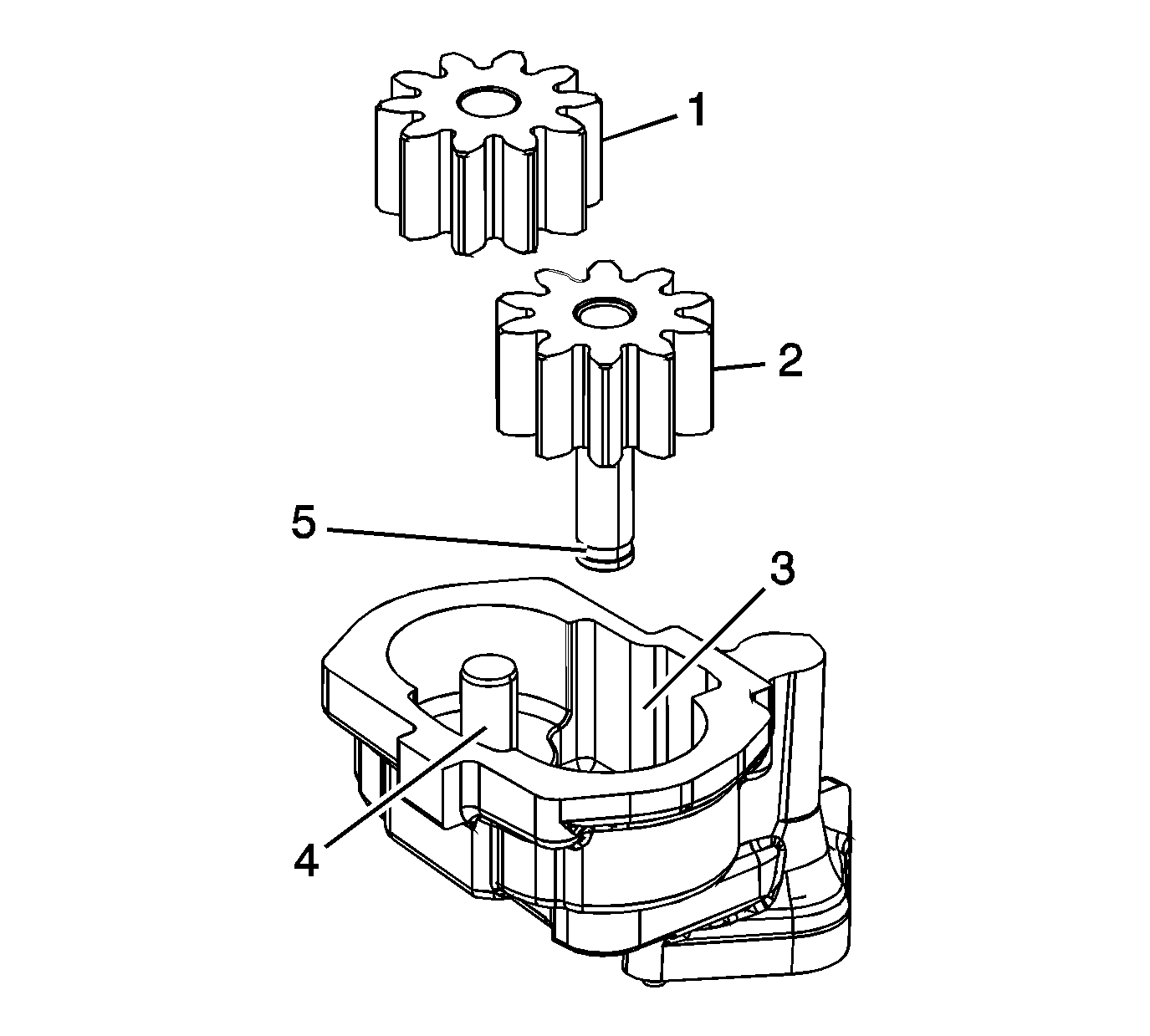
  4. • Cracks or casting imperfections
    • Scoring (3)
    • Damaged threads
  5. Do not attempt to repair the pump housing.
  6. Replace the pump housing.

  7. Inspect the oil pump gears for the following conditions:
  8. • Scoring (1)
    • Excessive wear (2)
  9. Inspect the idler shaft for looseness or scoring (4).
  10. If loose or damaged, replace the oil pump.

  11. Inspect the drive gear shaft for looseness or scoring (5).

  12. Object Number: 1557740  Size: SH
  13. Inspect the pressure regulator valve for the following conditions:
  14. • Scoring
    • Sticking
    • Burrs may be removed using a fine oil stone.
  15. Inspect the pressure regulator valve spring for the following conditions:
  16. • Loss of tension
    • Bending
  17. Inspect the suction pipe and screen assembly for the following conditions:
  18. • Looseness--If the suction pipe is loose, bent or has been removed, replace the pump body cover and suction pipe.
    • Broken wire mesh or screen

    Object Number: 1557744  Size: SH
  19. Measure the oil pump gear lash. Install the gears, and measure in several places.

  20. Object Number: 1557747  Size: SH
  21. Measure the oil pump housing gear pocket (1, 2).

  22. Object Number: 1557750  Size: SH
  23. Measure the oil pump gears (1, 2).

  24. Object Number: 1557826  Size: SH

    Important: When deciding pump serviceability based on end clearance, consider depth of the wear pattern in the pump cover.

  25. Measure the oil pump gear side clearance.