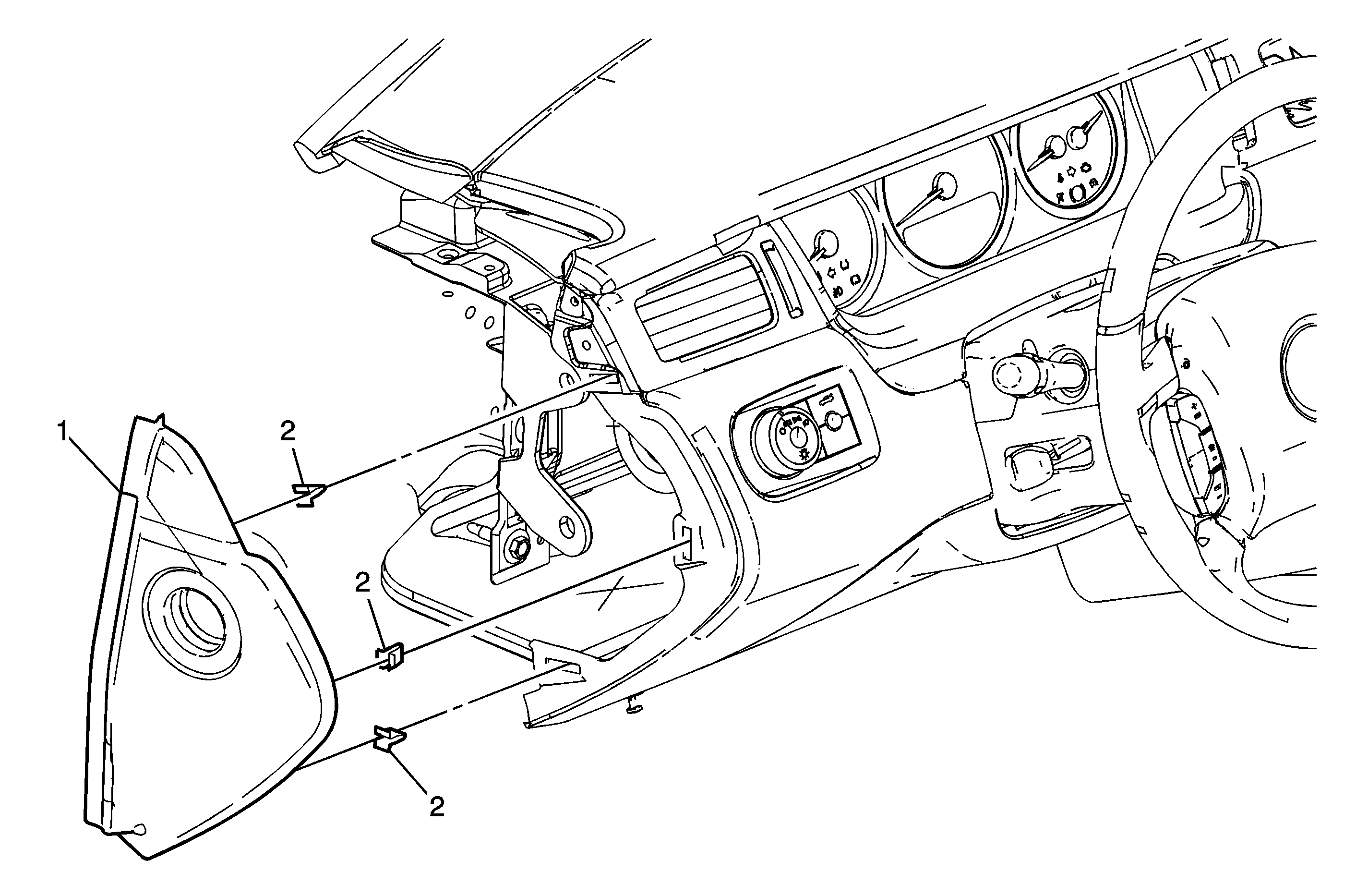
Callout
Component Name
Fastener Tightening Specifications: Refer to Fastener Tightening Specifications .
1
Trim Cover, Instrument Panel Outer
TipImpala shown Monte Carlo similar.
2
Clip, Retainer (Qty 3)