GM Service Manual Online
For 1990-2009 cars only
Makes
🢒
Chevrolet
🢒
2004
🢒
Kodiak C-Series (Conventional) C4/C5
🢒
Engine
🢒
Engine Controls - 6.6L (LLY)
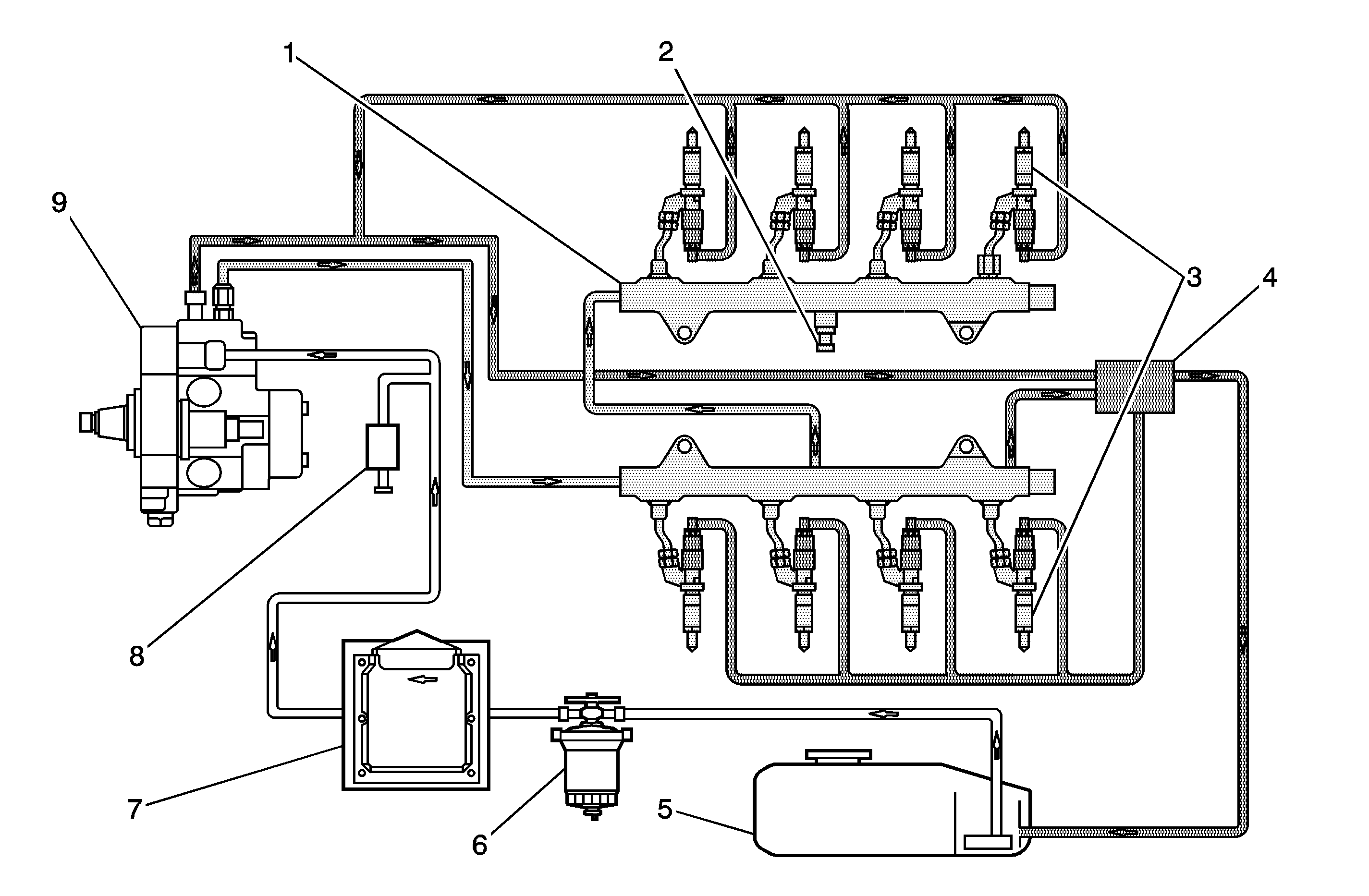
🢒 Fuel Injection Line Routing Diagram
Fuel System Overview
(1)
Fuel Rail
(2)
Fuel Pressure Sensor
(3)
Fuel Injectors
(4)
Fuel Return Junction Block
(5)
Fuel Tank
(6)
Fuel Filter
(7)
Fuel Injection Control Module
(8)
First Start Fuel Bleeder Valve
(9)
Fuel Injection Pump