GM Service Manual Online
For 1990-2009 cars only

Reinforcement Description

Reinforcements increase frame strength by increasing the section modulus of the reinforced area. An effective reinforcement must compensate for any factors that could cause damage to the frame, while not introducing any new factors that may cause stress concentrations. While a reinforcement is intended to make the frame less flexible, an excessively stiff reinforcement may cause frame failure.

Adhere to the following guidelines when selecting the type or length of a reinforcement:

    • Use reinforced rails, rather than the heavier one-piece rails, on a new vehicle. Add reinforcements if the unsupported span between the axles is too great due to a long wheelbase.
    • Avoid abrupt changes in the section modulus by using tapered reinforcements.
    • Use the specified practices when welding, drilling, or using bolts in a reinforcement procedure. .
    • Metals vary in type and strength. The strength of a reinforcement should be as high as the frame that is being reinforced.

Reinforcement Types


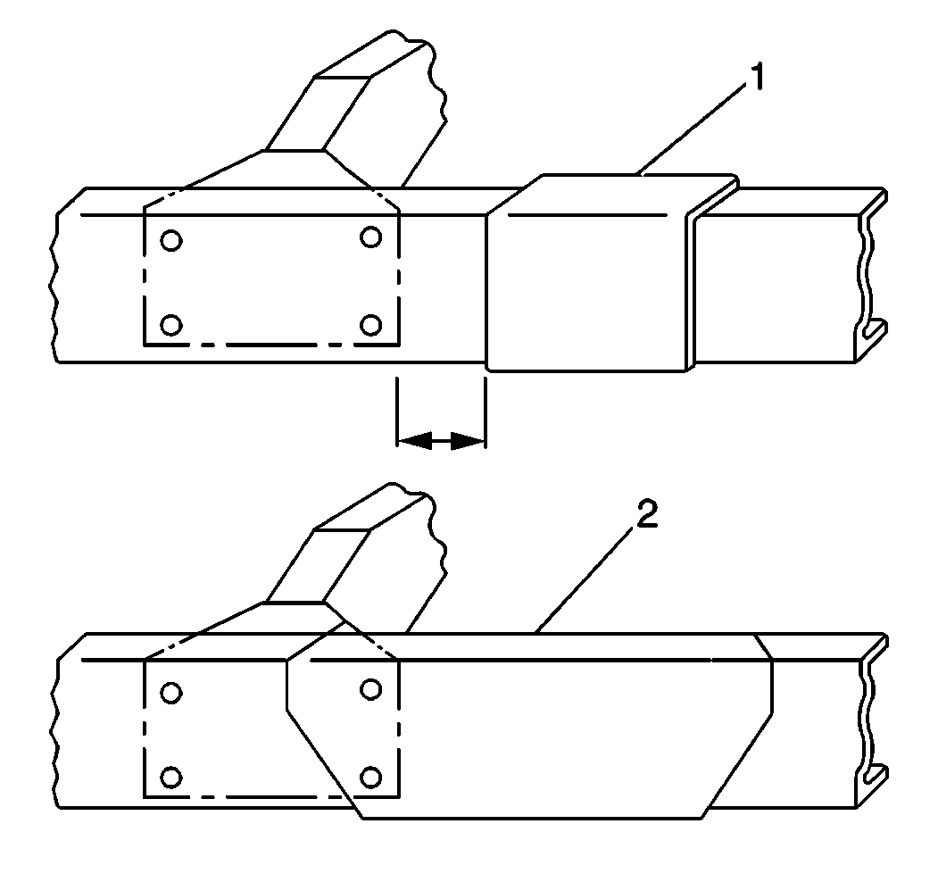
Object Number: 207501  Size: SH

Any incorrect (1) reinforcement practices may cause abrupt changes to the section modulus.


Object Number: 207504  Size: SH

Follow the correct (2) reinforcement practices carefully to avoid any frame damage.

The following types of reinforcements may be combined in different ways to meet any special needs, such as heavy demands:

   • 
Object Number: 207484  Size: SH
  • Use an inverted L reinforcement on either the inside or the outside of the frame rail. Use the inverted L reinforcement where the maximum stress occurs on the upper flange and where the frame or hanger-bracket design does not allow the use of an upright L reinforcement.
  •    • 
    Object Number: 207486  Size: SH
  • Use channel reinforcements on the inside or the outside of the frame rail in order to reinforce the flange and the web rail.
  •    • 
    Object Number: 207489  Size: SH
  • Use web reinforcements, plug welded at 200-500 mm (7.87-19.68 in), on the inside of the rail web.
  •    • 
    Object Number: 207491  Size: SH
  • Use strap reinforcements, plug welded at 150-200 mm (5.9-7.87 in) intervals (1), on the rail flange on the inside of the channel. Do not weld across the end or along the edges of the reinforcement.
  •    • 
    Object Number: 207493  Size: SH
  • Use fish plate reinforcements on the outside of the rail web, extending above or below the rail, to stiffen the frame.
  •    • 
    Object Number: 207494  Size: SH
  • Use an upright L reinforcement on the inside or the outside of the frame rail. Use an upright L reinforcement where the maximum stress occurs on the bottom of the lower flange.
  •    • 
    Object Number: 207497  Size: SH
  • Use inverted J reinforcements, attaching only to the web section, on the inside of the rail channel. The inverted J reinforcement is designed to prevent any flange buckling due to high torsional inputs or shock loading during a tractor hook-up operation.
  • Creating Reinforcements

    Observe the following practices when creating a reinforcement of any type:

        • Taper the reinforcement plates in order to avoid any abrupt changes in the section modulus. Ensure that the angles at the edge of a reinforcement plate are less than 45 degrees.
        • Grind away any cracks, nicks, or burrs when using a cutting torch to shape the reinforcement plates. Remove any burrs from the edges of the holes.
        • Avoid the gaps that may result when the reinforcements stop short of the ends of the crossmembers, gussets and brackets.
        • Make the reinforcements long enough to extend beyond the critical area, after tapering.

    Attachment

    Attach all reinforcements with rivets or, preferably, bolts. In some cases, welding may be acceptable. For example, a plug weld is used on a strap or a web reinforcement. You can ream an enlarged or irregularly worn bolt hole in order for the hole to accept the next larger bolt diameter. Body-fit bolts with hardened washers may be used on critical areas. When using a body-fit bolt, ream the hole to a non-standard size to get an interference fit for the bolt. Use existing holes whenever possible. If you need to make new holes, use a cobalt high-speed drill. Sharpen the drill to give a 150 degree included angle with a lip clearance of 7-15 degrees. Avoid enlarging a pilot hole in successive stages and also avoid breaking through to the full size at the bottom of the hole. Remove the lip of a hole with a reamer. Observe the following guidelines when attaching reinforcement:

        • Bolt the reinforcements to the frame.
        • Use existing holes if possible.
        • Do not drill holes in heat-treated frames.
        • Do not drill any holes in the frame flange.
        • The natural axis is halfway between the flanges. Make the holes as close to the neutral axis as possible.
        • Do not make any bolt holes larger than the holes already in the frame, such as for the spring bracket bolts.
        • Do not allow more than 3 holes on any particular vertical line of the web.
        • All of the holes should be at least 13 mm (0.5 in) apart from each other.
        • All of the holes in a reinforcement plate should be at least 2 times the material thickness from the edge of the plate.

    Repairing Cracks


    Object Number: 207507  Size: SH

    Straight cracks (1) and sunburst cracks (2) are the 2 common types of cracks found in a frame.

    A straight crack (1) usually starts from the edge of a flange, spreads across the flange, goes through the web section of the rail, and then continues through the other flange. A straight crack (1) results from stress concentrations, excessive bending movement, and torsional loading. Refer to Minimizing Frame Service Description .

    A sunburst crack (2) radiates out from a hole in the web section of a rail or a crossmember. Applying a high load at a mounting bracket or a crossmember that is not securely attached to the rail may cause a sunburst crack (2).

    If the rail and the reinforcement both crack at a particular area of the frame, repair each part separately. The flanges must react independently in order to prevent a localized stress concentration. Use a copper spacer between the flanges of cracked base rail flanges and cracked reinforcement flanges.

    Use the same procedure for a crack in the crossmember mounting flange as for a crack in the side rail. However, when repairing a crack in the crossmember mounting flange, build up the weld bead in order to provide a smooth surface. Replace any excessively damaged crossmembers.

    You may need to align the frame and level the rails before repairing the frame.

    Use the following procedure in order to repair a crack in any rail, reinforcement, or crossmember that is not made of a heat-treated steel:

    1. Remove any equipment inhibiting access to the crack.
    2. Drill a 6 mm (0.23 in) hole in the extreme end of the crack.
    3. V grind the entire length of the crack from the starting point to the 6 mm (0.23 in) hole in the extreme end. The angle of the V depends on the type of welding process that is used.
    4. Open up the bottom of the crack 2 mm (0.07 in) in order to allow an adequate penetration of the weld using a hack saw blade.
    5. Weld the crack with the appropriate electrode and welding technique.