| • | J 36850 Transjel® Lubricant |
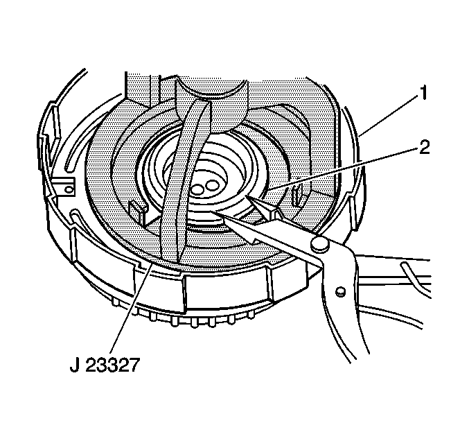
| • | J 23327 Clutch Spring Compressor |
| • | J 7872 Magnetic Base Indicator Set |
Notice: When installing new clutch discs in the 1st-reverse brake, forward clutch or direct clutch assemblies, the new clutch discs MUST be soaked in Dexron® - III automatic transmission fluid GM P/N 12341643, or equivalent, two hours prior to installation. This causes the clutch material on the discs to permeate with fluid which will aid in ease of assembly and prevent clutch overheating on first time engagement.
Important: The forward clutch flange must be installed with the flat side facing down and the stepped portion facing upwards.
| • | One forward clutch plate |
| • | One forward clutch disc |
| • | One forward clutch plate |
| • | One forward clutch disc |
| • | One forward clutch plate |
| • | One forward clutch disc |
| • | One forward clutch plate |
| • | One forward clutch disc |
| • | The forward clutch flange |
| 10.1. | Place the J 7872 plunger on the on the forward clutch piston and apply 392-785 kPa (57-114 psi) of compressed air into the forward clutch apply passage (1) on the input shaft (2) and observe the J 7872 . |
| 10.2. | The standard forward clutch piston stroke should fall within 1.420-1.810 mm (0.0559-0.0713 in). |
| 10.3. | If the forward clutch piston stroke is greater or less than specified, and all forward clutch components exhibit little or no wear, select one of the following different forward clutch flange sizes to bring the forward clutch piston stroke within specification: |
| • | 2.80 mm (0.110 in) |
| • | 3.00 mm (0.118 in) |
| • | 3.20 mm (0.126 in) |
| • | 3.370 mm (0.1327 in) |
| • | 3.600 mm (0.1417 in) |