GM Service Manual Online
For 1990-2009 cars only
Figure 1:

Maxifuses 1, 2, 3 and 4, Fuses 1, 5, 10, 14, 19, 23, 28, 32, 37 and 41, PCM BAT and R/CMPT Fuses, Circuit Breaker D, and FAN CONT #1 Relay


Object Number: 588098  Size: FS
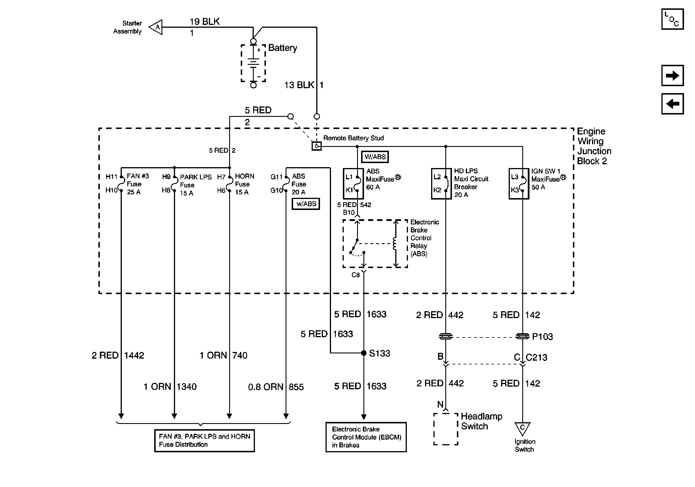
Figure 2:

Fan #3, PARK LPS, HORN, ABS, IGN SW 1 Fuses, HD LPS Circuit Breaker, and Electronic Brake Control Relay (ABS)


Object Number: 588161  Size: FS
Figure 3:

Fuses 4, 7, 11, 13, 20, 22, 29, 38, and Power Windows Circuit Breaker C


Object Number: 588174  Size: FS
Figure 4:

Fuses 12, 21, 30, 33, 39, 42, ELEK IGN, PCM IGN, F/INJN, TRANS, A/C CONT, AIR PUMP Fuses, IGN SYST Relay


Object Number: 588184  Size: FS
Figure 5:

F/INJN, PCM IGN, ELEK IGN Fuses


Object Number: 588192  Size: FS
Figure 6:

TRANS, A/C CONT, AIR PUMP Fuses


Object Number: 588196  Size: FS
Figure 7:

PCM BAT and R/CMPT REL Fuses


Object Number: 588203  Size: FS
Figure 8:

ABS, FAN 3, PARK LPS and HORN Fuses


Object Number: 588208  Size: FS
Figure 9:

Fuses 1, 28, and 37


Object Number: 588211  Size: FS
Figure 10:

Fuses 10 and 19


Object Number: 588218  Size: FS
Figure 11:

Fuses 11, 20, 29, and 38


Object Number: 588222  Size: FS
Figure 12:

Fuses 12, 21, 30 and 39


Object Number: 588234  Size: FS
Figure 13:

Fuses 4, 13, and 22


Object Number: 588242  Size: FS
Figure 14:

Fuses 5, 14, 23, 32, 33 41, and 42


Object Number: 588248  Size: FS
Figure 15:

Fuses 7 and 16, Power Window Circuit Breaker C and Power Seat Circuit Breaker D


Object Number: 588255  Size: FS