GM Service Manual Online
For 1990-2009 cars only

DTC P0716 Input Speed Sensor CKT Range/Performance 2.4L


Object Number: 100607  Size: MF

Circuit Description

The Automatic Transmission Input (Shaft) Speed Sensor (A/T ISS) provides transmission input speed to the Powertrain Control Module (PCM). The A/T ISS is a Permanent Magnet (PM) generator. The sensor mounts into the transmission case and maintains a slight air gap between the sensor and the drive sprocket. The PM generator produces an AC voltage as the drive sprocket rotor teeth pass through the sensor's magnetic field. The AC voltage level increases as the turbine shaft speed increases. The PCM converts the AC voltage into a digital signal. The PCM determines actual turbine speed using the digital signal. The PCM uses the input speed to calculate torque converter slip speed, and gear ratios.

When the PCM detects an unreasonably large change in the input speed, in a very short period of time, then DTC P0716 sets. DTC P0716 is a type B DTC.

Conditions for Setting the DTC

    • No TP Sensor DTCs P0121, P0122, or P0123.
    • No A/T OSS DTCs P0502 or P0503.
    • No A/T ISS DTC P0717.
    • No 1-2 SS Valve DTCs P0751 or P0753.
    • No 2-3 SS Valve DTCs P0756 or P0758.
    • The engine is running.
    • The Throttle Position (TP) is greater than 15%.
    • The vehicle speed is greater than 8 km/h (5 mph).
    • The input speed changes by more than 1300 RPM in 0.8 seconds.

Action Taken When the DTC Sets

    • The PCM illuminates the Malfunction Indicator Lamp (MIL).
    • The PCM commands maximum line pressure.
    • The PCM freezes shift adapts from being updated.
    • DTC P0716 is stored in the PCM history.

Conditions for Clearing the MIL/DTC

    • The PCM turns OFF the MIL after three consecutive trips without a failure reported.
    • A scan tool can clear the DTC from the PCM history. The PCM clears the DTC from the PCM history if the vehicle completes 40 warm-up cycles without a failure reported.
    • The PCM cancels the DTC default actions when the fault no longer exists and the ignition is OFF long enough in order to power down the PCM.

Diagnostic Aids

    • If the engine is running and the vehicle is moving above 12 km/h (7 mph), then the input speed must be non-zero.
    • Inspect the wiring at the PCM, the transmission 20-way connector, the A/T ISS Sensor 2-way connector, and all other circuit connecting points for the following conditions:
       - A bent terminal
       - A backed out terminal
       - A damaged terminal
       - Poor terminal tension
       - A chafed wire
       - A broken wire inside the insulation
       - Moisture intrusion
       - Corrosion
    • When diagnosing for an intermittent short or open condition, massage the wiring harness while watching the test equipment for a change.

Test Description

The numbers below refer to the step numbers on the diagnostic table.

  1. This step tests the A/T ISS Sensor for correct resistance.

  2. This step verifies the wiring from the transmission 20-way connector to the PCM, and tests the ability of the A/T ISS Sensor to produce an AC current.

DTC P0716 Input Speed Sensor Circuit -- Intermittent

Step

Action

Value(s)

Yes

No

1

Was the Powertrain On-Board Diagnostic (OBD) System Check performed?

--

Go to Step 2

Go to Powertrain OBD System Check

2

  1. Install the Scan Tool .
  2. With the engine OFF, turn the ignition switch to the RUN position.
  3. Important: Before clearing the DTC(s), use the scan tool in order to record the Freeze Frame and Failure Records for reference. Using the Clear Info function will erase the stored Freeze Frame and Failure Records from the PCM.

  4. Record the DTC Freeze Frame and Failure Records, then clear the DTC(s).
  5. Start the engine.
  6. Select scan tool Transmission ISS.

Is the transmission input speed greater than the specified value?

500 RPM

Go to Diagnostic Aids

Go to Step 3

3

  1. Turn the ignition OFF.
  2. Disconnect the transmission 20-way connector (additional DTCs will set).
  3. Install the J 39775 Jumper Harness to the transmission side of the 20-way connector.
  4. Using the J 35616-A Connector Test Adapter Kit, connect the J 39200 Digital Multimeter (DMM) from terminal S to terminal V and measure the resistance.

Is the resistance within the specified range?

615-835 ohms

Go to Step 8

Go to Step 4

4

Inspect circuit 1230 from the transmission 20-way connector to the Automatic Transmission Input (Shaft) Speed (A/T ISS) Sensor for an open or short to ground.

Refer to Troubleshooting Procedures in the Electrical Diagnosis Section.

Did you find the condition?

--

Go to Step 6

Go to Step 5

5

Inspect circuit 1231 from the transmission 20-way connector to the A/T ISS Sensor for an open or short to ground.

Refer to Troubleshooting Procedures in the Electrical Diagnosis Section.

Did you find the condition?

--

Go to Step 6

Go to Step 7

6

Replace the Automatic Transmission Wiring Harness.

Refer to Automatic Transmission Wiring Harness Replacement in the Automatic Transmission On-Vehicle Service Section.

Is the replacement complete?

--

Go to Step 12

--

7

Replace the A/T ISS Sensor.

Refer to Automatic Transmission Input (Shaft) Speed Sensor Replacement in the Automatic Transmission On-Vehicle Service Section.

Is the replacement complete?

--

Go to Step 12

--

8

  1. Turn the ignition OFF.
  2. Disconnect the J 39775 Jumper Harness.
  3. Reconnect the 20-way connector.
  4. Disconnect the C1 (Blue) and C2 (Black) PCM connectors (additional DTCs will set).
  5. Connect the J 39200 DMM from terminal C1-63 to terminal C2-62.
  6. Select AC volts.
  7. Crank the engine.

Is the AC voltage greater than the specified value?

0.150 mV (50 Hz)

Go to Step 11

Go to Step 9

9

Inspect circuit 1230 from the engine 20-way connector to the PCM connector for an open or short to ground.

Refer to Troubleshooting Procedures in the Electrical Diagnosis Section.

Did you find and correct the condition?

--

Go to Step 12

Go to Step 10

10

Inspect circuit 1231 from the engine 20-way connector to the PCM connector for an open or short to ground.

Refer to Troubleshooting Procedures in the Electrical Diagnosis Section.

Did you find and correct the condition?

--

Go to Step 12

--

11

Replace the PCM.

Refer to PCM Replacement/Programming.

Is the replacement complete?

--

Go to Step 12

--

12

In order to verify your repair, perform the following procedure:

  1. Select DTC.
  2. Select Clear Info.
  3. Operate the vehicle under the following conditions:
  4. • Place the transmission in Park.
    • Start the engine.
    • The transmission input speed must be greater than 50 RPM without a speed change greater than 300 RPM within 0.3 seconds.
  5. Select Specific DTC. Enter DTC P0716.

Has the test run and passed?

--

System OK

Begin the diagnosis again. Go to Step 1

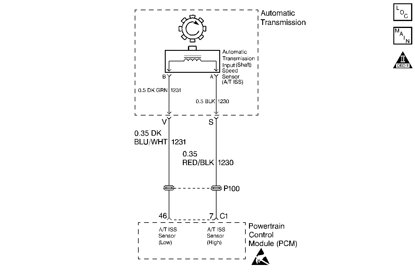
DTC P0716 Input Speed Sensor CKT Range/Performance 3.1L


Object Number: 100611  Size: MF

Circuit Description

The Automatic Transmission Input (Shaft) Speed Sensor (A/T ISS) provides transmission input speed to the Powertrain Control Module (PCM). The A/T ISS is a Permanent Magnet (PM) generator. The sensor mounts into the transmission case and maintains a slight air gap between the sensor and the drive sprocket. The PM generator produces an AC voltage as the drive sprocket rotor teeth pass through the sensor's magnetic field. The AC voltage level increases as the turbine shaft speed increases. The PCM converts the AC voltage into a digital signal. The PCM determines actual turbine speed using the digital signal. The PCM uses the input speed to calculate torque converter slip speed, and gear ratios.

When the PCM detects an unreasonably large change in the input speed in a very short period of time, then DTC P0716 sets. DTC P0716 is a type B DTC.

Conditions for Setting the DTC

    • No TP Sensor DTCs P0121, P0122 or P0123.
    • No A/T OSS DTCs P0502 or P0503.
    • No A/T ISS DTC P0717.
    • No 1-2 SS Valve DTCs P0751 or P0753.
    • No 2-3 SS Valve DTCs P0756 or P0758.
    • The engine is running.
    • The Throttle Position (TP) is greater than 15%.
    • The vehicle speed is greater than 8 km/h (5 mph).
    • The input speed changes by more than 1300 RPM in 0.8 seconds.

Action Taken When the DTC Sets

    • The PCM illuminates the Malfunction Indicator Lamp (MIL).
    • The PCM commands maximum line pressure.
    • The PCM freezes shift adapts from being updated.
    • DTC P0716 is stored in the PCM history.

Conditions for Clearing the MIL/DTC

    • The PCM turns OFF the MIL after three consecutive trips without a failure reported.
    • A scan tool can clear the DTC from the PCM history. The PCM clears the DTC from the PCM history if the vehicle completes 40 warm-up cycles without a failure reported.
    • The PCM cancels the DTC default actions when the fault no longer exists and the ignition is OFF long enough in order to power down the PCM.

Diagnostic Aids

    • If the engine is running and the vehicle is moving above 12 km/h (7 mph), then the input speed must be non-zero.
    • Inspect the wiring at the PCM, the transmission 20-way connector, the A/T ISS Sensor 2-way connector, and all other circuit connecting points for the following conditions:
       - A bent terminal
       - A backed out terminal
       - A damaged terminal
       - Poor terminal tension
       - A chafed wire
       - A broken wire inside the insulation
       - Moisture intrusion
       - Corrosion
    • When diagnosing for an intermittent short or open condition, massage the wiring harness while watching the test equipment for a change.

Test Description

The numbers below refer to the step numbers on the diagnostic table.

  1. This step tests the A/T ISS Sensor for correct resistance.

  2. This step verifies the wiring from the transmission 20-way connector to the PCM, and tests the ability of the A/T ISS Sensor to produce an AC current.

DTC P0716 Input Speed Sensor (A/T ISS) Circuit -- Intermittent (3.1L)

Step

Action

Value(s)

Yes

No

1

Was the Powertrain On-Board Diagnostic (OBD) System Check performed?

--

Go to Step 2

Go to Powertrain OBD System Check

2

  1. Install the Scan Tool .
  2. With the engine OFF, turn the ignition switch to the RUN position.
  3. Important: Before clearing the DTC(s), use the scan tool in order to record the Freeze Frame and Failure Records for reference. Using the Clear Info function will erase the stored Freeze Frame and Failure Records from the PCM.

  4. Record the DTC Freeze Frame and Failure Records, then clear the DTC(s).
  5. Start the engine.
  6. Select scan tool Transmission ISS.

Is the transmission input speed greater than the specified value?

500 RPM

Go to Diagnostic Aids

Go to Step 3

3

  1. Turn the ignition OFF.
  2. Disconnect the transmission 20-way connector (additional DTCs will set).
  3. Install the J 39775 Jumper Harness to the transmission side of the 20-way connector.
  4. Using the J 35616-A Connector Test Adapter Kit, connect the J 39200 Digital Multimeter (DMM) from terminal S to terminal V and measure the resistance.

Is the resistance within the specified range?

615-835 ohms

Go to Step 8

Go to Step 4

4

Inspect circuit 1230 from the transmission 20-way connector to the Automatic Transmission Input (Shaft) Speed (A/T ISS) Sensor for an open or short to ground.

Refer to Troubleshooting Procedures in the Electrical Diagnosis Section.

Did you find the condition?

--

Go to Step 6

Go to Step 5

5

Inspect circuit 1231 from the transmission 20-way connector to the A/T ISS Sensor for an open or short to ground.

Refer to Troubleshooting Procedures in the Electrical Diagnosis Section.

Did you find the condition?

--

Go to Step 6

Go to Step 7

6

Replace the Automatic Transmission Wiring Harness.

Refer to Automatic Transmission Wiring Harness Replacement in the Automatic Transmission On-Vehicle Service Section.

Is the replacement complete?

--

Go to Step 12

--

7

Replace the A/T ISS Sensor.

Refer to Automatic Transmission Input (Shaft) Speed Sensor Replacement, in the Automatic Transmission On-Vehicle Service Section.

Is the replacement complete?

--

Go to Step 12

--

8

  1. Turn the ignition OFF.
  2. Disconnect the J 39775 Jumper Harness.
  3. Reconnect the 20-way connector.
  4. Disconnect the C1 (Blue) PCM connector (additional DTCs will set).
  5. Connect the J 39200 DMM from terminal C1-7 to terminal C1-46.
  6. Select AC volts.
  7. Crank the engine.

Is the AC voltage greater than the specified value?

0.150 mV (50 Hz)

Go to Step 11

Go to Step 9

9

Inspect circuit 1230 from the engine 20-way connector to the PCM connector for an open or short to ground.

Refer to Troubleshooting Procedures in the Electrical Diagnosis Section.

Did you find and correct the condition?

--

Go to Step 12

Go to Step 10

10

Inspect circuit 1231 from the engine 20-way connector to the PCM connector for an open or short to ground.

Refer to Troubleshooting Procedures in the Electrical Diagnosis Section.

Did you find and correct the condition?

--

Go to Step 12

--

11

Replace the PCM.

Refer to PCM Replacement/Programming.

Is the replacement complete?

--

Go to Step 12

--

12

In order to verify your repair, perform the following procedure:

  1. Select DTC.
  2. Select Clear Info.
  3. Operate the vehicle under the following conditions:
  4. • Place the transmission in Park.
    • Start the engine.
    • The transmission input speed must be greater than 50 RPM without a speed change greater than 300 RPM within 0.3 seconds.
  5. Select Specific DTC. Enter DTC P0716.

Has the test run and passed?

--

System OK

Begin the diagnosis again. Go to Step 1