GM Service Manual Online
For 1990-2009 cars only
Makes
🢒
Chevrolet
🢒
2008
🢒
Malibu
🢒
Steering
🢒
Steering Wheel and Column
🢒 Steering Column Disassembled View
Steering Column Disassembled View Electronic Power Steering
(1)
Intermediate Steering Shaft Lower Bolt
(2)
Intermediate Steering Shaft
(3)
Steering Column
(4)
Tilt Lever Spring
(5)
Tilt Lever Nut
(6)
Tilt Lever Bearing
(7)
Tilt Lever Spacer
(8)
Tilt Lever Retainer
(9)
Tilt Lever Retainer
(10)
Tilt Lever Cam
(11)
Tilt Lever Follower
(12)
Tilt Lever
(13)
Tilt Lever Spring
(14)
Power Steering Assist Motor Bolt
(15)
Power Steering Assist Motor
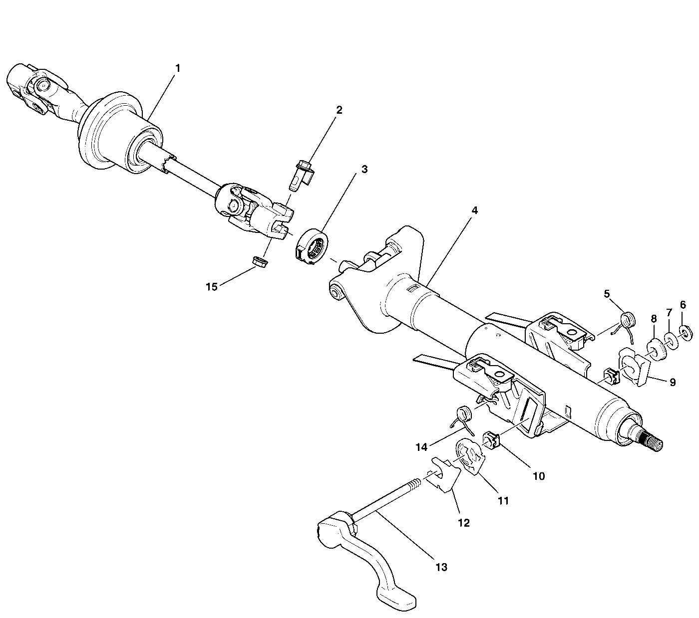
Steering Column Disassembled View Hydraulic Power Steering
(1)
Intermediate Steering Shaft
(2)
Intermediate Steering Shaft Bolt
(3)
Steering Wheel Position Sensor
(4)
Steering Column
(5)
Tilt Lever Spring
(6)
Tilt Lever Nut
(7)
Tilt Lever Bearing
(8)
Tilt Lever Spacer
(9)
Tilt Lever Retainer
(10)
Tilt Lever Retainer
(11)
Tilt Lever Cam
(12)
Tilt Lever Follower
(13)
Tilt Lever
(14)
Tilt Lever Spring
(15)
Intermediate Steering Shaft Nut