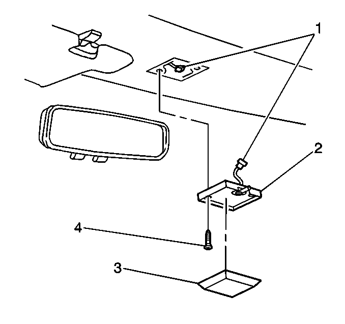
Dome Lamp Replacement 2 Door
Removal Procedure
- Using a flat bladed tool,
gently pry off the dome lamp lens (3).
- Remove the 2 mounting screws (4) that retain the dome lamp
.
- Lower the dome lamp (2).
- Disconnect the dome lamp electrical connector (1).
- Remove the dome lamp (2) from the vehicle.
Installation Procedure
- Connect the dome lamp
electrical connector (1).
- Install the dome lamp (2) to the vehicle. Secure the lamp
with the 2 screws (4).
- Install the dome lamp lens (3) to the dome lamp (2).
Dome Lamp Replacement 4 Door
Removal Procedure
- Using a flat-bladed tool,
gently pry off the dome lamp lens (4).
- Remove the 2 dome lamp nuts (3).
- Lower the dome lamp (2).
- Disconnect the dome lamp electrical connector (1).
- Remove the dome lamp (2) from the vehicle.
Installation Procedure
- Connect the dome lamp
electrical connector (1).
- Install the dome lamp (2) to the vehicle. Secure the lamp
with the 2 nuts (3).
- Install the dome lamp lens (4) to the dome lamp (2).