GM Service Manual Online
For 1990-2009 cars only
Makes
🢒
Chevrolet
🢒
2001
🢒
Monte Carlo
🢒 1/1
1/1
Master Electrical Component List
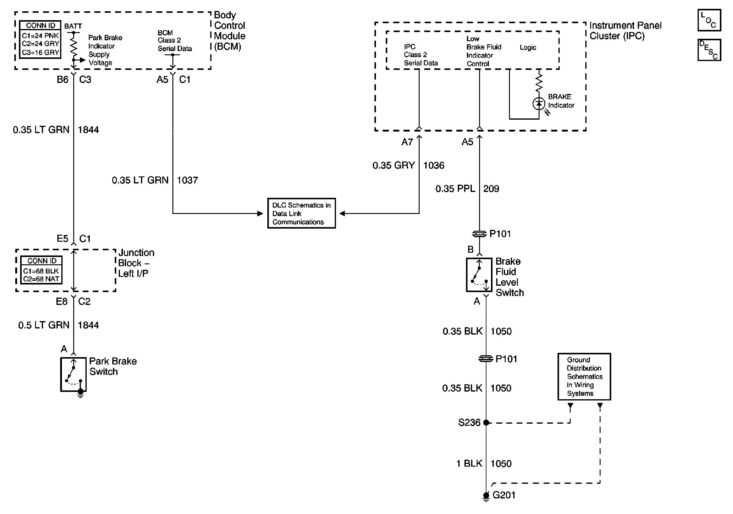
Brake Warning System Description and Operation
DLC Schematics
G201 (1 of 2)