GM Service Manual Online
For 1990-2009 cars only

Removal Procedure

Notice: Cap the fittings and plug the holes when servicing the fuel system in order to prevent dirt and other contaminants from entering the open pipes and passages.

Important: Always maintain cleanliness when servicing the fuel system components.

  1. Relieve the fuel system fuel pressure. Refer to Fuel Pressure Relief .
  2. Drain the fuel tank. Refer to Fuel Tank Draining .
  3. Raise and support the vehicle. Refer to Lifting and Jacking the Vehicle in General Information.

  4. Object Number: 186674  Size: SH
  5. Loosen the fuel filler hose clamp (1) at the fuel tank (3).

  6. Object Number: 155468  Size: SH
  7. Remove the fuel tank filler hose from the fuel tank.

  8. Object Number: 32401  Size: SH
  9. Disconnect the fuel feed and the fuel return pipes at the fuel filter area. Refer to Plastic Collar Quick Connect Fitting Service .
  10. Disconnect the evaporative emission (EVAP) pipe from the connection at the front of the fuel tank.
  11. Remove the rubber exhaust pipe hangers in order to allow the exhaust system to drop slightly.

  12. Object Number: 698635  Size: SH
  13. Separate the EVAP fresh air hose at the splice.

  14. Object Number: 699555  Size: SH
  15. Remove the fuel tank shield push pins (2).
  16. Remove the fuel tank shield (3).
  17. Install a transmission jack to the fuel tank (1).

  18. Object Number: 699556  Size: SH

    Notice: Do not bend the fuel tank straps as this may damage the straps.

  19. Remove the fuel tank strap bolts (2) from the fuel tank straps (3).
  20. Remove the fuel tank (1) from the vehicle.
  21. Place the fuel tank in a suitable work area.

  22. Object Number: 531026  Size: SH
  23. Remove the EVAP canister. Refer to Evaporative Emission Canister Replacement .
  24. Remove the fuel feed, the fuel return, and the EVAP pipe assemblies.

  25. Object Number: 12743  Size: SH
  26. Remove the insulator pad from the fuel tank. Note the location of the insulator pad for the installation.

Installation Procedure


    Object Number: 12743  Size: SH
  1. Install the insulator pad on the fuel tank.

  2. Object Number: 531026  Size: SH

    Notice: 

       • Do not attempt to straighten kinked nylon pipes. Replace any kinked nylon pipes in order to prevent damage to the vehicle.
       • Do not attempt to repair sections of nylon pipes. Replace damaged nylon pipes.
       • Replace the vapor pipes with original equipment or parts that meet GM specifications.
       • Replace the vapor hoses with original equipment or parts meeting GM specifications. Use only reinforced fuel-resistant hose identified with the word Fluoroelastomer or GM 6163M on the hose.

  3. Install the fuel feed, the fuel return, and the EVAP pipe assemblies.
  4. Install the EVAP canister. Refer to Evaporative Emission Canister Replacement .
  5. Install the fuel tank to a transmission jack.

  6. Object Number: 699556  Size: SH
  7. Raise the fuel tank (1) to the original position.
  8. Notice: Use the correct fastener in the correct location. Replacement fasteners must be the correct part number for that application. Fasteners requiring replacement or fasteners requiring the use of thread locking compound or sealant are identified in the service procedure. Do not use paints, lubricants, or corrosion inhibitors on fasteners or fastener joint surfaces unless specified. These coatings affect fastener torque and joint clamping force and may damage the fastener. Use the correct tightening sequence and specifications when installing fasteners in order to avoid damage to parts and systems.

  9. Install the fuel tank strap bolts (2).
  10. Tighten
    Tighten the bolts to 47 N·m (35 lb ft).

  11. Remove the transmission jack.

  12. Object Number: 699555  Size: SH
  13. Install the fuel tank shield (3).
  14. Install the fuel tank shield push pins (2).

  15. Object Number: 32401  Size: SH
  16. Connect the quick-connect fittings at the fuel filter area. Refer to Plastic Collar Quick Connect Fitting Service .
  17. Connect the EVAP pipe at the front of the fuel tank.

  18. Object Number: 698635  Size: SH
  19. Connect the EVAP fresh air hose at the splice.

  20. Object Number: 155468  Size: SH
  21. Install the fuel tank filler hose to the fuel tank.

  22. Object Number: 186674  Size: SH
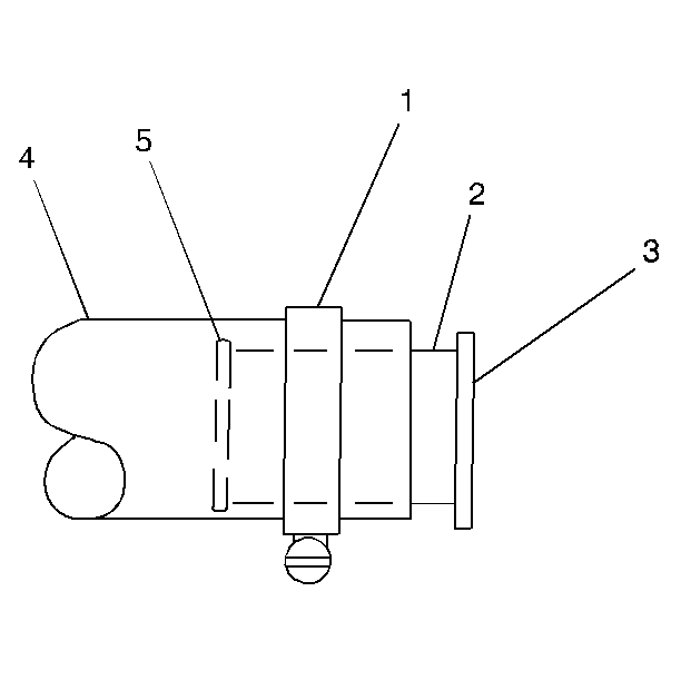
  23. Fully seat the filler hose (4) on the fuel tank port (2).
  24. Ensure the clamp (1) is properly located on the tank port between the bead (5) and the tank (3).
  25. Tighten
    Tighten the fuel tank filler pipe hose clamp to 2.5 N·m (22 lb in).

  26. Install the exhaust pipe to the hangers.
  27. Lower the vehicle.
  28. Install the fuel sender assembly. Refer to Fuel Sender Assembly Replacement .
  29. Add fuel and install the fuel filler pipe cap.
  30. Connect the negative battery cable. Refer to Battery Negative Cable Disconnection and Connection in Engine Electrical.
  31. Inspect for fuel leaks using the following procedure:
  32. 21.1. Turn ON the ignition, for 2 seconds.
    21.2. Turn OFF the ignition, for 10 seconds.
    21.3. Turn ON the ignition.
    21.4. Inspect for fuel leaks.