Caution: Refer to Protective Goggles and Glove Caution in the Preface section.
Caution: Refer to Vehicle Lifting Caution in the Preface section.
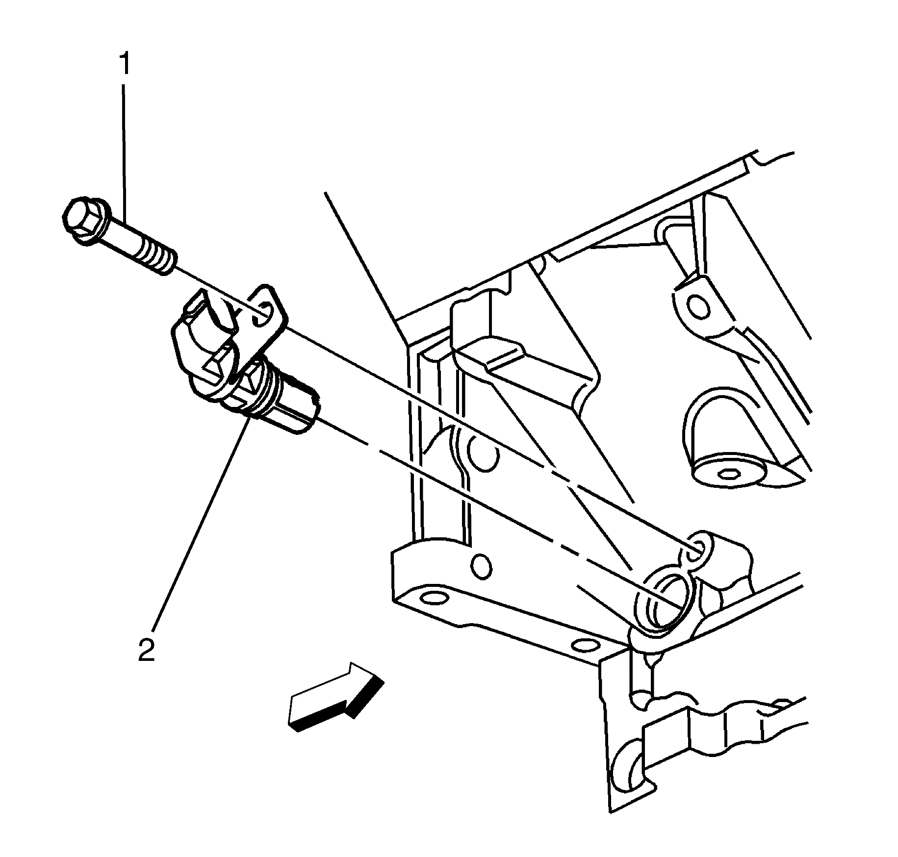
Notice: Refer to Fastener Notice in the Preface section.
Tighten
Tighten the bolt to 25 N·m (18 lb ft).