GM Service Manual Online
For 1990-2009 cars only
Table 1: Clutch Start Switch
Table 2: Generator

Clutch Start Switch


Object Number: 1506093  Size: CH

Connector Part Information

    • PED 12010649
    • 2-Way F 56 Series (WH)

Pin

Wire Color

Circuit No.

Function

A

YE

5

Crank Voltage

B

GY

48

Clutch Start Switch Signal

C

PK

539

Ignition 1 Voltage

D

--

--

Not Used

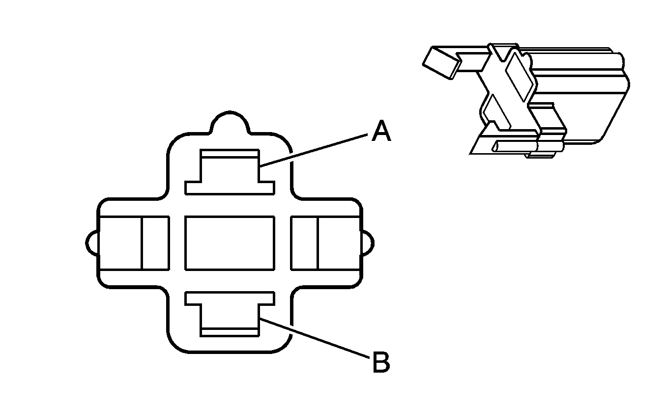
Generator


Object Number: 697046  Size: CH

Connector Part Information

    • PED 12186568
    • 4-Way F Metri-Pack 150 Series (BK)

Pin

Wire Color

Circuit No.

Function

A

--

--

Not Used

B

BN

25

Charge Indicator Control/Signal

C

PK

539

Ignition 1 Voltage

D

--

--

Not Used