GM Service Manual Online
For 1990-2009 cars only

The Remote Keyless Entry (RKE) transmitter functions will work up to 20 feet (6 m) away.

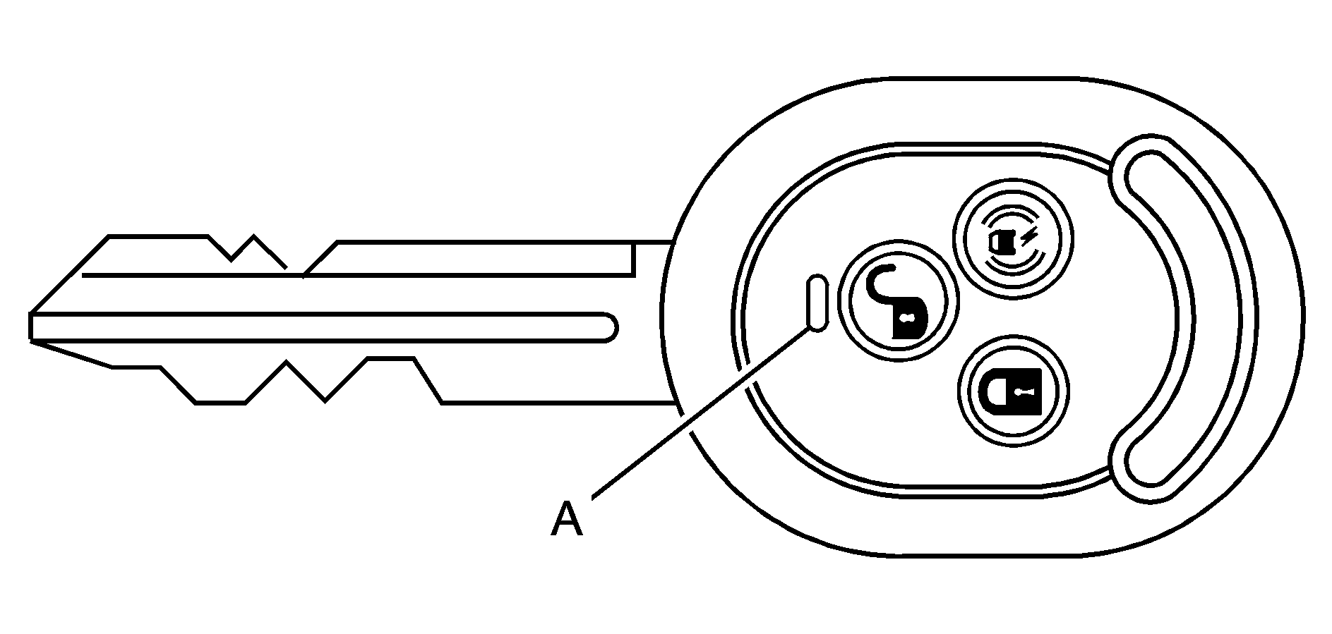
The LED light (A), on the transmitter, will flash when the buttons on the Remote Keyless Entry (RKE) transmitter are pressed.

There are other conditions which can affect the performance of the transmitter. See Remote Keyless Entry (RKE) System .


Object Number: 1509587  Size: B2
(Unlock): Press to unlock all of the doors and the liftgate, if equipped. If all of the doors and the liftgate are closed, the hazard lamps will flash twice to indicate that unlocking has occurred. The theft-deterrent system will deactivate and the security light will turn off. The security light is located on the base of the driver's door lock. If a door is not opened, all of the doors will automatically lock and the theft-deterrent system will reactivate.

[block ] (Lock): Press to lock all of the doors and the liftgate, if equipped. If all of the doors and the liftgate are closed, the hazard lamps will flash once and the horn will sound to indicate that locking has occurred. The theft-deterrent system will activate and the security light will flash. If the driver's door is open while pressing lock, all of the doors, except for the driver's door will lock. If any door other than the driver's door is open while pressing lock, all of the doors, including the driver's door, will lock.

(Panic): If your vehicle has this feature, press to turn on the hazard warning flashers. The hazard warning lamps will flash for about 28 seconds. Press again to turn off the hazard warning lamps.

The lock, unlock, and panic buttons, on the RKE transmitter, will not operate while the key is in the ignition. The theft-deterrent system will not activate while the key is in the ignition.

Matching Transmitter(s) to Your Vehicle

Each RKE transmitter is coded to prevent another transmitter from unlocking your vehicle. If a transmitter is lost or stolen, a replacement can be purchased through your dealer/retailer. All transmitters need to be re-coded to match the new transmitter. The lost transmitter will no longer work after the new transmitters are re-coded. Each vehicle can have a maximum of four transmitters matched to it.

Battery Replacement

The battery is weak if the LED light fails to illuminate or if the transmitter will not work at the normal operating range. If you have to get close to your vehicle before the transmitter works, change the battery.

Notice: When replacing the battery, do not touch any of the circuitry on the transmitter. Static from your body could damage the transmitter.


Object Number: 1509588  Size: B3

To replace the battery in the RKE transmitter, do the following:

  1. Remove the screw from the back of the cover and open the cover of the transmitter.
  2. Pull the transmitter unit out of the cover and open the cover of the transmitter unit.
  3. Remove the battery and replace it with the new one. Make sure the positive side of the battery faces up. Use one three-volt, CR1616, or equivalent type battery.
  4. Close the cover of the transmitter unit and put the unit in the cover of the transmitter.
  5. Assemble the transmitter cover and replace the screw. Make sure the cover is on tightly, so water will not get in.
  6. Test the transmitter operation.