GM Service Manual Online
For 1990-2009 cars only

    Caution: Unless directed otherwise, the ignition and start switch must be in the OFF or LOCK position, and all electrical loads must be OFF before servicing any electrical component. Disconnect the negative battery cable to prevent an electrical spark should a tool or equipment come in contact with an exposed electrical terminal. Failure to follow these precautions may result in personal injury and/or damage to the vehicle or its components.

  1. Disconnect the negative battery cable.
  2. Remove the knee bolster. Refer to Knee Bolster Replacement in Instrument Panel Gages, and Console.
  3. Remove the following components from the I/P carrier:
  4. • The plastic retainer
    • The left side air ventilation duct
    • The screw
    • The left side air outlet duct
  5. Disconnect the stoplamp switch electrical connector.

  6. Object Number: 240682  Size: MH
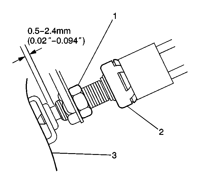
  7. Loosen the locknut for the stoplamp switch (1).
  8. Connect the stoplamp switch electrical connector.
  9. Connect the negative battery cable.

  10. Object Number: 240729  Size: SH
  11. Turn the stoplamp switch (2) until the switch lightly contacts the pedal stopper.
  12. Turn the stoplamp switch back one turn.
  13. Verify the distance between the end of the stoplamp switch plunger and the end of the threaded portion of the stoplamp switch is within 0.5-2.4 mm (0.02-0.094 in).
  14. Notice: Use the correct fastener in the correct location. Replacement fasteners must be the correct part number for that application. Fasteners requiring replacement or fasteners requiring the use of thread locking compound or sealant are identified in the service procedure. Do not use paints, lubricants, or corrosion inhibitors on fasteners or fastener joint surfaces unless specified. These coatings affect fastener torque and joint clamping force and may damage the fastener. Use the correct tightening sequence and specifications when installing fasteners in order to avoid damage to parts and systems.

  15. Tighten the locknut (1) for the stoplamp switch.
  16. Tighten
    Tighten the locknut to 10 N·m (89 lb in).

  17. Inspect the brake pedal height. Adjust the brake pedal height if necessary. Refer to Brake Pedal Travel Measurement and Inspection .
  18. Inspect the operation of the brake lights in order to verify the adjustment of the stoplamp switch.
  19. • If the brake lights illuminate when the assistant depresses the brake pedal, the operation is normal.
    • If the brake lights do not illuminate when the assistant releases the brake pedal, the operation is normal.
  20. Install the left side air outlet duct to the I/P. Secure the outlet duct with the screw.
  21. Install the left side air ventilation duct to the I/P. Secure the ventilation duct with the plastic retainer.
  22. Install the knee bolster. Refer to Knee Bolster Replacement in Instrument Panel, Gauges, and Console.