GM Service Manual Online
For 1990-2009 cars only

DTC P0719 Brake Switch Circuit Low Input 2.2L


Object Number: 68650  Size: MF

Circuit Description

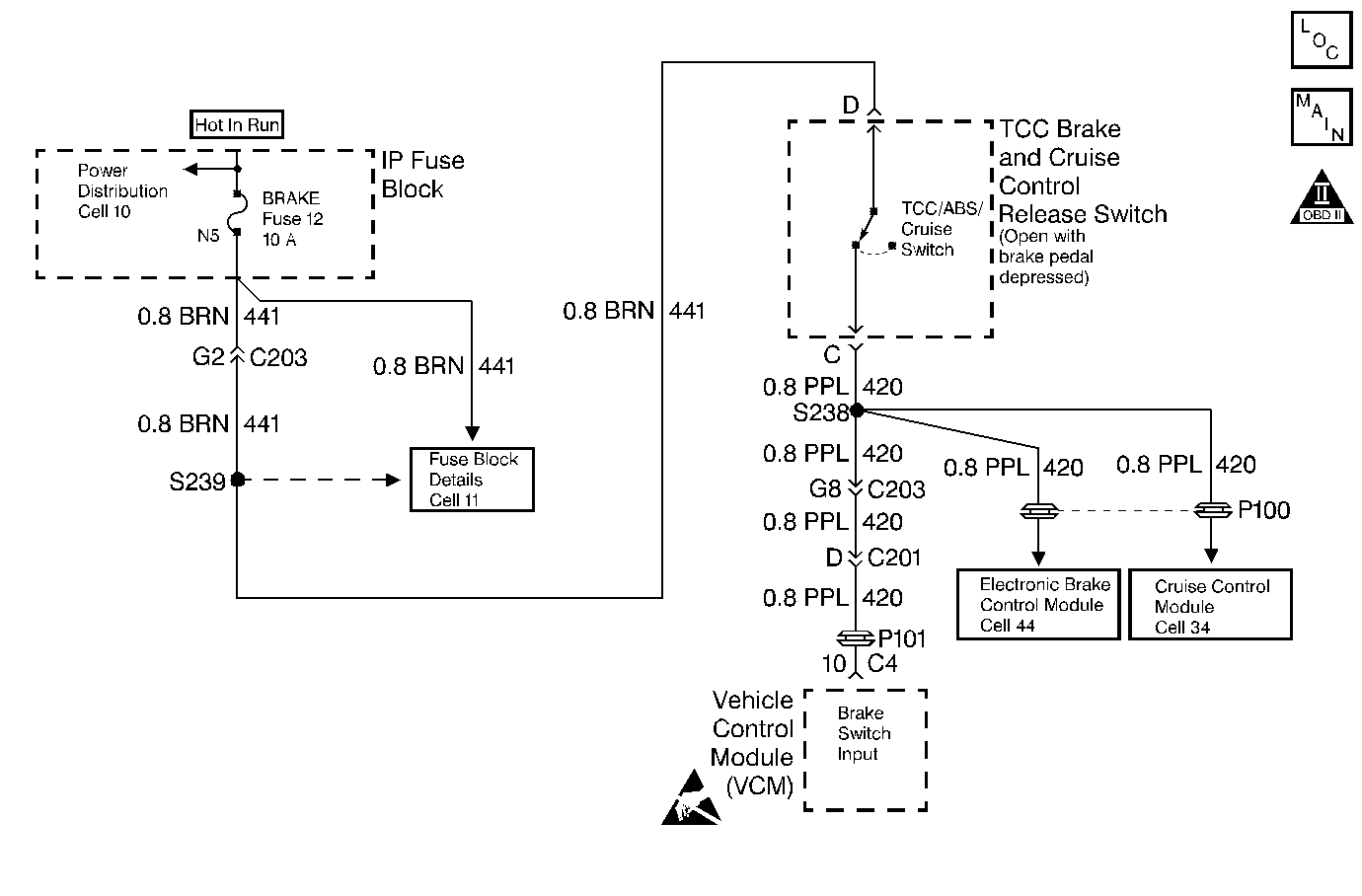
The brake switch indicates the brake pedal status. The brake switch is normally-closed. The brake switch supplies a B+ signal on circuit 420 to the PCM. The signal voltage circuit opens when you apply the brakes. The PCM uses this signal in order to de-energize the Torque Converter Clutch Solenoid Valve (TCC Sol. Valve) when you apply the brakes.

When the PCM detects an open brake switch circuit during accelerations, then DTC P0719 sets. DTC P0719 is a type D DTC.

Conditions for Setting the DTC

    • No VSS Assy. DTCs P0502 or P0503.
    • The PCM detects an open brake switch circuit (0 volts) for 15 minutes without changing for 2 seconds, and the following events occur seven consecutive times:
       - The vehicle speed is less than 8 km/h (5 mph);
       - then the vehicle speed is 8-32 km/h (5-20 mph) for 4 seconds;
       - then the vehicle speed is greater than 32 km/h (20 mph) for 6 seconds.

Action Taken When the DTC Sets

       Important: The following action item will occur before the DTC sets.

    • If the PCM detects a continuous open brake switch circuit (0 volts) and does not see it close (12 volts) for 2 seconds, then the brake switch input will be disregarded for TCC scheduling. The following conditions will then dictate TCC scheduling:
       - If the TP angle is less than 5% and the vehicle speed is less than 56 km/h (35 mph), then the TCC will not apply.
       - If the TP angle is greater than 10% and the vehicle speed is greater than 64 km/h (40 mph), then the TCC may apply and may remain applied until the TP angle falls below 5% or the vehicle speed falls below 56 km/h (35 mph).
       - The above conditions may not always be accurate as TCC scheduling may be affected by other factors.
    • The PCM does not illuminate the Malfunction Indicator Lamp (MIL).

Conditions for Clearing the DTC

    • A scan tool can clear the DTC from the PCM history. The PCM clears the DTC from the PCM history if the vehicle completes 40 warm-up cycles without a failure reported.
    • The PCM cancels the DTC default actions when the fault no longer exists and the ignition is OFF long enough in order to power down the PCM.

Diagnostic Aids

    • Inspect the wiring for poor electrical connections at the PCM. Inspect the wiring for poor electrical connections at the brake switch. Look for the following conditions:
       - A bent terminal
       - A backed out terminal
       - A damaged terminal
       - Poor terminal tension
       - A chafed wire
       - A broken wire inside the insulation
    • When diagnosing for an intermittent short or open condition, massage the wiring harness while watching the test equipment for a change.
    • Ask about the customer's driving habits. Ask about unusual driving conditions (e.g. stop and go, expressway, etc.).
    • Inspect the brake switch for proper mounting and adjustment.

Test Description

The numbers below refer to the step numbers on the diagnostic table.

  1. This step isolates the brake switch as a source for setting the DTC.

DTC P0719 Brake Switch Circuit -- Low Input (2.2L)

Step

Action

Value(s)

Yes

No

1

Was the Powertrain On-Board Diagnostic (OBD) System Check performed?

--

Go to Step 2

Go to OBD System Check

2

  1. Install the scan tool.
  2. With the engine OFF, turn the ignition switch to the RUN position.
  3. Important: Before clearing the DTCs, use the scan tool in order to record the Freeze Frame and Failure Records for reference. The Clear Info function will erase the data.

  4. Record the DTC Freeze Frame and Failure Records.
  5. Select TCC Brake Switch on the scan tool.
  6. Disconnect the brake switch connector from the brake switch.
  7. Connect a test lamp from cavity D of the brake switch connector to a known good ground.

Is the test lamp ON?

--

Go to Step 3

Go to Step 4

3

Install a fused jumper from terminal C to terminal D of the brake switch connector.

Did the TCC Brake Switch status change from Open to Closed?

--

Go to Step 7

Go to Step 9

4

Remove the BRAKE fuse. Inspect the fuse for an open.

Refer to Electrical Diagnosis, Section 8A.

Is the fuse open?

--

Go to Step 5

Go to Step 8

5

Inspect circuit 441 for a short to ground.

Refer to Electrical Diagnosis, Section 8A.

Did you find and correct a problem?

--

Go to Step 11

Go to Step 6

6

Inspect circuit 420 for a short to ground.

Refer to Electrical Diagnosis, Section 8A.

Did you find and correct a problem?

--

Go to Step 11

Go to Step 10

7

Replace the brake switch.

Refer to Brake Switch Replacement.

Is the replacement complete?

--

Go to Step 11

--

8

Inspect circuit 441 for an open.

Refer to Electrical Diagnosis, Section 8A.

Did you find and correct a problem?

--

Go to Step 11

--

9

Inspect circuit 420 for an open.

Refer to Electrical Diagnosis, Section 8A.

Did you find and correct a problem?

--

Go to Step 11

Go to Step 10

10

Replace the PCM.

Refer to PCM Replacement, Section 6.

Is the replacement complete?

--

Go to Step 11

--

11

In order to verify your repair, perform the following procedure:

  1. Select DTC.
  2. Select Clear Info.
  3. Ensure that the following conditions are met:
  4. • With the engine OFF, the ignition switch is in the RUN position.
    • The brake pedal is not depressed.
    • The TCC brake switch status indicates Closed (12 volts) for 2 seconds.
  5. Select Specific DTC. Enter DTC P0719.

Has the test run and passed?

--

System OK

Begin the diagnosis again. Go to Step 1

DTC P0719 Brake Switch Circuit Low Input 4.3L


Object Number: 68654  Size: MF

Circuit Description

The brake switch indicates the brake pedal status. The brake switch is normally-closed. The brake switch supplies a B+ signal on circuit 420 to the VCM. The signal voltage circuit is opened when you apply the brakes. The VCM uses this signal in order to de-energize the TCC Sol. Valve when you apply the brakes.

When the VCM detects an open brake switch circuit during accelerations, then DTC P0719 sets. DTC P0719 is a type B DTC.

Conditions for Setting the DTC

DTC P0719 sets if the following conditions occur two consecutive times:

    • No VSS Assy. DTC P0502.
    • The VCM detects an open brake switch or circuit (0 volts) for 15 minutes without changing for 2 seconds, and the following events occur seven consecutive times:
       - The vehicle speed is less than 8 km/h (5 mph);
       - then the vehicle speed is 8-32 km/h (5-20 mph) for 4 seconds;
       - then the vehicle speed is greater than 32 km/h (20 mph) for 6 seconds.

Action Taken When the DTC Sets

    • The VCM illuminates the Malfunction Indicator Lamp (MIL).

Conditions for Clearing the MIL/DTC

    • The VCM turns OFF the MIL after three consecutive ignition cycles without a failure reported.
    • A scan tool can clear the DTC from the VCM history. The VCM clears the DTC from the VCM history if the vehicle completes 40 warm-up cycles without a failure reported.
    • The VCM cancels the DTC default actions when the fault no longer exists and the ignition is OFF long enough in order to power down the VCM.

Diagnostic Aids

    • Inspect the wiring for poor electrical connections at the VCM. Inspect the wiring for poor electrical connections at the brake switch. Look for the following conditions:
       - A bent terminal
       - A backed out terminal
       - A damaged terminal
       - Poor terminal tension
       - A chafed wire
       - A broken wire inside the insulation
    • When diagnosing for an intermittent short or open condition, massage the wiring harness while watching the test equipment for a change.
    • Ask about the customer's driving habits. Ask about unusual driving conditions (e.g. stop and go, expressway, etc.).
    • Inspect the brake switch for proper mounting and adjustment.

Test Description

The numbers below refer to the step numbers on the diagnostic table.

  1. This step isolates the brake switch as a source for setting the DTC.

DTC P0719 Brake Switch Circuit -- Low Input

Step

Action

Value(s)

Yes

No

1

Was the Powertrain On-Board Diagnostic (OBD) System Check performed?

--

Go to Step 2

Go to OBD System Check

2

  1. Install the scan tool.
  2. With the engine OFF, turn the ignition switch to the RUN position.
  3. Important: Before clearing the DTCs, use the scan tool in order to record the Freeze Frame and Failure Records for reference. The Clear Info function will erase the data.

  4. Record the DTC Freeze Frame and Failure Records.
  5. Select TCC Brake Switch on the scan tool.
  6. Disconnect the brake switch connector from the brake switch.
  7. Connect a test lamp from cavity D of the brake switch connector to a known good ground.

Is the test lamp ON?

--

Go to Step 3

Go to Step 4

3

Install a fused jumper from terminal C to terminal D of the brake switch connector.

Did the TCC Brake Switch status change from Open to Closed?

--

Go to Step 7

Go to Step 9

4

Remove the BRAKE fuse. Inspect the fuse for an open.

Refer to Electrical Diagnosis, Section 8A.

Is the fuse open?

--

Go to Step 5

Go to Step 8

5

Inspect circuit 441 for a short to ground.

Refer to Electrical Diagnosis, Section 8A.

Did you find and correct a problem?

--

Go to Step 11

Go to Step 6

6

Inspect circuit 420 for a short to ground.

Refer to Electrical Diagnosis, Section 8A.

Did you find and correct a problem?

--

Go to Step 11

Go to Step 10

7

Replace the brake switch.

Refer to Brake Switch Replacement.

Is the replacement complete?

--

Go to Step 11

--

8

Inspect circuit 441 for an open.

Refer to Electrical Diagnosis, Section 8A.

Did you find and correct a problem?

--

Go to Step 11

--

9

Inspect circuit 420 for an open.

Refer to Electrical Diagnosis, Section 8A.

Did you find and correct a problem?

--

Go to Step 11

Go to Step 10

10

Replace the VCM.

Refer to VCM Replacement, Section 6.

Is the replacement complete?

--

Go to Step 11

--

11

In order to verify your repair, perform the following procedure:

  1. Select DTC.
  2. Select Clear Info.
  3. Ensure that the following conditions are met:
  4. • With the engine OFF, the ignition switch is in the RUN position.
    • The brake pedal is not depressed.
    • The TCC brake switch status indicates Closed (12 volts) for 2 seconds.
  5. Select Specific DTC. Enter DTC P0719.

Has the test run and passed?

--

System OK

Begin the diagnosis again. Go to Step 1