GM Service Manual Online
For 1990-2009 cars only
Makes
🢒
Chevrolet
🢒
2003
🢒
S10 Pickup - 2WD
🢒
Engine
🢒
Engine Mechanical - 2.2L
🢒 Disassembled Views
Figure
1:
Intake And Exhaust Manifold Components
(1)
Vacuum Harness
(2)
Throttle Body
(3)
Throttle Cable Bracket
(4)
Bolt, Throttle Body
(5)
Bolt, Throttle Body
(6)
EGR Port Cover, Rear
(7)
Bolt, EGR Port Cover, Rear
(8)
Gasket, EGR Port Cover, Rear
(9)
Cylinder Head
(10)
Stud, Exhaust Manifold
(11)
Gasket, Exhaust Manifold
(12)
Nut, Exhaust Manifold
(13)
Oxygen Sensor
(14)
Exhaust Manifold
(15)
Stud, Intake Manifold
(16)
Gasket, EGR Port
(17)
Cover, EGR Port
(18)
Bolt, EGR Port Cover
(19)
Bolt, Intake Manifold
(20)
Nut, Intake Manifold
(21)
Bolt, Fuel Rail Retainer
(22)
Retainer, Fuel Rail
(23)
Fuel Injector
(24)
Bolt, Fuel Rail
(25)
Fuel Injector Harness
(26)
Bolt, MAP Sensor
(27)
Retainer, MAP Sensor
(28)
MAP Sensor
(29)
Intake Manifold
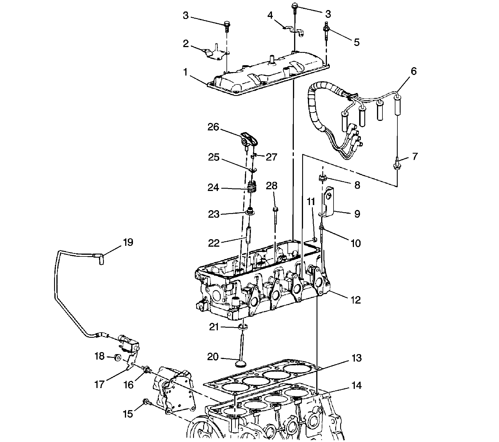
Figure
2:
Cylinder Head And Components
(1)
Valve Rocker Arm Cover
(2)
Ignition Harness Bracket
(3)
Valve Rocker Arm Cover Bolt
(3)
Valve Rocker Arm Cover Bolt
(4)
Fuel Injector Harness Bracket
(5)
Valve Rocker Arm Cover Bolt
(6)
Secondary Ignition Harness
(7)
Spark Plug
(8)
Engine Lift Hook Nut
(9)
Engine Lift Hook
(10)
Cylinder Head Stud-Ended Bolt
(11)
Cup Plug
(12)
Cylinder Head
(13)
Cylinder Head Gasket
(14)
Engine Block
(15)
Ignition Coil Bracket Bolt
(16)
EVAP Purge Solenoid Bracket Stud
(17)
EVAP Purge Solenoid
(18)
EVAP Purge Solenoid Nut
(19)
EVAP Purge Solenoid Vacuum Harness
(20)
Valve
(21)
Valve Seat
(22)
Valve Guide
(23)
Valve Stem Seal
(24)
Valve Spring
(25)
Valve Spring Retainer
(26)
Valve Rocker Arm Assembly
(27)
Valve Spring Keepers
(28)
Cylinder Head Bolt
Figure
3:
Timing And Accessory Components
(1)
Engine Block
(2)
Bolt, Water Inlet
(3)
Water Inlet
(4)
Gasket, Water Inlet
(5)
Camshaft Timing Sprocket
(6)
Crankshaft Timing Sprocket
(7)
Camshaft Timing Chain
(8)
Bolt, Camshaft Timing Sprocket
(9)
Timing Chain Tensioner
(10)
Bolt, Timing Chain Tensioner
(11)
Bolt, Timing Chain Tensioner
(12)
Gasket, Water Pump
(13)
Water Pump
(14)
Bolt, Water Pump
(15)
Water Pump Pulley
(16)
Gasket, Water Outlet Pipe
(17)
Water Outlet Pipe
(18)
Bolt, Thermostat Housing
(19)
Thermostat Housing
(20)
Thermostat
(21)
Water Temperature Sensor
(22)
Bolt, Heater Pipe Bracket
(23)
Engine Accessory Bracket
(24)
Stud, Oil Pan
(25)
Crankshaft Front Seal
(26)
Crankshaft Pulley Hub
(27)
Washer, Crankshaft Pulley
(28)
Bolt, Crankshaft Pulley Hub
(29)
Bolt, Crankshaft Pulley
(30)
Crankshaft Pulley
(31)
Bolt, Accessory Drive Belt Tensioner
(32)
Accessory Drive Belt Tensioner
(33)
Engine Front Cover
(34)
Gasket, Engine Front Cover
Figure
4:
Cylinder Block And Crankshaft Components
(1)
Piston Rings
(2)
Piston
(3)
Bolt, Connecting Rod
(4)
Cylinder Head Alignment Dowel
(5)
Transmission Alignment Dowel
(6)
Oil Passage Plug
(7)
Camshaft Bearings
(8)
Gasket, Rear Camshaft Cover
(9)
Bolt, Camshaft Rear Cover
(10)
Camshaft Rear Cover
(11)
Engine Block Core Plug
(12)
Oil Passage Plug
(13)
Cooling Jacket Drain Plug
(14)
Connecting Rod Bearing Lower Half
(15)
Connecting Rod Cap
(16)
Nut, Connecting Rod Cap
(17)
Bolt, Flywheel
(18)
Bolt, Clutch Cover
(19)
Clutch Cover (Manual Transmission)
(20)
Clutch Disc (Manual Transmission)
(21)
Flywheel Spacer
(22)
Clutch Pilot Bushing (Manual Transmission)
(23)
Flywheel
(24)
Crankshaft Bearing Cap Alignment Dowel
(25)
Crankshaft Rear Bearing Cap
(26)
Bolt, Crankshaft Bearing Cap
(27)
Oil Pump Alignment Dowel
(28)
Crankshaft Bearing Cap #4
(29)
Crankshaft Bearing Caps, 1, 2, and 3
(30)
Crankshaft Key
(31)
Crankshaft
(32)
Crankshaft Bearing
(33)
Crankshaft Bearing
(34)
Crankshaft Thrust Bearing
(35)
Crankshaft Rear Seal
(36)
Bolt, Camshaft Thrust Plate
(37)
Camshaft Thrust Plate
(38)
Camshaft
(39)
Engine Front Cover Alignment Dowel
(40)
Oil Passage Plug
(41)
Oil Filter Bypass Valve
(42)
Oil Pressure Switch
(43)
Camshaft Position Sensor
(44)
Bolt, Camshaft Position Sensor
(45)
Oil Passage Plugs
(46)
Bolt, Crankshaft Position Sensor
(47)
Crankshaft Position Sensor
(48)
Valve Lifter Guide
(49)
Bolt, Valve Lifter Guide
(50)
Pushrod
(51)
Piston Pin
(52)
Connecting Rod
(53)
Valve Lifter
(54)
Connecting Rod Bearing Upper Half
(55)
Knock Sensor
Figure
5:
Oil Pump and Oil Pan Components
(1)
Engine Oil Level Indicator
(2)
Nut, Engine Oil Level Indicator Tube
(3)
Engine Block
(4)
Oil Level Indicator Tube
(5)
Oil Level Indicator Tube Seal
(6)
Oil Pump
(7)
Bolt, Oil Pump
(8)
Oil Pan Rear Seal
(9)
Oil Pan
(10)
Stud, Oil Pan
(11)
Nut, Oil Pan
(12)
Bolt, Oil Pan
(13)
Retainer, Oil Pump Drive
(14)
Oil Pump Drive Shaft
(15)
Oil Filter Adapter
(16)
Oil Filter
(17)
Oil Pump Drive
(18)
Bolt, Oil Pump Drive