GM Service Manual Online
For 1990-2009 cars only
Figure 1:

Valve Controls - 2.2L


Object Number: 888282  Size: FS
Master Electrical Component List
Electronic Component Description
Switch Inputs and PNP Switch - 2.2L
OBD II Symbol Description Notice
CRANK and CLSTR Fuses
Figure 2:

Switch Inputs and PNP Switch (2.2L)


Object Number: 1542161  Size: FS
Master Electrical Component List
Electronic Component Description
Brake Switch, VSS Inputs - 2.2L
Valve Controls - 2.2L
OBD II Symbol Description Notice
G103 and G105 - 2.2L
G103 and G105 - 2.2L
Figure 3:

Brake Switch, VSS Inputs (2.2L)


Object Number: 755642  Size: FS
Master Electrical Component List
Electronic Component Description
Valve Controls - 4.3L
Switch Inputs and PNP Switch - 2.2L
OBD II Symbol Description Notice
RR WPR, FRT WPR and ABS Fuses
Clutch Pedal Position Switch, Stop Lamp Switch, PCM and Cruise Control Module
Power and Ground
G103 and G105 - 2.2L
Automatic Transmission Schematic Icons
Figure 4:

Valve Controls - 4.3L


Object Number: 882672  Size: FS
Master Electrical Component List
Electronic Component Description
Switch Inputs and PNP Switch - 4.3L
Brake Switch, VSS Inputs - 2.2L
OBD II Symbol Description Notice
CRANK and CLSTR Fuses
CRANK and CLSTR Fuses
Figure 5:

Switch Inputs and PNP Switch - 4.3L


Object Number: 1542726  Size: FS
Master Electrical Component List
Electronic Component Description
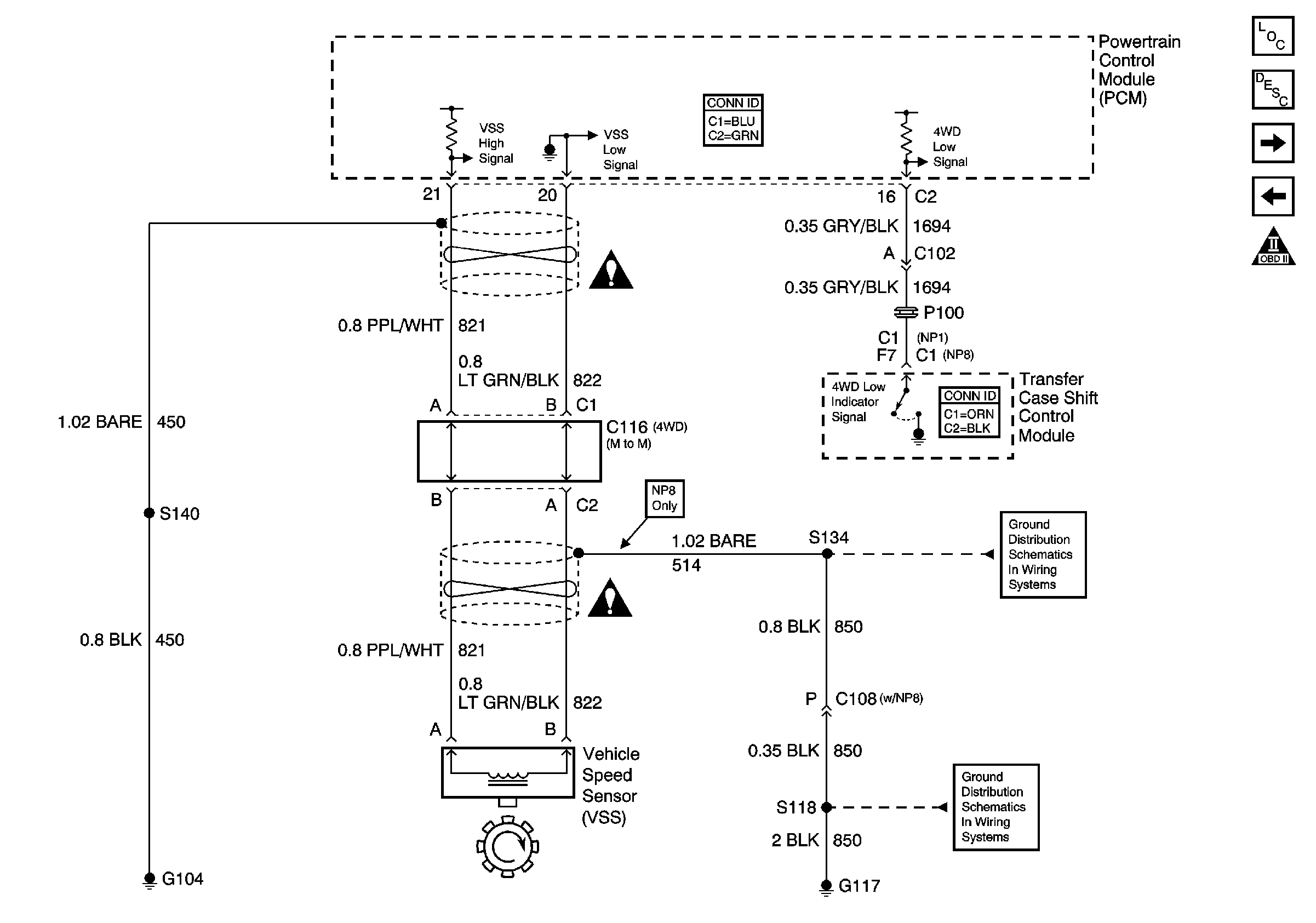
VSS Inputs, 4WD Low Indicator Signal - 4.3L
Valve Controls - 4.3L
OBD II Symbol Description Notice
G103 and G105 - 4.3L
Figure 6:

VSS Inputs, 4WD Low Indicator Signal - 4.3L


Object Number: 882678  Size: FS
Master Electrical Component List
Electronic Component Description
Brake Switch Input (4.3L) and Tow/Haul Switch
Switch Inputs and PNP Switch - 4.3L
OBD II Symbol Description Notice
G104 and G117
G104 and G117
Automatic Transmission Schematic Icons
Automatic Transmission Schematic Icons
Figure 7:

Brake Switch Input (4.3L) and Tow/Haul Switch


Object Number: 882680  Size: FS
Master Electrical Component List
Electronic Component Description
VSS Inputs, 4WD Low Indicator Signal - 4.3L
OBD II Symbol Description Notice
RR WPR, FRT WPR and ABS Fuses
Power and Ground
Clutch Pedal Position Switch, Stop Lamp Switch, PCM and Cruise Control Module
G200, G201 and G207 - Utility
Instrument Panel Cluster, BCM and Automatic Transmission Indicators
G200, G201 and G207 - Utility
G200, G201 and G207 - Utility