GM Service Manual Online
For 1990-2009 cars only
Makes
🢒
Chevrolet
🢒
2003
🢒
S10 Pickup - 2WD
🢒
Body and Accessories
🢒
Instrument Panel, Gages, and Console
🢒 Driver Information System Schematics
Figure
1:
Power and Ground - w/o Trip Computer
Master Electrical Component List
Driver Information Center (DIC) Description and Operation
Power and Ground w/ Trip Computer
RDO IGN and STR WHL RDO IGN Fuses
RDO IGN and STR WHL RDO IGN Fuses
Gages
G103 and G105 - 4.3L
ILLUM Power - 2-Door Utility, 4-Door Utility and Crew Cab
ILLUM, STG WHL ILLUM, and PARK LP Fuses
ILLUM Power - Utility
LED Dimming Signal
G103 and G105 - 4.3L
G103 and G105 - 4.3L
G103 and G105 - 4.3L
Figure
2:
Power and Ground - w/ Trip Computer
Master Electrical Component List
Driver Information Center (DIC) Description and Operation
Air Temperature Sensor - Outside - w/ Trip Computer
Power and Ground - w/o Trip Computer
ILLUM, STG WHL ILLUM, and PARK LP Fuses
INT BATT, PWR LKS, AMPF, CTSY LP and CIGAR LTR Fuses
RDO IGN and STR WHL RDO IGN Fuses
ILLUM Power - Utility
ILLUM Power - 2-Door Utility, 4-Door Utility and Crew Cab
Inadvertent Power Relay
RDO IGN and STR WHL RDO IGN Fuses
G103 and G105 - 4.3L
Air Temperature Sensor - Outside - w/ Trip Computer
Inadvertent Power Relay
Inadvertent Power Relay
G103 and G105 - 4.3L
G103 and G105 - 4.3L
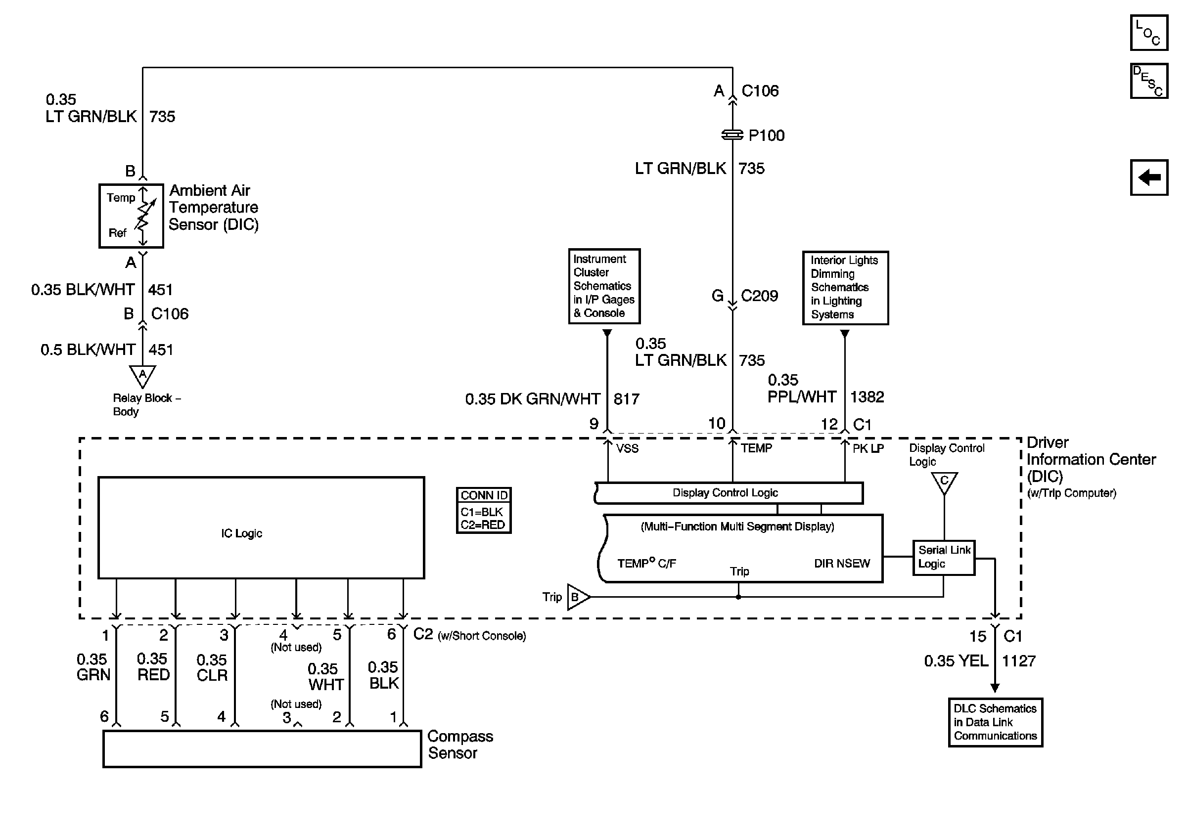
Figure
3:
Air Temperature Sensor - Outside - w/ Trip Computer
Master Electrical Component List
Driver Information Center (DIC) Description and Operation
Power and Ground w/ Trip Computer
Power and Ground w/ Trip Computer
Gages
LED Dimming Signal
Power and Ground w/ Trip Computer
Power and Ground w/ Trip Computer
Class 2 Serial Data