GM Service Manual Online
For 1990-2009 cars only
Table 1: Heated Seat Control Module - Driver/Front Passenger (Part of the Heated Seat Assembly)
Table 2: Seat Adjuster Switch - Driver (w/ 6-Way)
Table 3: Seat Adjuster Switch - Front Passenger (w/ 6-Way)
Table 4: Seat Adjuster Switch - Driver C1 (w/ 8-Way, w/o Memory)
Table 5: Seat Adjuster Switch - Front Passenger C1 (w/ 8-Way, w/o Memory)
Table 6: Seat Adjuster Switch - Driver C2 (w/ 8-Way, w/o Memory)
Table 7: Seat Adjuster Switch - Front Passenger C2 (w/ 8-Way, w/o Memory)
Table 8: Seat Adjuster Switch - Driver/Front Passenger (w/ Memory)
Table 9: Memory Seat Module - Driver C1
Table 10: Memory Seat Module - Driver C2
Table 11: Memory Seat Module - Driver C3
Table 12: Seat Front Vertical Position Sensor - Driver (w/ Memory)
Table 13: Seat Front Vertical Motor - Driver
Table 14: Seat Front Vertical Motor - Front Passenger (w/o Memory)
Table 15: Seat Horizontal Position Sensor - Driver (w/ Memory)
Table 16: Seat Horizontal Motor - Driver
Table 17: Seat Horizontal Motor - Front Passenger
Table 18: Seat Lumbar Motor - Driver
Table 19: Seat Lumbar Motor - Front Passenger
Table 20: Seat Lumbar Switch - Driver
Table 21: Seat Lumbar Switch - Front Passenger
Table 22: Seat Rear Vertical Position Sensor - Driver (w/ Memory)
Table 23: Seat Rear Vertical Motor - Driver
Table 24: Seat Rear Vertical Motor - Front Passenger
Table 25: Seat Recliner Motor - Driver (w/o Memory)
Table 26: Seat Recliner Motor - Driver (w/ Memory)

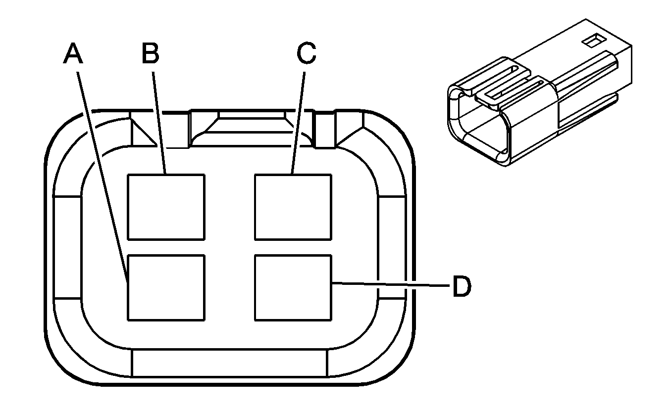
Heated Seat Control Module - Driver/Front Passenger (Part of the Heated Seat Assembly)


Object Number: 288378  Size: CH

Connector Part Information

    • 12047786
    • 4-Way M Metri-Pack 150 Series (BLK)

Pin

Wire Color

Circuit No.

Function

A

ORN

2240

Battery Positive Voltage

B

BLK

1350

Ground

C

PNK

1501

Driver Heated Seat High/Low Signal

D

--

--

Not Used

Seat Adjuster Switch - Driver (w/ 6-Way)


Object Number: 62469  Size: CH

Connector Part Information

    • 12064998
    • 8-Way F Metri-Pack 280 Series (BLK)

Pin

Wire Color

Circuit No.

Function

A

ORN

1440

Battery Positive Voltage

B

LT BLU

283

Drivers Seat Rear Vertical Motor Down Control

C

YEL

282

Drivers Seat Rear Vertical Motor Up Control

D

BLK

1350

Ground

E

DK BLU

287

Driver Seat Front Vertical Motor Down Control

F

DK GRN

286

Driver Seat Front Vertical Motor Up Control

G

LT GRN

284

Driver Seat Horizontal Motor Rearward Control

H

TAN

285

Driver Seat Horizontal Motor Forward Control

Seat Adjuster Switch - Front Passenger (w/ 6-Way)


Object Number: 62469  Size: CH

Connector Part Information

    • 12064998
    • 8-Way F Metri-Pack 280 Series (BLK)

Pin

Wire Color

Circuit No.

Function

A

ORN

1440

Battery Positive Voltage

B

LT BLU

289

Passenger Seat Rear Vertical Motor Down Control

C

YEL

288

Passenger Seat Rear Vertical Motor Up Control

D

BLK

1350

Ground

E

DK BLU

298

Passenger Seat Front Vertical Motor Down Control

F

DK GRN

287

Driver Seat Front Vertical Motor Down Control

G

LT GRN

290

Passenger Seat Horizontal Motor Rearward Control

H

TAN

286

Driver Seat Front Vertical Motor Up Control

Seat Adjuster Switch - Driver C1 (w/ 8-Way, w/o Memory)


Object Number: 808876  Size: CH

Connector Part Information

    • 12015416
    • 8-Way F Metri-Pack 280 Series (NAT)

Pin

Wire Color

Circuit No.

Function

A

ORN

1440

Battery Positive Voltage

B

YEL

282

Driver Seat Rear Vertical Motor Up Control

C

LT BLU

283

Driver Seat Rear Vertical Motor Down Control

D

LT GRN

284

Driver Seat Horizontal Motor Rearward Control

E

TAN

285

Driver Seat Horizontal Motor Forward Control

F

DK GRN

286

Driver Seat Front Vertical Motor Up Control

G

DK BLU

287

Drivers Seat Front Vertical Motor Down Control

H

BLK

1350

Ground

Seat Adjuster Switch - Front Passenger C1 (w/ 8-Way, w/o Memory)


Object Number: 808876  Size: CH

Connector Part Information

    • 12015416
    • 8-Way F Metri-Pack 280 Series (NAT)

Pin

Wire Color

Circuit No.

Function

A

ORN

1440

Fuse Output - Battery

B

YEL

288

Passenger Seat Rear Vertical Motor Up Control

C

LT BLU

289

Passenger Seat Rear Vertical Motor Down Control

D

LT GRN

290

Passenger Seat Horizontal Motor Rearward Control

E

TAN

296

Passenger Seat Horizontal Motor Forward Control

F

DK GRN

297

Passenger Seat Front Vertical Motor Up Control

G

DK BLU

298

Passenger Seat Front Vertical Motor Down Control

H

BLK

1350

Ground

Seat Adjuster Switch - Driver C2 (w/ 8-Way, w/o Memory)


Object Number: 38274  Size: CH

Connector Part Information

    • 12015199
    • 2-Way F Metri-Pack 280 Series (NAT)

Pin

Wire Color

Circuit No.

Function

A

LT BLU

277

Driver Seat Recline Motor Rearward

B

LT GRN

276

Driver Seat Recline Motor Forward

Seat Adjuster Switch - Front Passenger C2 (w/ 8-Way, w/o Memory)


Object Number: 38274  Size: CH

Connector Part Information

    • 12015199
    • 2-Way F Metri-Pack 280 Series (NAT)

Pin

Wire Color

Circuit No.

Function

A

DK BLU

77

Passenger Seat Recline Motor Rearward

B

DK GRN

76

Passenger Seat Recline Motor Forward

Seat Adjuster Switch - Driver/Front Passenger (w/ Memory)


Object Number: 401382  Size: CH

Connector Part Information

    • 174045-2
    • 12-Way F AMP Connector (BLK)

Pin

Wire Color

Circuit No.

Function

1

DK GRN

1518

Power Seat Front Vertical Up Switch Signal

2

DK BLU

1520

Power Seat Front Vertical Down Switch Signal

3

LT GRN

1523

Power Seat Horizontal Rearward Switch Signal

4

TAN

1522

Power Seat Horizontal Forward Switch Signal

5

LT BLU

1521

Power Seat Rear Vertical Down Switch Signal

6

GRY/BLK

1269

Power Seat Recline Forward Switch Signal

7

YEL

1519

Power Seat Rear Vertical Up Switch Signal

8

DK GRN/WHT

1270

Power Seat Recline Rearward Switch Signal

9

BLK

1350

Ground

10

ORN

614

Memory Set Switch Signal

11

WHT

615

Memory 1 Switch Signal

12

PPL

616

Memory 2 Switch Signal

Memory Seat Module - Driver C1


Object Number: 401670  Size: CH

Connector Part Information

    • 43025-1800
    • 18-Way Molex

Pin

Wire Color

Circuit No.

Function

1

DK GRN/WHT

1270

Power Seat Recline Rearward Switch Signal

2

GRY/BLK

1269

Power Seat Recline Forward Switch Signal

3

LT GRN

1523

Power Seat Horizontal Rearward Switch Signal

4

TAN

1522

Power Seat Horizontal Forward Switch Signal

5

LT BLU

1521

Power Seat Rear Vertical Down Switch Signal

6

YEL

1519

Power Seat Rear Vertical Up Switch Signal

7

DK BLU

1520

Power Seat Front Vertical Down Switch Signal

8

DK GRN

1518

Power Seat Front Vertical Up Switch Signal

9

PPL

616

Memory 2 Switch Signal

10

WHT

615

Memory 1 Switch Signal

11

ORN

614

Memory Seat Set Switch Signal

12

DK GRN

569

Horizontal Seat Motor Position Sensor Signal

13

BRN/WHT

1048

SCM Class 2 Serial Data

14

ORN/BLK

557

Front Vertical Seat Motor Position Sensor Signal

15

RED

569

5 Volt Reference

16

BLK

569

Sensor Ground

17

TAN

568

Rear Vertical Seat Motor Position Sensor Signal

18

WHT/BLK

570

Driver Seat Recline Motor Position Sensor Signal

Memory Seat Module - Driver C2


Object Number: 62469  Size: CH

Connector Part Information

    • 12064998
    • 8-Way M Metri-Pack 280 Series (BLK)

Pin

Wire Color

Circuit No.

Function

A

DK BLU

287

Driver Seat Front Vertical Motor Down Control

B

DK GRN

286

Driver Seat Front Vertical Motor Up Control

C

YEL

282

Driver Seat Front Vertical Motor Up Control

D

LT BLU

283

Driver Seat Front Vertical Motor Down Control

E

LT BLU

277

Driver Seat Recline Motor Rearward Control

F

LT GRN

276

Driver Seat Recline Motor Forward Control

G

LT GRN

284

Driver Seat Horizontal Motor Rearward Control

H

TAN

285

Driver Seat Horizontal Motor Forward Control

Memory Seat Module - Driver C3


Object Number: 38274  Size: CH

Connector Part Information

    • 12034343
    • 2-Way F 280 Series (BLK)

Pin

Wire Color

Circuit No.

Function

A

BLK

1350

Ground

B

ORN

1440

Battery Positive Voltage

Seat Front Vertical Position Sensor - Driver (w/ Memory)


Object Number: 401671  Size: CH

Connector Part Information

    • 12059612
    • 3-Way F 280 Series (NAT)

Pin

Wire Color

Circuit No.

Function

1

BLK

557

Front Vertical Seat Motor Position Sensor Signal

2

ORN/BLK

557

Front Vertical Seat Motor Position Sensor Signal

3

RED

557

Front Vertical Seat Motor Position Sensor Signal

Seat Front Vertical Motor - Driver


Object Number: 130707  Size: CH

Connector Part Information

    • 12020556
    • 2-Way F Metri-Pack 480 Series (GRY)

Pin

Wire Color

Circuit No.

Function

A

DK GRN

286

Driver Seat Front Vertical Motor Up Control

B

DK BLU

287

Driver Seat Front Vertical Motor Down Control

Seat Front Vertical Motor - Front Passenger (w/o Memory)


Object Number: 130707  Size: CH

Connector Part Information

    • 12020556
    • 2-Way F Metri-Pack 480 Series (GRY)

Pin

Wire Color

Circuit No.

Function

A

DK GRN

297

Passenger Seat Front Vertical Motor Up Control

B

DK BLU

298

Passenger Seat Front Vertical Motor Down Control

Seat Horizontal Position Sensor - Driver (w/ Memory)


Object Number: 401671  Size: CH

Connector Part Information

    • 12059612
    • 3-Way F 280 Series (NAT)

Pin

Wire Color

Circuit No.

Function

1

RED

569

Horizontal Seat Motor Position Sensor Signal

2

DK GRN

569

Horizontal Seat Motor Position Sensor Signal

3

BLK

569

Horizontal Seat Motor Position Sensor Signal

Seat Horizontal Motor - Driver


Object Number: 130707  Size: CH

Connector Part Information

    • 12020556
    • 2-Way F Metri-Pack 480 Series (GRY)

Pin

Wire Color

Circuit No.

Function

A

TAN

285

Driver Seat Horizontal Motor Forward Control

B

LT GRN

284

Driver Seat Horizontal Motor Rearward Control

Seat Horizontal Motor - Front Passenger


Object Number: 130707  Size: CH

Connector Part Information

    • 12020556
    • 2-Way F Metri-Pack 480 Series (GRY)

Pin

Wire Color

Circuit No.

Function

A

TAN

296

Passenger Seat Horizontal Motor Forward Control

B

LT GRN

290

Passenger Seat Horizontal Motor Rearward Control

Seat Lumbar Motor - Driver


Object Number: 38274  Size: CH

Connector Part Information

    • 12034343
    • 2-Way F Metri-Pack 280 Series (BLK)

Pin

Wire Color

Circuit No.

Function

A

DK BLU

611

Driver Seat Lumbar Motor Forward Control

B

PNK

610

Driver Seat Lumbar Motor Rearward Control

Seat Lumbar Motor - Front Passenger


Object Number: 38274  Size: CH

Connector Part Information

    • 12034343
    • 2-Way F Metri-Pack 280 Series (BLK)

Pin

Wire Color

Circuit No.

Function

A

DK BLU

211

Passenger Seat Lumbar Motor Forward Control

B

WHT

210

Passenger Seat Lumbar Motor Rearward Control

Seat Lumbar Switch - Driver


Object Number: 62434  Size: CH

Connector Part Information

    • 12045688
    • 8-Way M Metri-Pack 150 Series (BLK)

Pin

Wire Color

Circuit No.

Function

A

BLK

1350

Ground-w/Heated Seats

B

PNK

1501

Driver Heated Seat High/Low Signal-w/Heated Seats

C

BRN

41

Ignition 3 Voltage-w/Heated Seats

D

--

--

Not Used

E

BLK

1350

Ground

F

DK BLU

611

Driver Seat Lumbar Motor Forward Control

G

PNK

610

Driver Seat Lumbar Motor Rearward Control

H

ORN

1440

Battery Positive Voltage

Seat Lumbar Switch - Front Passenger


Object Number: 62434  Size: CH

Connector Part Information

    • 12045688
    • 8-Way M Metri-Pack 150 Series (BLK)

Pin

Wire Color

Circuit No.

Function

A

BLK

1350

Ground (w/ Heated Seats)

B

PNK

1501

Driver Heated Seat High/Low Signal (w/ Heated Seats)

C

BRN

41

Ignition 3 Voltage (w/ Heated Seats)

D

BLK/WHT

238

Seat Belt Switch - Left

E

BLK

1350

Ground

F

DK BLU

211

Passenger Seat Lumbar Motor Forward Control

G

WHT

210

Passenger Seat Lumbar Motor Rearward

H

ORN

2240

Battery Positive Voltage

Seat Rear Vertical Position Sensor - Driver (w/ Memory)


Object Number: 401671  Size: CH

Connector Part Information

    • 12059612
    • 3-Way F 280 Series (NAT)

Pin

Wire Color

Circuit No.

Function

1

RED

568

Rear Vertical Seat Motor Position Sensor Signal

2

TAN

568

Rear Vertical Seat Motor Position Sensor Signal

3

BLK

568

Rear Vertical Seat Motor Position Sensor Signal

Seat Rear Vertical Motor - Driver


Object Number: 130707  Size: CH

Connector Part Information

    • 12020556
    • 2-Way F Metri-Pack 480 Series (GRY)

Pin

Wire Color

Circuit No.

Function

A

YEL

282

Driver Seat Rear Vertical Motor Up Control

B

LT BLU

283

Driver Seat Rear Vertical Motor Down Control

Seat Rear Vertical Motor - Front Passenger


Object Number: 130707  Size: CH

Connector Part Information

    • 12020556
    • 2-Way F Metri-Pack 480 Series (GRY)

Pin

Wire Color

Circuit No.

Function

A

YEL

288

Passenger Seat Rear Vertical Motor Up Control

B

LT BLU

289

Passenger Seat Rear Vertical Motor Down Control

Seat Recliner Motor - Driver (w/o Memory)


Object Number: 39667  Size: CH

Connector Part Information

    • 12129136
    • 4-Way F Metri-Pack 280 Series (BLK)

Pin

Wire Color

Circuit No.

Function

A

LT BLU

277

Driver Seat Recline Motor Rearward Control

B

LT GRN

276

Driver Seat Recline Motor Forward Control

C-D

--

--

Not Used

Seat Recliner Motor - Driver (w/ Memory)


Object Number: 848683  Size: CH

Connector Part Information

    • 968182-1 AMP
    • 4-Way F Sealed (BLK)

Pin

Wire Color

Circuit No.

Function

1

LT GRN

276

Driver Seat Recline Motor Forward Control

2

LT BLU

277

Driver Seat Recline Motor Rearward Control

3

BLK

570

Driver Seat Recline Motor Position Sensor Signal

4

WHT/BLK

570

Driver Seat Recline Motor Position Sensor Signal