GM Service Manual Online
For 1990-2009 cars only

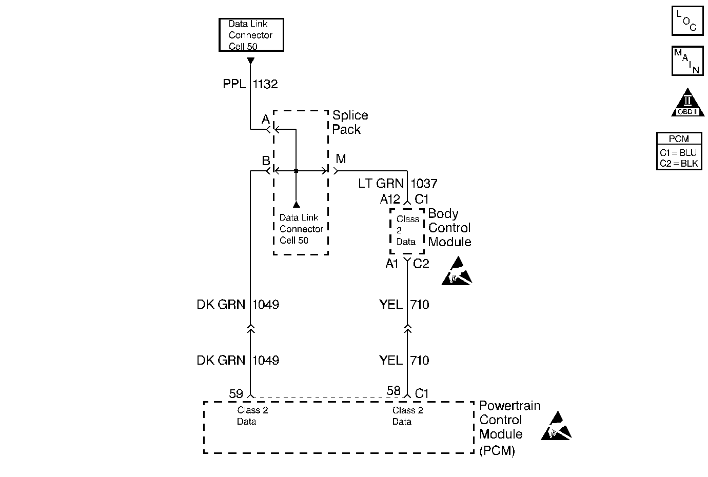
Object Number: 211070  Size: MF
Engine Controls Components
Cell 20: Data Link Connector
OBD II Symbol Description Notice
Powertrain Control Module Connector End Views
Handling ESD Sensitive Parts Notice
Handling ESD Sensitive Parts Notice

Circuit Description

The Vehicle Theft Deterrent (VTD) System, called a Passlock II System, is designed to prevent vehicle theft by disabling the engine unless the Passlock lock cylinder is correctly engaged by a mechanical key. The Passlock II System utilizes four components for theft detection: the lock cylinder, the ignition switch, the Body Control Module (BCM) and the Powertrain Control Module (PCM).

When starting the engine, the PCM looks for a password from the BCM through the Class 2 serial data circuit. If the password is not recognized or not present, the PCM will disable the engine. If an incorrect or no Password received, this indicates that the engine will start and stall immediately. THEFT SYSTEM telltale will flash on the IPC for approximately 4 seconds. If an incorrect or Disable Password Received (more than three invalid passwords are received), this indicates that the engine is disabled for at least 10 minutes and that the THEFT SYSTEM telltale will illuminate solid on the IPC for approximately 3 seconds then flash on the Instrument Panel Cluster (IPC) for the 10 minutes.

After the vehicle has passed theft detection, the PCM will continue a normal engine operation. If the PCM loses the BCM communication within the same ignition cycle, the vehicle will continue to run on the following ignition cycles. This mode is called the fail enable mode. Additional information can be found in the Passlock Theft Deterrent Systems.

Conditions for Setting the DTC

An unrecognized or incorrect password is sent to the PCM from the BCM.

Action Taken When the DTC Sets

    • The PCM will record operating conditions at the time during which the diagnostic fails. This information will store in the Freeze Frame and Failure Records buffers.
    • A history DTC stores.
    • The engine fueling is disabled by the PCM.

Conditions for Clearing the MIL/DTC

    • A history DTC will clear after 40 consecutive warm up cycles without a fault.
    • A scan tool can clear the DTCs.

Diagnostic Aids

Attempting to start the vehicle by bypassing the Passlock ll system or by substituting parts without performing the password learn procedure may set a DTC P1631 and a P1632.

If no password is received, a DTC U1064 and P1632 may be set.

An intermittent may be caused by any of the following conditions:

    • A poor connection
    • Rubbed through wire insulation
    • A broken wire inside the insulation

Thoroughly check any circuitry that is suspected of causing the intermittent complaint. Refer to Intermittents and Poor Connections Diagnosis in Wiring Systems.

If a repair is necessary, refer to Wiring Repairs or Connector Repairs in Wiring Systems.

Test Description

The numbers below refer to the step numbers on the Diagnostic Table.

  1. The Powertrain OBD System Check prompts you to complete some of the basic checks and to store the Freeze Frame and Failure Records data on the scan tool if applicable. This creates an electronic copy of the data captured when the fault occurred. The information then stores in the scan tool for later reference.

  2. The scan tool can display whether or not the BCM has received and learned the password from the lock cylinder. If the password is not received, the reason the PCM set this DTC may due to a password that has not yet been learned due to a component being replaced, or a problem in the BCM or a VTD component.

  3. The theft deterrent password resides in the Body Control Module (BCM). Anytime a VTD component is replaced, the Powertrain Control Module (PCM) must relearn the new BCM password.

  4. A BCM Passlock theft deterrent DTC being set indicates that a Passlock II component may be malfunctioning. Refer to the applicable BCM table for diagnosis.

  5. If no vehicle theft deterrent DTCs were set and the BCM has not learned (received) a password from the ignition lock cylinder, the BCM may need to learn the password or be malfunctioning.

  6. Replacement PCMs must be programmed. A programmed PCM does not require the Password Learn Procedure to be performed. The password will be learned on the first ignition cycle. Refer to the latest Techline information for programming procedures. Program the replacement PCM and perform the Crankshaft Position System Variation Learn Procedure. Refer to the latest Techline procedures for PCM programming.

  7. If no malfunctions are present at this point and no additional DTCs were set, refer to Diagnostic Aids for additional checks and information.

Step

Action

Value(s)

Yes

No

1

Did you perform the Powertrain On-Board Diagnostic (OBD) System Check?

--

Go to Step 2

Go to Powertrain On Board Diagnostic (OBD) System Check

2

Display the data list for the BCM.

Does the scan tool indicate that the Passlock data is Valid?

--

Go to Step 3

Go to Step 4

3

  1. Perform the Password Learn Procedure. Refer to Password Learn .
  2. Attempt to restart the engine.

Does the engine start and continue to run?

--

Go to Step 7

Go to Step 6

4

Are there any Passlock theft deterrent DTCs set?

--

Go to the applicable Passlock DTC table

Go to Step 5

5

Refer to PASSLOCK Reprogramming Seed and Key in Theft Deterrent.

Is the action complete?

--

Go to Step 7

--

6

Important:: The replacement PCM must be programmed. Refer to Powertrain Control Module Replacement/Programming .

Replace the PCM.

Is the action complete?

--

Go to Step 7

--

7

  1. Using the scan tool, clear the DTCs.
  2. Start engine.
  3. Idle the engine at the normal operating temperature.
  4. Operate the vehicle within the conditions for setting this DTC as specified in the supporting text.

Does the scan tool indicate that this diagnostic ran and passed?

--

Go to Step 8

Go to Step 2

8

Check to see if any additional DTCs are set.

Does the scan tool display any DTCs that you have not diagnosed?

--

Go to the applicable DTC table

System OK