GM Service Manual Online
For 1990-2009 cars only
Makes
🢒
Chevrolet
🢒
2004
🢒
SSR
🢒
Transmission/Transaxle
🢒
Automatic Transmission - 4L60-E/4L65-E
🢒 Power Door Systems Component Views
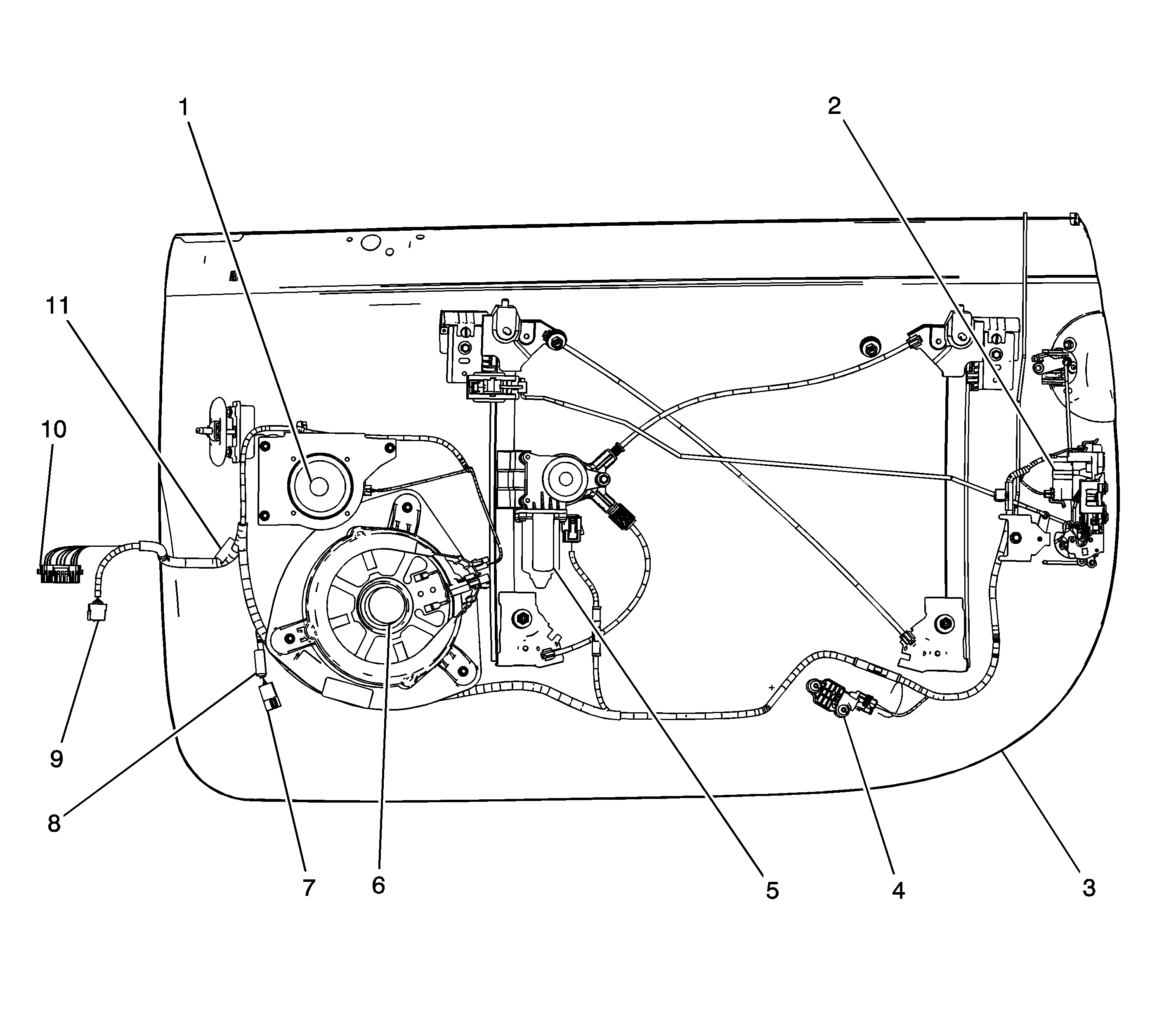
Figure
1:
Driver Door Components (Premium Radio)
(1)
Outside Rearview Mirror Switch
(2)
Speaker - LF Door Midrange
(3)
S501
(4)
C500
(5)
C501
(6)
S500
(7)
Outside Rearview Mirror - Driver
(8)
Speaker - LF Door
(9)
S502
(10)
Window Motor - Driver
(11)
Inflatable Restraint Side Impact Sensor (SIS) - Left
(12)
Door Latch Assembly - Driver
Figure
2:
Passenger Door Components (Premium Radio)
(1)
Speaker - RF Door Midrange
(2)
Door Latch Assembly - Passenger
(3)
Passenger Door
(4)
Inflatable Restraint Side Impact Sensor (SIS) - Right
(5)
Window Motor - Passenger
(6)
S602
(7)
Speaker - RF Door
(8)
Outside Rearview Mirror - Passenger
(9)
S600
(10)
C601
(11)
C600
(12)
S601
Figure
3:
Center Console Components
(1)
Passenger Window Switch
(2)
Door Lock/Unlock Switch
(3)
Folding Top Switch
(4)
Center Console Switch Assembly
(5)
Traction ON/OFF Switch
(6)
Driver Window Switch
Figure
4:
Power Mirror Components
(1)
Outside Rearview Mirror Switch
(2)
Outside Rearview Mirror - Driver
(3)
Outside Rearview Mirror - Passenger
(4)
Passenger Door
(5)
Speaker - RF Door
(6)
Speaker - RF Door Midrange
(7)
Speaker - LF Door Midrange
(8)
Speaker - RF Door
(9)
Driver Door