GM Service Manual Online
For 1990-2009 cars only
Connector 1: Ambient Light Sensor
Connector 2: Backup Lamp - Left
Connector 3: Backup Lamp - Right
Connector 4: Backup Lamp Switch (M12)
Connector 5: Center High Mounted Stop Lamp (CHMSL)
Connector 6: Daytime Running Lamp (DRL) Diode
Connector 7: Fog Lamp - LF
Connector 8: Fog Lamp - RF
Connector 9: Headlamp - High Beam - Left
Connector 10: Headlamp - Low Beam - Left
Connector 11: Headlamp - High Beam - Right
Connector 12: Headlamp - Low Beam - Right
Connector 13: Headlamp Switch
Connector 14: I/P Compartment Lamp
Connector 15: Inside Rearview Mirror (ISRVM) (w/o DJ2)
Connector 16: License Lamp - Left
Connector 17: License Lamp - Right
Connector 18: Marker Lamp - LF
Connector 19: Marker Lamp - LR
Connector 20: Marker Lamp - RF
Connector 21: Marker Lamp - RR
Connector 22: Park/Turn Signal Lamp - LF
Connector 23: Park/Turn Signal Lamp - RF
Connector 24: Rear Compartment Lid Lamp (ERK)
Connector 25: Stop Lamp Switch
Connector 26: Tail/Stop and Turn Signal Lamp - Left
Connector 27: Tail/Stop and Turn Signal Lamp - Right
Connector 28: Turn Signal/Hazard Flasher Module
Connector 29: Turn Signal/Multifunction Switch C1
Connector 30: Turn Signal/Multifunction Switch C2
Connector 31: Turn Signal/Multifunction Switch C3
Connector 32: Turn Signal/Multifunction Switch C4 (K34)
Connector 33: Vanity Mirror Lamp - LF
Connector 34: Vanity Mirror Lamp - RF

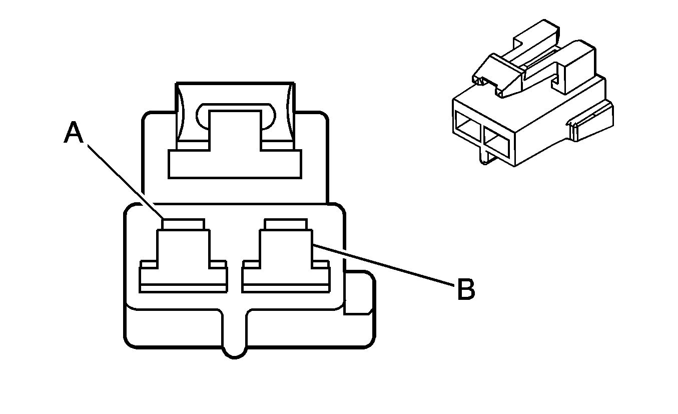
Ambient Light Sensor


Object Number: 82383  Size: CH

Connector Part Information

  • OEM: 12047662
  • Service: 12085535
  • Description: 2-Way F Metri-Pack 150 Series (BK)

Ambient Light Sensor

Pin

Wire Color

Circuit No.

Function

A

WH

278

Ambient Light Sensor Signal

B

BK

279

Ambient Light Sensor Low Reference

Backup Lamp - Left


Object Number: 95769  Size: CH

Connector Part Information

  • OEM: 12160392
  • Service: See Catalog
  • Description: 3-Way F Lamp Socket Components, Bulb Bases, Type C-2, Right Angle (GY)

Backup Lamp - Left

Pin

Wire Color

Circuit No.

Function

A

L-GN

24

Backup Lamp Supply Voltage

B

--

--

Not Used

G

BK

1550

Ground

Backup Lamp - Right


Object Number: 95769  Size: CH

Connector Part Information

  • OEM: 12160392
  • Service: See Catalog
  • Description: 3-Way F Lamp Socket Components, Bulb Bases, Type C-2, Right Angle (GY)

Backup Lamp - Right

Pin

Wire Color

Circuit No.

Function

A

L-GN

24

Backup Lamp Supply Voltage

B

--

--

Not Used

G

BK

1550

Ground

Backup Lamp Switch (M12)


Object Number: 781760  Size: CH

Connector Part Information

  • OEM: 12015792
  • Service: 12126452
  • Description: 2-Way F Weather Pack (BK)

Backup Lamp Switch (M12)

Pin

Wire Color

Circuit No.

Function

A

PK

339

Ignition 1 Voltage

B

GY

1524

Backup Lamp Signal

Center High Mounted Stop Lamp (CHMSL)


Object Number: 900247  Size: CH

Connector Part Information

  • OEM: 15358845
  • Service: 88987993
  • Description: 2-Way F GT 150 Series, Sealed 4.0 (BK)

Center High Mounted Stop Lamp (CHMSL)

Pin

Wire Color

Circuit No.

Function

A

YE

820

CHMSL Supply Voltage

B

BK

1550

Ground

Daytime Running Lamp (DRL) Diode


Object Number: 808706  Size: CH

Connector Part Information

  • OEM: 12064749
  • Service: 12101888
  • Description: 2-Way F Metri-Pack 480 Series (BK)

Daytime Running Lamp (DRL) Diode

Pin

Wire Color

Circuit No.

Function

A

OG

840

Battery Positive Voltage

B

YE

634

DRL Diode Supply Voltage

Fog Lamp - LF


Object Number: 808661  Size: CH

Connector Part Information

  • OEM: 12124819
  • Service: 12085498
  • Description: 2-Way F Metri-Pack 280 Series, Sealed (BK)

Fog Lamp - LF

Pin

Wire Color

Circuit No.

Function

A

PU

34

Fog Lamps Supply Voltage

B

BK

350

Ground

Fog Lamp - RF


Object Number: 808661  Size: CH

Connector Part Information

  • OEM: 12124819
  • Service: 12085498
  • Description: 2-Way F Metri-Pack 280 Series, Sealed (BK)

Fog Lamp - RF

Pin

Wire Color

Circuit No.

Function

A

PU

34

Fog Lamps Supply Voltage

B

BK

350

Ground

Headlamp - High Beam - Left


Object Number: 1341464  Size: CH

Connector Part Information

  • OEM: 15336116
  • Service: See Catalog
  • Description: 2-Way F Metri-Pack 280 Series, Sealed (BK)

Headlamp - High Beam - Left

Pin

Wire Color

Circuit No.

Function

1

D-GN/WH

711

Left Headlamp High Beam Supply Voltage

2

BK

350

Ground

Headlamp - Low Beam - Left


Object Number: 808661  Size: CH

Connector Part Information

  • OEM: 12124819
  • Service: 12085498
  • Description: 2-Way F Metri-Pack 280 Series, Sealed (BK)

Headlamp - Low Beam - Left

Pin

Wire Color

Circuit No.

Function

A

YE

712

Left Headlamp Low Beam Supply Voltage

B

BK

350

Ground

Headlamp - High Beam - Right


Object Number: 1341464  Size: CH

Connector Part Information

  • OEM: 15336116
  • Service: See Catalog
  • Description: 2-Way F Metri-Pack 280 Series, Sealed (BK)

Headlamp - High Beam - Right

Pin

Wire Color

Circuit No.

Function

1

L-GN/BK

311

Right Headlamp High Beam Supply Voltage

2

BK

250

Ground

Headlamp - Low Beam - Right


Object Number: 808661  Size: CH

Connector Part Information

  • OEM: 12124819
  • Service: 12085498
  • Description: 2-Way F Metri-Pack 280 Series, Sealed (BK)

Headlamp - Low Beam - Right

Pin

Wire Color

Circuit No.

Function

A

TN/WH

312

Right Headlamp Low Beam Supply Voltage

B

BK

250

Ground

Headlamp Switch


Object Number: 684891  Size: CH

Connector Part Information

  • OEM: IL-AG5-18S-D3C1
  • Service: 15324433
  • Description: 18-Way F (GN)

Headlamp Switch

Pin

Wire Color

Circuit No.

Function

1

GY

705

5-Volt Reference

2-3

--

--

Not Used

4

BK

2250

Ground

5-6

--

--

Not Used

7

OG

192

Front Fog Lamp Switch Signal

8

GY/BK

308

Park Lamp Switch On Signal

9

OG/BK

2090

Instrument Panel Lamps Dimming Control

10

GY/BK

2226

Instrument Panel Lamps Dimming Switch Low Reference

11

--

--

Not Used

12

BN/WH

230

Instrument Panel Lamps Dimming Control

13

PU

34

Fog Lamps Supply Voltage

14-15

--

--

Not Used

16

BK

2250

Ground

17

WH

103

Headlamp Switch Headlamps On Signal

18

--

--

Not Used

I/P Compartment Lamp


Object Number: 82383  Size: CH

Connector Part Information

  • OEM: 12047662
  • Service: 12085535
  • Description: 2-Way F Metri-Pack 150 Series (BK)

I/P Compartment Lamp

Pin

Wire Color

Circuit No.

Function

A

OG

1732

Inadvertent Courtesy Lamps Supply Voltage

B

BK

2250

Ground

Inside Rearview Mirror (ISRVM) (w/o DJ2)


Object Number: 826267  Size: CH

Connector Part Information

  • OEM: VHR-7N-BK
  • Service: 15306078
  • Description: 7-Way F (BK)

Inside Rearview Mirror (ISRVM) (w/o DJ2)

Pin

Wire Color

Circuit No.

Function

1

--

--

Not Used

2

OG

1732

Inadvertent Courtesy Lamps Supply Voltage

3-5

--

--

Not Used

6

GY/BK

690

Courtesy Lamp Supply Voltage

7

BK

1450

Ground

License Lamp - Left


Object Number: 744036  Size: CH

Connector Part Information

  • OEM: 12110053
  • Service: See Catalog
  • Description: 2-Way F Lamp Socket Wedge Base W2 (L-GY)

License Lamp - Left

Pin

Wire Color

Circuit No.

Function

A

BN

2509

Rear Park Lamps Supply Voltage

B

BK

1550

Ground

License Lamp - Right


Object Number: 744036  Size: CH

Connector Part Information

  • OEM: 12110053
  • Service: See Catalog
  • Description: 2-Way F Lamp Socket Wedge Base W2 (L-GY)

License Lamp - Right

Pin

Wire Color

Circuit No.

Function

A

BN

2509

Rear Park Lamps Supply Voltage

B

BK

1550

Ground

Marker Lamp - LF


Object Number: 1283850  Size: CH

Connector Part Information

  • OEM: E3550-000
  • Service: See Catalog
  • Description: 2-Way F (BK)

Marker Lamp - LF


Object Number: 1283850  Size: CH

Connector Part Information

    • E3550-000
    • 2-Way F (BK)

Pin

Wire Color

Circuit No.

Function

1

BN

2309

Front Park Lamps Supply Voltage

2

L-BU

2114

Left Turn Signal Lamps Supply Voltage

Marker Lamp - LR


Object Number: 1283850  Size: CH

Connector Part Information

  • OEM: E3550-000
  • Service: See Catalog
  • Description: 2-Way F (BK)

Marker Lamp - LR

Pin

Wire Color

Circuit No.

Function

1

BN

2509

Left Rear Park Lamps Supply Voltage

2

BK

1550

Ground

Marker Lamp - RF


Object Number: 1283850  Size: CH

Connector Part Information

  • OEM: E3550-000
  • Service: See Catalog
  • Description: 2-Way F (BK)

Marker Lamp - RF

Pin

Wire Color

Circuit No.

Function

1

BN

2309

Front Park Lamps Supply Voltage

2

D-BU

2115

Right Turn Signal Lamps Supply Voltage

Marker Lamp - RR


Object Number: 1283850  Size: CH

Connector Part Information

  • OEM: E3550-000
  • Service: See Catalog
  • Description: 2-Way F (BK)

Marker Lamp - RR

Pin

Wire Color

Circuit No.

Function

1

BN/WH

2609

Right Rear Park Lamps Supply Voltage

2

BK

1550

Ground

Park/Turn Signal Lamp - LF


Object Number: 801218  Size: CH

Connector Part Information

  • OEM: 16530672
  • Service: See Catalog
  • Description: 3-Way F Socket (TN)

Park/Turn Signal Lamp - LF

Pin

Wire Color

Circuit No.

Function

A

D-GN

--

Left Turn Signal Lamps Supply Voltage

B

RD/OG

--

Front Park Lamps Supply Voltage

G

BK

--

Ground

Park/Turn Signal Lamp - RF


Object Number: 801218  Size: CH

Connector Part Information

  • OEM: 16530672
  • Service: See Catalog
  • Description: 3-Way F Socket (TN)

Park/Turn Signal Lamp - RF

Pin

Wire Color

Circuit No.

Function

A

D-GN

--

Right Turn Signal Lamps Supply Voltage

B

RD/OG

--

Front Park Lamps Supply Voltage

G

BK

--

Ground

Rear Compartment Lid Lamp (ERK)


Object Number: 1479643  Size: CH

Connector Part Information

  • OEM: 206434-1
  • Service: See Catalog
  • Description: 8-Way M Plug, Series 2, (BK)

Rear Compartment Lid Lamp Relay (ERK)

Pin

Wire Color

Circuit No.

Function

1

L-GN

1732

Inadvertent Courtesy Lamps Supply Voltage

2

BK

1550

Ground

3

OG

744

Rear Compartment Lid Ajar Switch Signal

4-8

--

--

Not Used

Stop Lamp Switch


Object Number: 62424  Size: CH

Connector Part Information

  • OEM: 12040551
  • Service: 12102763
  • Description: 6-Way F Metri-Pack 480 Series (BK)

Stop Lamp Switch

Pin

Wire Color

Circuit No.

Function

A

WH

17

Stop Lamp Switch Signal

WH

17

Stop Lamp Switch Signal (M12)

B

OG

1540

Battery Positive Voltage

C

PU

420

TCC Brake Switch/Cruise Control Release Signal

D

PK

639

Ignition 1 Voltage

E

D-GN/WH

1135

A/T Shift Lock Control Solenoid Supply Voltage

D-GN/WH

1135

A/T Shift Lock Control Solenoid Supply Voltage (M32)

F

L-GN/BK

584

A/T Shift Lock Control Switch Supply Voltage

Tail/Stop and Turn Signal Lamp - Left


Object Number: 1283128  Size: CH

Connector Part Information

  • OEM: ZFI-00701-UA
  • Service: See Catalog
  • Description: 3-Way F (BK)

Tail/Stop and Turn Signal Lamp - Left

Pin

Wire Color

Circuit No.

Function

1

BK

1550

Ground

2

BN

2509

Left Rear Park Lamps Supply Voltage

3

YE/BK

1618

Trailer Left Rear Turn/Stop Lamp Supply Voltage

Tail/Stop and Turn Signal Lamp - Right


Object Number: 1283128  Size: CH

Connector Part Information

  • OEM: ZFI-00701-UA
  • Service: See Catalog
  • Description: 3-Way F (BK)

Tail/Stop and Turn Signal Lamp - Right

Pin

Wire Color

Circuit No.

Function

1

BK

1550

Ground

2

BN/WH

2609

Right Rear Park Lamps Supply Voltage

3

D-GN

1619

Trailer Right Rear Turn/Stop Lamp Supply Voltage

Turn Signal/Hazard Flasher Module


Object Number: 1385119  Size: CH

Connector Part Information

  • OEM: 15359360
  • Service: 15306411
  • Description: 10-Way F Metri-Pack Mixed Series (GY)

Turn Signal/Hazard Flasher Module

Pin

Wire Color

Circuit No.

Function

A

L-GN

1427

Right Turn Signal Switch Signal

B

WH

17

Stop Lamp Switch Signal

C

YE

18

Left Rear Stop/Turn Lamp Supply Voltage

D

D-GN

19

Right Rear Stop/Turn Lamp Supply Voltage

E

BK

2250

Ground

F

D-GN

1428

Left Turn Signal Switch Signal

G

WH

111

Hazard Switch Signal

H

YE

685

Left Turn Signal Lamps Supply Voltage

J

TN

686

Right Turn Signal Lamps Supply Voltage

K

OG

140

Battery Positive Voltage

Turn Signal/Multifunction Switch C1


Object Number: 39746  Size: CH

Connector Part Information

  • OEM: 12064862
  • Service: 12126438
  • Description: 8-Way F Metri-Pack 150 Series (BK)

Turn Signal/Multifunction Switch C1

Pin

Wire Color

Circuit No.

Function

A

L-GN

1427

Right Turn Signal Switch Signal

B

PK

639

Ignition 1 Voltage

C

D-GN

1428

Left Turn Signal Switch Signal

D

Not Used

Not Use

Left Cornering Lamp Supply Voltage

E

BN

2309

Front Park Lamps Supply Voltage

F

--

--

Not Used

G

BK/YE

28

Horn Relay Control

H

WH

111

Hazard Switch Signal

Turn Signal/Multifunction Switch C2


Object Number: 130718  Size: CH

Connector Part Information

  • OEM: 12059800
  • Service: 15306169
  • Description: 5-Way F Metri-Pack 150 Series (BK)

Turn Signal/Multifunction Switch C2

Pin

Wire Color

Circuit No.

Function

A

TN

751

Ground

B

YE/BK

307

Headlamp Switch Flash to Pass Signal

C

L-GN

11

Headlamp Dimmer Switch Signal

D-E

--

--

Not Used

Turn Signal/Multifunction Switch C3


Object Number: 811190  Size: CH

Connector Part Information

  • OEM: 15339058
  • Service: See Catalog
  • Description: 7-Way F Metri-Pack 150 Series (GY)

Turn Signal/Multifunction Switch C3

Pin

Wire Color

Circuit No.

Function

G

--

--

Not Used

H

PK

94

Windshield Washer Switch Signal

J

GY

478

Windshield Wiper Switch Signal 2

K

D-BU/WH

477

Windshield Wiper Switch Signal 1

L-N

--

--

Not Used

Turn Signal/Multifunction Switch C4 (K34)


Object Number: 39661  Size: CH

Connector Part Information

  • OEM: 12047786
  • Service: 12085536
  • Description: 4-Way F Metri-Pack 150 Series (BK)

Turn Signal/Multifunction Switch C4 (K34)

Pin

Wire Color

Circuit No.

Function

A

BN

341

Ignition 3 Voltage

B

GY/WH

397

Cruise Control On Switch Signal

C

GY/BK

87

Cruise Control Resume/Accel Switch Signal

D

D-BU

84

Cruise Control Set/Coast Switch Signal

Vanity Mirror Lamp - LF


Object Number: 333035  Size: CH

Connector Part Information

  • OEM: 12047781
  • Service: 12101864
  • Description: 3-Way F Metri-Pack 150 Series (BK)

Vanity Mirror Lamp - LF

Pin

Wire Color

Circuit No.

Function

A

BK

1450

Ground

B

OG

1732

Inadvertent Courtesy Lamps Supply Voltage

C

--

--

Not Used

Vanity Mirror Lamp - RF


Object Number: 333035  Size: CH

Connector Part Information

  • OEM: 12047781
  • Service: 12101864
  • Description: 3-Way F Metri-Pack 150 Series (BK)

Vanity Mirror Lamp - RF

Pin

Wire Color

Circuit No.

Function

A

BK

1450

Ground

B

OG

1732

Inadvertent Courtesy Lamps Supply Voltage

C

--

--

Not Used