| Table 1: | Engine Block - Front/Rear Views |
| Table 2: | Engine Block - Left/Right Side Views |
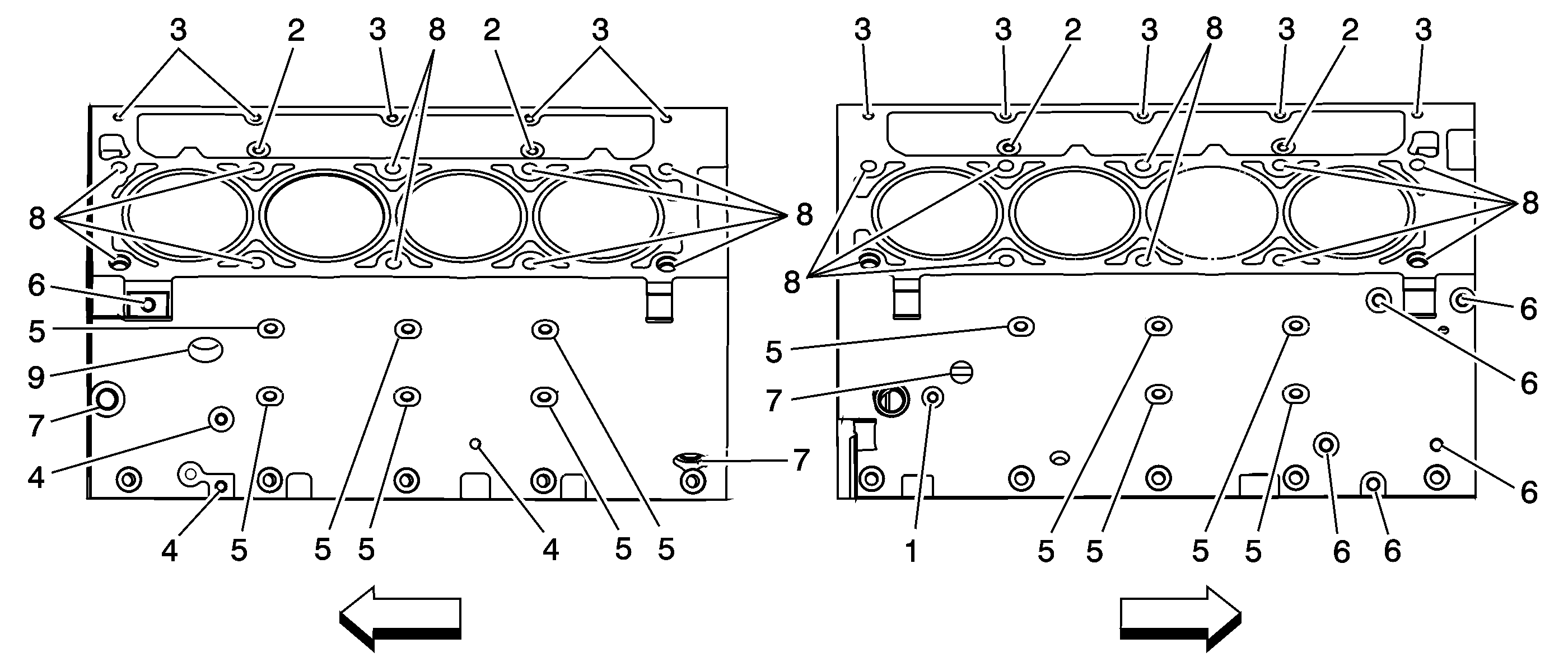
| Table 3: | Engine Block - Top/Bottom Views |
| Table 4: | Cylinder Head - Top/End Views |
| Table 5: | Cylinder Head - Intake/Exhaust Side Views |
Hole | Thread Size | Insert | Drill | Counterbore Tool | Tap | Driver | Drill Depth - Maximum mm (in) | Tap Depth - Maximum mm (in) |
|---|---|---|---|---|---|---|---|---|
J 42385- | ||||||||
1 | M8 x 1.25 | 210 | 206 | 207 | 208 | 209 | 22.5 (0.885) | 17.5 (0.688) |
2 | M10 x 1.5 | 215 | 211 | 212 | 213 | 214 | 27.5 (1.08) | 22.0 (0.866) |
3 | M10 x 1.5 | 215 | 211 | 212 | 213 | 214 | Thru | Thru |
4 | M8 x 1.25 | 210 | 206 | 207 | 208 | 209 | Thru | Thru |
5 | M10 x 1.5 | 215 | 211 | 212 | 213 | 214 | 25.0 (0.984) | 19.5 (0.767) |
6 | M10 x 1.5 | 215 | 211 | 212 | 213 | 214 | 32.5 (1.279) | 25.0 (0.984) |
7 | M10 x 1.5 | 215 | 211 | 212 | 213 | 214 | Thru | Thru |
Bolt hole 6 is drilled and tapped for aluminum block applications only. | ||||||||
Hole | Thread Size | Insert | Drill | Counterbore Tool | Tap | Driver | Drill Depth - Maximum mm (in) | Tap Depth - Maximum mm (in) |
|---|---|---|---|---|---|---|---|---|
J 42385- | ||||||||
1 | M8 x 1.25 | 210 | 206 | 207 | 208 | 209 | 22.5 (0.885) | 17.5 (0.688) |
2 | M6 x 1.0 | 205 | 201 | 202 | 203 | 204 | 22.5 (0.885) | 15.0 (0.688) |
3 | M8 x 1.25 | 210 | 206 | 207 | 208 | 209 | 28.5 (1.122) | 23.0 (0.905) |
4 | M8 x 1.25 | 210 | 206 | 207 | 208 | 209 | 21.5 (0.846) | 16.0 (0.629) |
5 | M10 x 1.25 | 215 | 211 | 212 | 213 | 214 | 29.0 (1.141) | 23.0 (0.905) |
6 | M10 x 1.5 | 215 | 211 | 212 | 213 | 214 | 27.0 (1.062) | 21.5 (0.846) |
7 | M16 x 1.5 | N/A | N/A | N/A | N/A | N/A | N/A | N/A |
8 | M11 x 2.0 | 108 | 105 | N/A | 106 | 107 | 69.0 (2.72) | 60.0 (2.36) |
9 | M28 x 1.25 | N/A | N/A | N/A | N/A | N/A | N/A | N/A |
Bolt hole 8 has a 30 mm (1.18 in) counterbore included in the 69.0 mm (2.72 in) drill depth. Use sleeve J 42385-315 with the drill and tap. | ||||||||
Hole | Thread Size | Insert | Drill | Counterbore Tool | Tap | Driver | Drill Depth - Maximum mm (in) | Tap Depth - Maximum mm (in) | ||||||
|---|---|---|---|---|---|---|---|---|---|---|---|---|---|---|
J 42385- | ||||||||||||||
1 | M8 x 1.25 | 210 | 206 | 207 | 208 | 209 | 22.5 (0.885) | 17.5 (0.688) | ||||||
2 | M10 x 1.5 | 215 | 211 | 212 | 213 | 214 | 42.5 (1.67) | 37.0 (1.45) | ||||||
3 | M10 x 2.0 | 104 | 101 | N/A | 102 | 103 | 31.0 (1.22) | 25.5 (1.0) | ||||||
4 | M10 x 2.0 | 104 | 101 | N/A | 102 | 103 | 53.5 (2.10) | 44.0 (1.73) | ||||||
5 | M8 x 1.25 | 210 | 206 | 207 | 208 | 209 | 26.5 (1.043) | 19.0 (0.748) | ||||||
| ||||||||||||||
Hole | Thread Size | Insert | Drill | Counterbore Tool | Tap | Driver | Drill Depth - Maximum mm (in) | Tap Depth - Maximum mm (in) |
|---|---|---|---|---|---|---|---|---|
J 42385- | ||||||||
1 | M8 x 1.25 | 210 | 206 | 207 | 208 | 209 | 26.5 (1.04) | 19.0 (0.784) |
2 | M6 x 1.0 | 205 | 201 | 202 | 203 | 204 | 20.05 (0.789) | 16.05 (0.632) |
3 | M10 x 1.5 | 215 | 211 | 212 | 213 | 214 | 28.0 (1.10) | 20.0 (0.787) |
4 | M6 x 1.0 | 205 | 201 | 202 | 203 | 204 | 22.5 (0.885) | 15.0 (0.688) |
Hole | Thread Size | Insert | Drill | Counterbore Tool | Tap | Driver | Drill Depth - Maximum mm (in) | Tap Depth - Maximum mm (in) |
|---|---|---|---|---|---|---|---|---|
J 42385- | ||||||||
1 | M6 x 1.0 | 205 | 201 | 202 | 203 | 204 | Thru | Thru |
2 | M10 x 1.5 | 215 | 211 | 212 | 213 | 214 | 28.0 (1.10) | 20.0 (0.787) |
3 | M8 x 1.25 | 210 | 206 | 207 | 208 | 209 | 21.0 (0.826) | 16.0 (0.629) |
4 | M14 x 1.25 | N/A | N/A | N/A | N/A | N/A | N/A | N/A |
5 | M12 x 1.5 | N/A | N/A | N/A | N/A | N/A | N/A | N/A |