GM Service Manual Online
For 1990-2009 cars only
Makes
🢒
Chevrolet
🢒
2007
🢒
Silverado Classic - 4WD
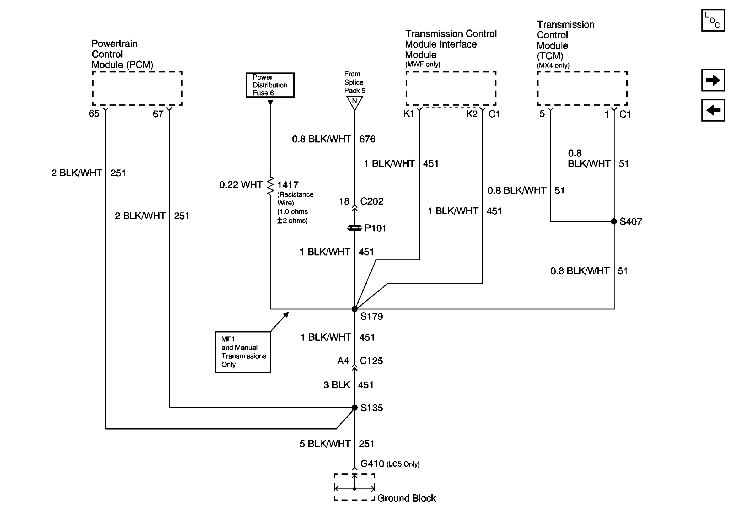
🢒 G410, S135, S179, S407
G410, S135, S179, S407
G410, S135, S179, S407
Master Electrical Component List
G105 Continued, Splice Pack 3, S361
G105 Continued, Splice Pack 5, S242
G105 Continued, Splice Pack 5, S242