GM Service Manual Online
For 1990-2009 cars only
Makes
🢒
Chevrolet
🢒
2007
🢒
Silverado Classic - 4WD
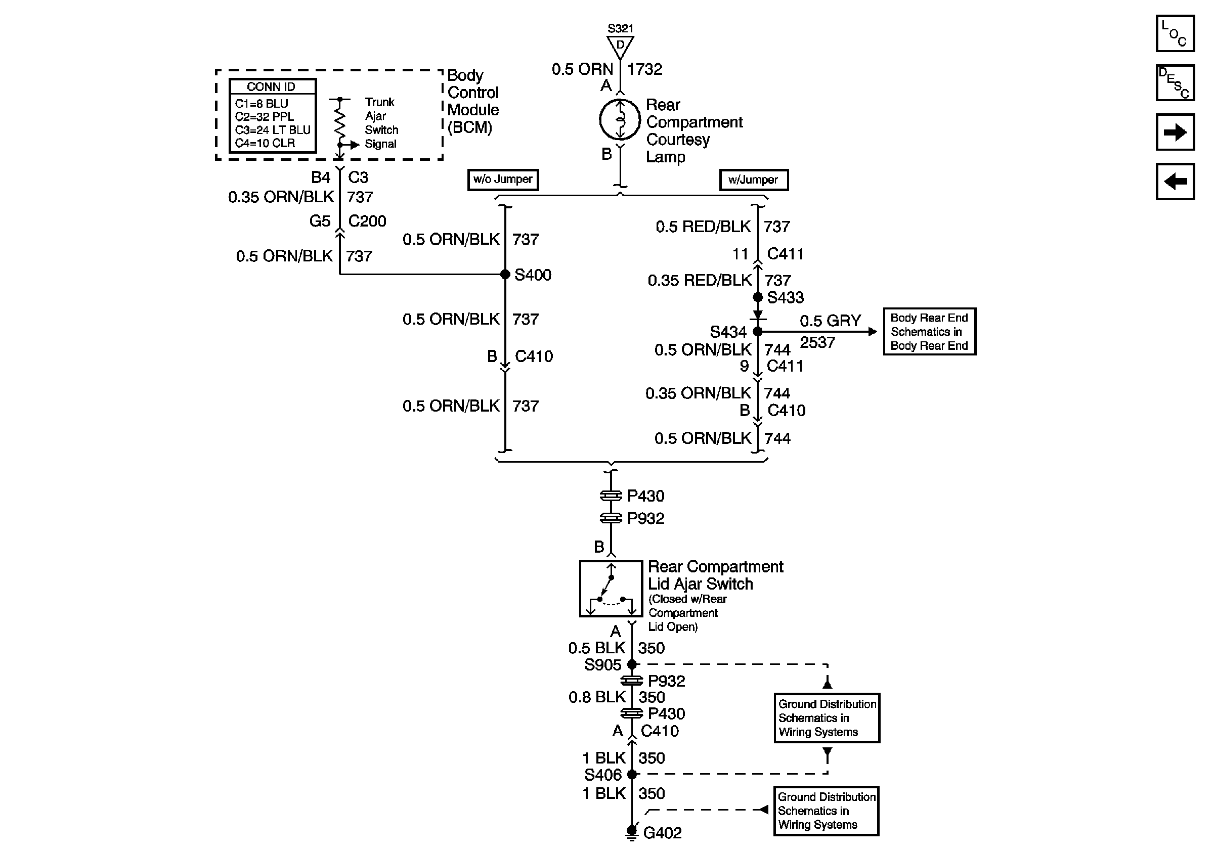
🢒 Rear Compartment Courtesy Lamp w/o Entrapment Protection
Rear Compartment Courtesy Lamp w/o Entrapment Protection
Rear Compartment Courtesy Lamp w/o Entrapment Protection
Master Electrical Component List
Interior Lighting Systems Description and Operation
Lamp Controls
Rear Compartment Courtesy Lamp w/Entrapment Protection
Compartment and I/P Courtesy Lamps
Decklid Release w/o Entrapment Protection w/Jumper
G402 (Page 2 of 2)
G402 (Page 1 of 2)