GM Service Manual Online
For 1990-2009 cars only

Tools Required

J 29142 (09915-47341) Oil Filter Wrench

Engine Fluid Level

    Important: If checking the oil level under the engine cold condition, oil is not accumulated into the oil pan quickly and the correct level checking can not be performed. Therefore, wait until the temperature reaches the normal operating condition and check the engine oil level.

  1. Inspect the engine fluid level or condition. If needed, refill or replace the oil.
  2. Inspect the engine oil level within engine normal operating temperatures as follows:
  3. 2.1. After stopping the engine, wait for a few minutes to accumulate oil into the oil pan.

    Object Number: 1222986  Size: SH
    2.2. After pulling out the oil level gage (1), check the oil level.
    2.3. Clean the oil level gage and insert the gage into the guide.
    2.4. After pulling out the oil level gage again, check the oil level and insert the gage into the guide again.

            Important: The oil level should be between MIN mark and MAX mark.

    2.5. If the oil level is below the MIN mark, refill the engine oil as much as the demanded quantity.

Changing Engine Oil or Oil Filter

When checking the engine oil level or condition, if needed, change the engine oil, including the filter, as follows:

  1. After stopping the engine, wait for a few minutes to accumulate oil into the oil pan.

  2. Object Number: 1222990  Size: SH
  3. Remove the oil filter cap (1).
  4. Remove the oil drain plug (2) and draw oil off.
  5. Notice: Refer to Fastener Notice in the Preface section.

  6. After drawing oil completely, tighten the oil drain plug.
  7. Tighten
    Tighten the oil drain plug to 30-40 N·m (22-30 lb ft).


    Object Number: 1222988  Size: SH

    Important: Whenever changing the engine oil, replace the oil filter. When replacing a new oil filter, apply engine oil on the oil filter sealing.

  8. Replace the oil filter using the J 29142  (1).
  9. 5.1. Remove the air cleaner/resonator/snorkel assembly.
    5.2. After removing the bolts, remove the heat shield.
    5.3. Loosen the power steering pump cap screw and pull the power steering hose into the front.
    5.4. Remove the oil filter.

Engine Timing Belt Inspection

After checking the timing belt for looseness, crack, wear, or tension, replace the belt if necessary.

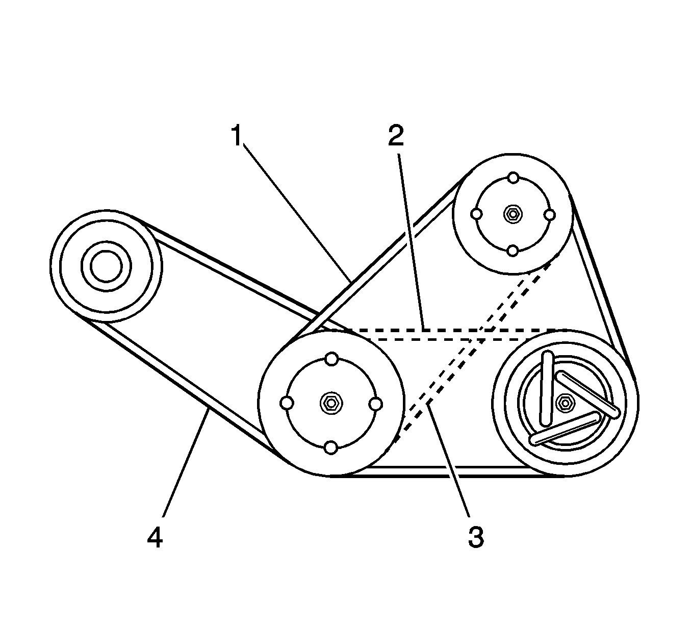
Accessory Belt Inspection

Notice: Do not use belt dressing on the drive belt. Belt dressing causes the breakdown of the composition of the drive belt. Failure to follow this recommendation will damage the drive belt.


Object Number: 1222992  Size: SH

After checking the alternator belt (4), air conditioning/power steering belt (1), air conditioning belt (2), and power steering belt (3) for looseness, crack, wear, or tension, replace the belt if necessary.

Spark Plug Inspection

After checking the spark plug for bad clearance, excessive carbon deposit, worn electrode, or damaged insulator, replace the new one if necessary.

Remove and check the spark plug as follows:


    Object Number: 1222996  Size: SH
  1. Pull the high tension cable cap portion (1) and disconnect the high tension cable from the spark plug. If pulling the high tension cable (2), the circuit could be disconnected. Therefore, the cap portion should be used.
  2. Remove the spark plug from the cylinder head using a wrench.

  3. Object Number: 1222991  Size: SH
  4. Measure the spark plug clearance (1) with the filler gage. If the measured value is not within the specified value, adjust the grounding electrode.
  5. When installing a new spark plug, check the clearance for equality and install it.

Checking the Air Cleaner Element

If the air cleaner element becomes dirty, engine efficiency could be deteriorated.

Be sure to check the element often.

If a vehicle frequently runs on a dusty road, check and replace the element often.

Checking the Fuel Filter

If the fuel filter is used over the specified period, engine efficiency is deteriorated by dust or foreign material.

Therefore, replace a new one within the specified period.

Checking the Fuel System

Check the fuel system as follows:

    • Check the fuel line or line connection portion for damage or leaks.
    • Check the fuel hose surface for damage.
    • Check the fuel cap for looseness.

Checking the Hose System

Check the engine vacuum hose, PCV hose, or canister hose as follows:

    • Check the hose surface for damage by heat or machine.
    • Check the hose for hardening, crack, tear, or coming off.