GM Service Manual Online
For 1990-2009 cars only
Makes
🢒
Chevrolet
🢒
2003
🢒
Tahoe - 4WD
🢒
Engine
🢒
Engine Controls - 8.1L
🢒 Fuel Hose/Pipes Routing Diagram
Fuel Hose/Pipes Routing Diagram Single Fuel Tank
(1)
Fuel Pressure Service Connection
(2)
Fuel Injector Rail
(3)
Fuel Rail Feed Pipe
(4)
Fuel Feed Hose
(5)
Fuel Return Hose
(6)
Fuel Filter
(7)
Fuel Rail Return Pipe
(8)
Fuel Pressure Regulator
(9)
Fuel Injector
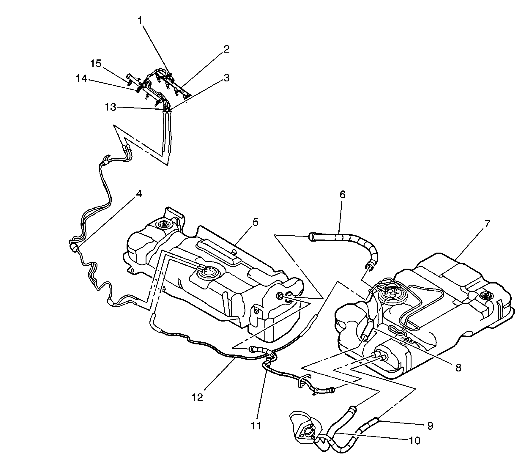
Fuel Hose/Pipes Routing Diagram Dual Tanks with Single Fill Pipe
Duel Tank
(1)
Fuel Pressure Service Connection
(2)
Fuel Injector Rail
(3)
Fuel Rail Feed Pipe
(4)
Fuel Filter
(5)
Front Fuel Tank
(6)
Front Fuel Tank Filler Hose
(7)
Rear Fuel Tank
(8)
Tee Fitting
(9)
Filler Vent Hose
(10)
Fuel Filler Hose
(11)
Front Fuel Tank Filler Vent Hose
(12)
Rear Tank Fuel Hose/Pipe
(13)
Fuel Rail Return Pipe
(14)
Fuel Pressure Regulator
(15)
Fuel Injector