GM Service Manual Online
For 1990-2009 cars only
Figure 1:

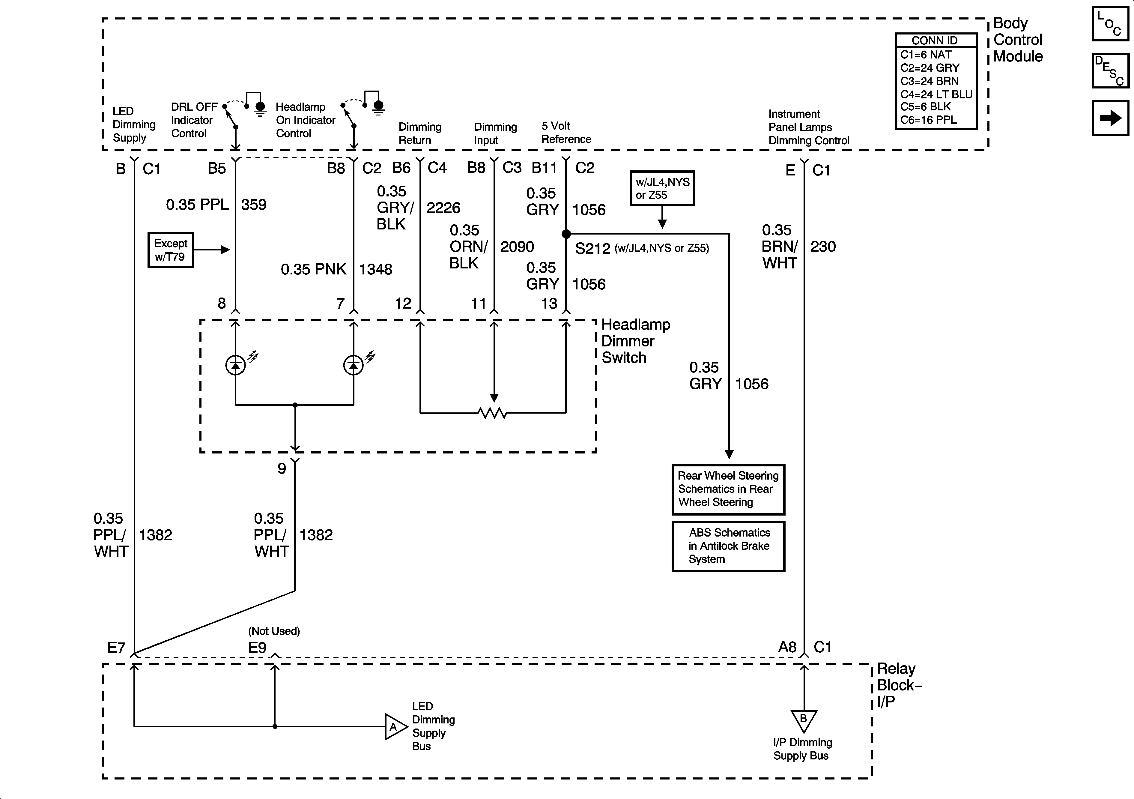
Interior Lights and LED Dimming Control


Object Number: 848481  Size: FS
Master Electrical Component List
Interior Lighting Systems Description and Operation
LED Dimming Supply Voltage - 1 of 2
LED Dimming Supply Voltage - 1 of 2
Yaw and Lateral Acceleration Sensor Inputs
Steering Wheel/Speed Position Sensor
I/P Dimming Supply Voltage - 1 of 7
G200 - 2 Of 3
G200 - 1 of 3
G200 - 1 of 3
Figure 2:

LED Dimming Supply Voltage - 1 of 2


Object Number: 848482  Size: FS
Master Electrical Component List
Interior Lighting Systems Description and Operation
LED Dimming Supply Voltage - 2 of 2
Interior Lights and LED Dimming Control
Interior Lights and LED Dimming Control
LED Dimming Supply Voltage - 2 of 2
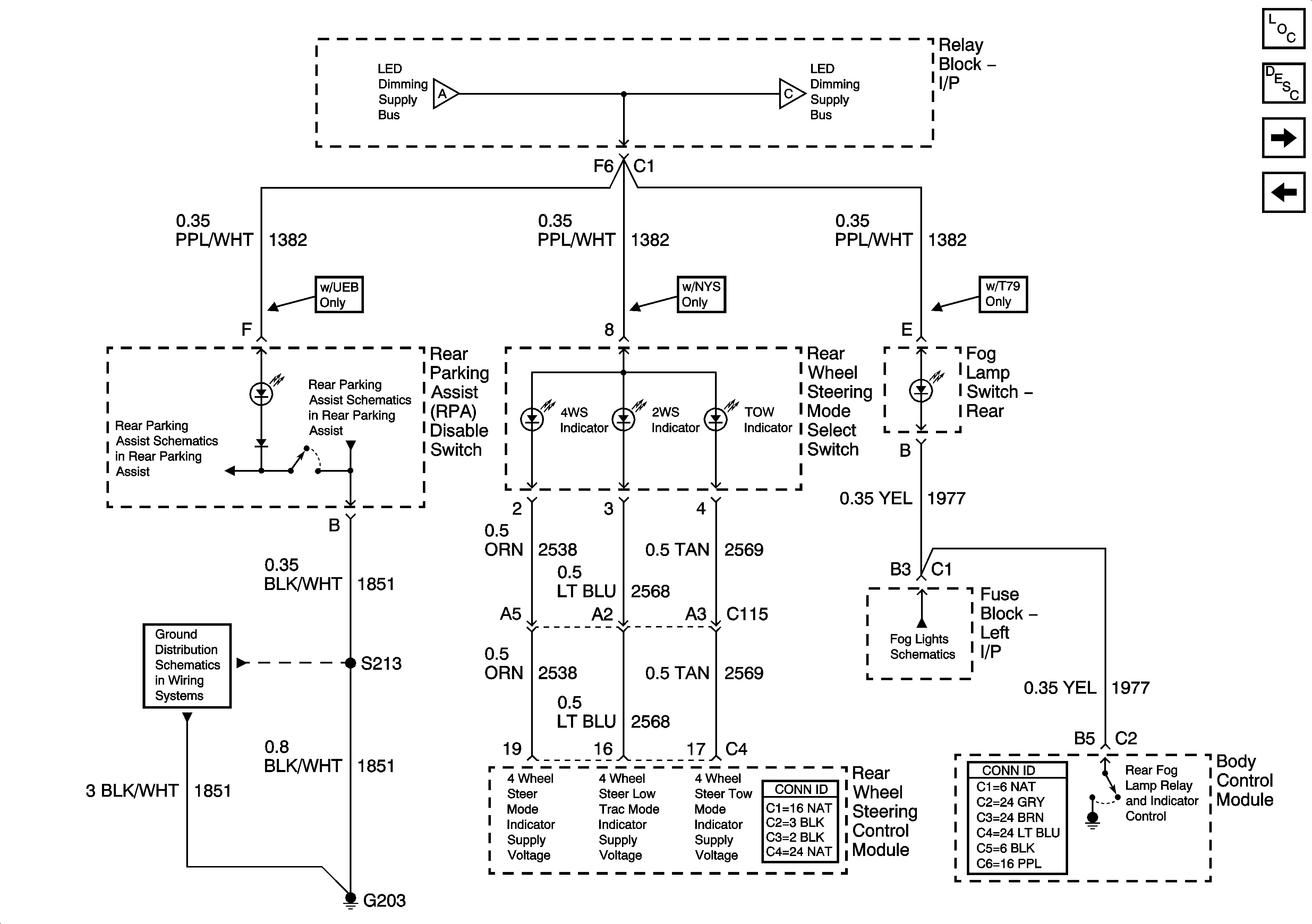
Rear Object Sensor Control Module, RPA Display, RPA Disable Switch
Rear Object Sensor Control Module, RPA Display, RPA Disable Switch
G203 - 1 Of 2
Rear - Export only
Figure 3:

LED Dimming Supply Voltage - 2 of 2


Object Number: 848483  Size: FS
Master Electrical Component List
Interior Lighting Systems Description and Operation
I/P Dimming Supply Voltage - 1 of 7
LED Dimming Supply Voltage - 1 of 2
LED Dimming Supply Voltage - 1 of 2
Front
Figure 4:

I/P Dimming Supply Voltage - 1 of 7


Object Number: 848484  Size: FS
Master Electrical Component List
Interior Lighting Systems Description and Operation
I/P Dimming Supply Voltage - 2 of 7
LED Dimming Supply Voltage - 2 of 2
Interior Lights and LED Dimming Control
I/P Dimming Supply Voltage - 2 of 7
Analog Clock
G200 - 2 Of 3
G200 - 2 Of 3
G200 - 1 of 3
G200 - 1 of 3
G200 - 3 Of 3
G200 - 1 of 3
G200 - 3 Of 3
Figure 5:

I/P Dimming Supply Voltage - 2 of 7


Object Number: 848485  Size: FS
Master Electrical Component List
Interior Lighting Systems Description and Operation
I/P Dimming Supply Voltage - 3 of 7
I/P Dimming Supply Voltage - 1 of 7
I/P Dimming Supply Voltage - 1 of 7
I/P Dimming Supply Voltage - 3 of 7
Rear - Export only
G203 - 2 Of 2
G203 - 2 Of 2
Remote CD Player - UQ7 w/ Y91 and U1S
G203 - 1 Of 2
G203 - 1 Of 2
G203 - 1 Of 2
G203 - 1 Of 2
Figure 6:

I/P Dimming Supply Voltage - 3 of 7


Object Number: 848486  Size: FS
Master Electrical Component List
Interior Lighting Systems Description and Operation
I/P Dimming Supply Voltage - 4 of 7
I/P Dimming Supply Voltage - 2 of 7
I/P Dimming Supply Voltage - 2 of 7
I/P Dimming Supply Voltage - 4 of 7
Traction Control Switch and Precharge Motor Assembly - w/VSES
G203 - 1 Of 2
G200 - 2 Of 3
G203 - 1 Of 2
G200 - 1 of 3
G200 - 1 of 3
G200 - 1 of 3
Figure 7:

I/P Dimming Supply Voltage - 4 of 7


Object Number: 848487  Size: FS
Master Electrical Component List
Interior Lighting Systems Description and Operation
I/P Dimming Supply Voltage - 5 of 7
I/P Dimming Supply Voltage - 3 of 7
I/P Dimming Supply Voltage - 3 of 7
I/P Dimming Supply Voltage - 5 of 7
Stoplamp Switch and Traction Control Switch
Rear Heated Seats - 1 of 3
Rear Heated Seats - 3 of 3
G200 - 1 of 3
G200 - 2 Of 3
G203 - 1 Of 2
G203 - 1 Of 2
G200 - 1 of 3
G200 - 1 of 3
Figure 8:

I/P Dimming Supply Voltage - 5 of 7


Object Number: 848488  Size: FS
Master Electrical Component List
Interior Lighting Systems Description and Operation
I/P Dimming Supply Voltage - 6 of 7
I/P Dimming Supply Voltage - 4 of 7
I/P Dimming Supply Voltage - 4 of 7
I/P Dimming Supply Voltage - 7 of 7
I/P Dimming Supply Voltage - 6 of 7
G200 - 3 Of 3
G200 - 3 Of 3
G200 - 3 Of 3
G200 - 1 of 3
G200 - 1 of 3
G200 - 1 of 3
Front
Rear Object Sensor Control Module, RPA Display, RPA Disable Switch
G203 - 1 Of 2
G203 - 1 Of 2
Figure 9:

I/P Dimming Supply Voltage - 6 of 7


Object Number: 848489  Size: FS
Master Electrical Component List
Interior Lighting Systems Description and Operation
I/P Dimming Supply Voltage - 7 of 7
I/P Dimming Supply Voltage - 5 of 7
I/P Dimming Supply Voltage - 5 of 7
G200 - 3 Of 3
G200 - 3 Of 3
G200 - 1 of 3
G200 - 1 of 3
G200 - 1 of 3
Auxiliary HVAC w/Heat and A/C - 2 of 3
G410 - 1 Of 3
G410 - 1 Of 3
Figure 10:

I/P Dimming Supply Voltage - 7 of 7


Object Number: 848490  Size: FS
Master Electrical Component List
Interior Lighting Systems Description and Operation
I/P Dimming Supply Voltage - 6 of 7
I/P Dimming Supply Voltage - 5 of 7
Left Doors
Right Doors
G304, G305
G306
Headlight Leveling Schematics
S101 - Export
G100, G101, G105, G106