GM Service Manual Online
For 1990-2009 cars only
Figure 1:

OnStar® Component Locations


Object Number: 623162  Size: MF
(1)Global Positioning Satellite (GPS) Antenna
(2)Cellular Telephone Microphone
(3)Global Positioning System (GPS)
(4)Junction Block-Body
(5)Vehicle Communication Unit (VCU)
(6)OnStar® Button Assembly
(7)Vehicle Interface Unit (VIU)
Figure 2:

LH Front of Vehicle


Object Number: 310802  Size: MF
(1)Upper Radiator Support -Tie Bar
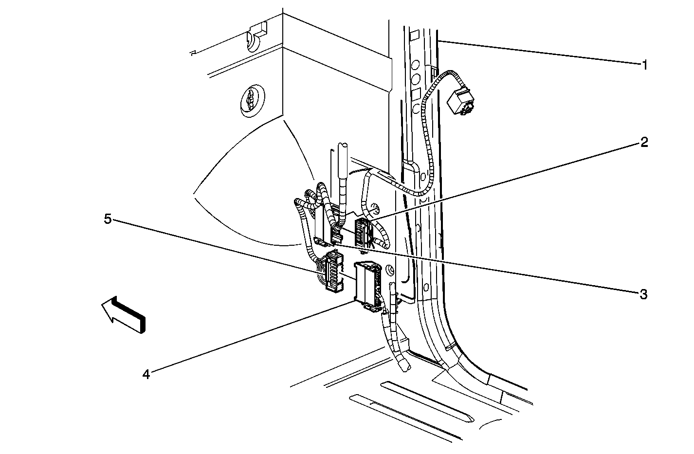
(2)Headlamp Assembly-LF
(3)Headlamp - High Beam - Left Connector
(4)Daytime Running Lamp (DRL)-Left
(5)Daytime Running Lamp (DRL)-Left Socket
(6)Windshield Washer Reservoir
(7)Park/Turn Signal Lamp Socket-LF
(8)Marker Lamp Socket-LF
(9)Marker Lamp-LF
(10)Park/Turn Signal Lamp-LF
(11)Snowplow Connector C125-Option
(12)Headlamp Connector-Low Beam-Left
(13)Marker Lamp-LF
Figure 3:

C103


Object Number: 310806  Size: MF
(1)Fuse Block-Underhood Bracket
(2)Inflatable Restraint Harness
(3)Radiator Support
(4)Inline Connector-C103-I/P Harness Side
(5)Inline Connector-C103-Forward Lamp Harness Side
(6)LH Battery Tray
(7)Fuse Block-Underhood Bracket
(8)Fuse Block-Underhood
Figure 4:

C104, C114, C150, C151, C153, C154, and PTO Relay


Object Number: 814636  Size: LF
(1)Fuse Block - Underhood
(2)C153 - Engine Harness to Transfer Case Harness
(3)C150 - Transfer Case Harness to Axle Jumper Harness
(4)Transfer Case Harness
(5)C151 - I/P Harness to Automatic Transfer Case Harness (w/NP8/NR4) or C104 - I/P Harness to Forward Lamp Harness (w/o NP8/NR4)
(6)C154 - I/P Harness to Automatic Transfer Case Harness (w/NP8/NR4) or C114 - Chassis Harness to I/P Harness (w/JL4/NYS)
(7)Power Take-Off (PTO) Relay
Figure 5:

Inline Connectors Under the Fuse Block-Underhood


Object Number: 413351  Size: MF
(1)Inline Connector-C102
(2)Fuse Block-Underhood Support/Mount
(3)Inline Connector-C152
(4)Inline Connector-C100
Figure 6:

Engine Harness Connector Locations-8.1L


Object Number: 656555  Size: LF
(1)MAP Switch Connector
(2)Surge Tank Switch Connector
(3)Secondary Air Injection (AIR) Solenoid Relay Connector
(4)Secondary Air Injection (AIR) Pump Connector
(5)MAP Sensor Connector
(6)A/C Compressor Connector
(7)Engine Wiring Harness Ground
(8)Oil Pressure Sensor Connector
(9)Oil Pressure Sensor Connector
(10)Starter Connector
(11)Knock Sensor Connector
(12)Automatic Transmission Input Speed Sensor (ISS) Connector
(13)Oxygen Sensor Connector
(14)Turbine Shaft Speed (TSS) Sensor Connector
(15)Oxygen Sensor Connector
(16)Power Take Off (PTO) Connector
(17)Transmission Harness Connector
(18)Speed Sensor Connector
(19)Park/Neutral Position (PNP) Switch Connectors
(20)Oxygen Sensor Connector
(21)Low Oil Level Sensor Connector
(22)Crankshaft Position Sensor Connector
(23)Knock Sensor Connector
(24)Ignition Coil Connector
(25)Engine Wiring Harness Ground
(26)Camshaft Position Sensor Connector
(27)Powertrain Control Module (PCM) Connectors
(28)Power Take Off (PTO) Relay Connector
(29)Inline to IP Harness Connector
(30)Inline to Chassis Harness Connector
(31)Junction Block-Underhood
(32)Transmission Control Module Connectors (M74)
(33)Throttle Actuator Control (TAC) Module Connector
(34)Throttle Position (TP) Sensor Connector
(35) Generator Connector
(36)Fuel Injector Connector
(37)Electric Throttle Control Connector
Figure 7:

Left Side of the Engine (4.8, 5.3, and 6.0L)


Object Number: 1402455  Size: LF
(1)Generator Connector
(2)Evaporative Emission (EVAP) Canister Purge Soleniod
(3)S104
(4)C148
(5)Manifold Absolute Pressure (MAP) Sensor Connector
(6)Knock Sensor (KS) Connector
(7)Knock Sensor (KS) Connector
(8)G104
(9)Camshaft Position (CMP) Sensor Connector
(10)Throttle Actuator Control (TAC) Connector
(11)C153
(12)G102
(13)C100
(14)Fuse Block - Underhood C2
(15)C152
(16)Powertrain Control Module (PCM) C2
(17)Powertrain Control Module (PCM) C1
(18)S110
(19)S103
Figure 8:

Right Side of the Engine (4.8, 5.3, and 6.0L)


Object Number: 1402457  Size: LF
(1)Manifold Absolute Pressure (MAP) Sensor Connector
(2)S102
(3)Auxiliary Battery Relay Connector (TP2)
(4)Evaporative Emission (EVAP) Canister Purge Soleniod
(5)Throttle Actuator Control (TAC) Connector
(6)Coolant Level Switch Connector
(7)Intake Air Temperature (IAT)/ Mass Air Flow (MAF) Sensor Connector
(8)A/C Refrigerant Pressure Sensor Connector
(9)A/C Compressor Clutch Connector
(10)A/C Low Pressure Switch Connector
(11)Engine Oil Level Switch Connector
(12)Camshaft Position (CMP) Sensor Connector
(13)Engine Oil Pressure (EOP) Sensor Connector
Figure 9:

Instrument Cluster and C202


Object Number: 310124  Size: MF
(1)Instrument Panel Cluster (IPC)
(2)Inline Connector C202 M
(3)Inline Connector C202 F
(4)Instrument Cluster Electrical Connector
(5)Instrument Panel Carrier
(6)Instrument Panel
Figure 10:

Instrument Panel


Object Number: 894047  Size: LF
(1)C104 (YE9)
(2)C106 (PTO)
(3)Fuse Block Underhood - C1
(4)C115 (NYS)
(5)C105 (LB7)
(6)S214 (NP8)
(7)S202
(8)P110
(9)S213
(10)S205
(11)C222 (Except HP2)
(12)C209 (Z55 or E52)
(13)C306
(14)C249
(15)S210 (UQ7 and Y91)
(16)C201
(17)S218
(18)C221
(19)C206 (Y91 or HP2)
(20)S212 (NYS)
(21)P100
(22)C154 (NP1 or NP8)
(23)C102
Figure 11:

LH Top of Dash


Object Number: 310066  Size: MF
(1)Splice Pack 203 (SP203)
(2)Ground 203 (G203)
(3)Dash
(4) A-Pillar
Figure 12:

Instrument Panel Wiring (at Steering Column)


Object Number: 310109  Size: MF
(1)Inline Connectors (C201A, C201B and C201C)
(2)Inline Connector C201
(3)Inflatable Restraint Harness
(4)Inflatable Restraint Electrical Connector
(5)Body Control Module (BCM) Bracket
(6)Body Control Module (BCM) Harness
(7)A/T Shift Lock Control Solenoid Connector
(8)A/T Shift Lock Control Solenoid Electrical Connector
(9)Lower Steering Column Shaft
(10)Inflatable Restraint Steering Wheel Module Connector with Tether
(11)Instrument Panel Bracket
Figure 13:

HVAC Module Assembly (Connections)


Object Number: 310004  Size: MF
(1)Recirculation Actuator Connector
(2)Instrument Panel
(3)Electrical Harness Connector
(4)Ground 200 (G200)
(5)Blower Motor Resistor Assembly
(6)Blower Motor Resistor Connector
(7)Harness Inline Connector (C296)
(8)Air Temperature Actuator Connector
(9)Air Temperature Actuator
(10)Mode Actuator
Figure 14:

Headliner Harness to Relay Block-Body


Object Number: 623107  Size: MF
(1)A-Pillar
(2)Headliner Wiring Harness
(3)Relay Block-Body
(4)Headliner Harness Connector C-6
Figure 15:

LH Frame Rail at Body Mount


Object Number: 309937  Size: MF
(1)Ground 302 (G302)
(2)LH Body Mount
(3)Ground Screw
(4)Electronic Brake Control Module (EBCM)
(5)Fuel Tank
Figure 16:

LH A-Pillar Behind Kick Panel


Object Number: 310055  Size: MF
(1)C200 -I/P Harness Side
(2)C204
(3)A-Pillar
(4)C200 -Door Harness Side
Figure 17:

RH A-Pillar Behind Kick Panel


Object Number: 617242  Size: MF
(1)Side Cowl Panel
(2)C299 -Door Harness Side - Uplevel
(3)C299 -I/P Harness Side - Uplevel
(4)C208 -Right Body Harness Side
(5)C208 - I/P Harness Side
Figure 18:

Lower RF of the Passenger Compartment


Object Number: 926693  Size: MF
(1)C222
(2)C315 (AJ7)
(3)Body Harness
(4)C209
Figure 19:

Inline Connectors-C204 and C205


Object Number: 623154  Size: MF
(1)LH Dash Panel Insulator
(2)Door Wiring Harness -LH
(3)Inline Connector C205 -Door Harness Side
(4)Inline Connector C205 -LH Body Wiring Harness Side
(5)Inline Connector C204 -LH Body Wiring Harness Side
(6)Body Wiring Harness-LH
(7)Inline Connector C204 -I/P Harness Side
(8)Body Harness-LH
Figure 20:

C210 and Relay Block-Body-C4


Object Number: 814939  Size: LF
(1)Relay Block-Body
(2)Relay Block-Body-C4
(3)C210-Roof Beacon Relay Inline
Figure 21:

Inline Connectors-C304, C299


Object Number: 656720  Size: MF
(1)Fuse Block-Right I/P
(2)Fuse Block Right -I/P Connector-C2 -RF Door Harness
(3)RF Door Harness
(4)Inline Connector-C304 -Passenger Heated Seat
(5)Inline Door Harness Connector-C299 -Uplevel Utility
Figure 22:

Driver Seat (1 of 2)


Object Number: 854624  Size: LF
(1)C321
(2)Seat Adjuster Switch - Driver
(3)Memory Seat Module - C4
(4)Memory Seat Module - C3
(5)Seat Bolster/Lumbar Switch - Driver
(6)Seat Recliner Motor - Driver
(7)C305
(8)C323
(9)C325
(10)C322
(11)Seat Rear Vertical Motor - Driver
(12)Seat Front Vertical Motor - Driver
(13)Memory Seat Module - C2
(14)Memory Seat Module - C1
(15)Seat Horizontal Motor - Driver
(16)C320
Figure 23:

Driver Seat (2 of 2)


Object Number: 854618  Size: LF
(1)Seat Bolster Motor - Driver
(2)Seat Lumbar Motor - Driver
(3)Heated Seat Element - Driver Cushion
(4)C324
(5)Seat Belt Switch Connector
(6)Heated Seat Element - Driver Cushion Connector
Figure 24:

Front Passenger Seat (1 of 2) (w/ AN3)


Object Number: 854616  Size: LF
(1)Seat Horizontal Motor - Front Passenger
(2)Seat Front Vertical Motor - Front Passenger
(3)Seat Rear Vertical Motor - Front Passenger
(4)C388
(5)C326
(6)C399
(7)Seat Recliner Motor - Front Passenger
(8)Seat Adjuster Switch - Front Passenger
(9)Seat Adjuster Switch Connector
Figure 25:

Front Passenger Seat (2 of 2) (w/ AN3)


Object Number: 854613  Size: LF
(1)Seat Bolster Motor - Front Passenger
(2)Seat Lumbar Motor - Front Passenger
(3)Heated Seat Element - Front Passenger Cushion Connector
(4)C329
Figure 26:

C306 - Avalanche/Suburban


Object Number: 813723  Size: MF
(1)C306
(2)Front Floor Console Extension
(3)Speaker - Subwoofer
(4)I/P Harness
Figure 27:

C327


Object Number: 814871  Size: MF
(1) Seat-LR
(2)C327-Inline to Rear Seat Harness
(3)LH Body Harness
Figure 28:

Right Body Harness to Rear Seat Harness


Object Number: 741070  Size: MF
(1)Rear Seat
(2)Rear Seat Harness Connector (Inline C349)
(3)Right Body Harness Connector (Inline C349)
(4)Right Body Harness
Figure 29:

C388


Object Number: 814876  Size: MF
(1)Seat-RR
(2)C388-Inline to Seat Harness-RR
Figure 30:

Rear Audio Console Harness Connectors


Object Number: 623128  Size: MF
(1)Front Floor Compartment
(2)I/P Harness
(3)Inline Connector 307 (Uplevel Utility), Inline 340 (Luxury Utility)
(4)Inline Connector 307 (Uplevel Utility), Inline 340 (Luxury Utility)
(5)Console Harness
(6)Inline Connector 314 (Rear Console Harness Side)
(7)Inline Connector 314 (LH body Harness Side)
Figure 31:

C314 and C341-LH Body Harness to Console


Object Number: 813764  Size: LF
(1)C341-Avalanche (53 Similar)
(2)Left Body Harness
(3)C314-Left Body Harness Side-Luxury Utility
(4)C314-Console Harness Side-Luxury Utility
Figure 32:

Rear Audio Extension Harness Connectors


Object Number: 623121  Size: MF
(1)Instrument Panel
(2)Radio Connectors
(3)Console Extension Harness
(4)Inline Connector 253 (IP Harness Side)
(5)Inline Connector 253 (Console Extension Harness Side)
(6)Compact Disc Player Connector
(7)Front Floor Console Extension
(8)Instrument Panel Harness
(9)Radio
Figure 33:

Rear HVAC Harness


Object Number: 573929  Size: LF
(1)Inner Body Side Panel
(2)Splice Pack 410 (SP410)
(3)Splice Pack 410A (SP410A)
(4)Blower Motor Connector
(5) HVAC Assembly - Auxiliary
(6)Air Temperature Sensor-Lower Auxiliary
(7)Mode Actuator-Auxiliary Connector
(8)Inline Connector 350 -Auxiliary HVAC Harness Side
(9)Inline Connector 350 -Headliner Harness Side
(10)Inline Connector 397 -Auxiliary HVAC Harness Side
(11)Inline Connector 397 -RH Body Harness Side
Figure 34:

Body Harness Rear RH


Object Number: 574004  Size: MF
(1)Back Body Opening Inner Upper Panel
(2)CHSML Cargo
(3) Door Lock Switch Rear Cargo
(4)Splice Pack 410
(5)Speaker - RR Connector
(6)Inline to Headliner
Figure 35:

Body Harness Rear LH


Object Number: 574001  Size: LF
(1)Body Side Inner Panel
(2)Body Harness-LH
(3)Speaker- Subwoofer Connector
(4)Speaker-LR -D Pillar
Figure 36:

C402


Object Number: 814537  Size: MF
(1)C402-Chassis Harness Side
(2)C402-Tail Lamp Harness Side
Figure 37:

Chassis Wiring Harness to Rear Side Rail-LH


Object Number: 615821  Size: MF
(1)Inline Connector C405 to Tail Lamp Harness
(2)Shock Absorber Solenoid Connector-RR
(3)Frame
(4)Inline Connector C450
(5)Chassis Harness
Figure 38:

C406 and P475-Escalade/Avalanche EXT w/VSES


Object Number: 814880  Size: MF
(1)P475
(2)C406-RH Body Harness Side
(3)C406-Tail Lamp Harness Side
(4)Junction Block-C3-Rear Lamps
Figure 39:

Real Time Damping Connector to Body Wiring Harness


Object Number: 615767  Size: MF
(1)Inline Connector C450 -Chassis Harness Side
(2)Inline Connector C450 -Body Harness Side
(3)Frame
Figure 40:

Liftgate Wiring Harness to Liftgate


Object Number: 573926  Size: LF
(1)Liftgate with Liftglass
(2)Liftglass Defog Connector
(3)Liftgate Latch Connector
(4)Liftgate Lower Latch Connector
(5)Liftgate Latch Connector
(6)Liftgate Lower Latch Connector
(7)Liftgate Latch Connector
(8)Wiper Motor Connector
(9)Inline Connector C499
Figure 41:

Rear Lamp Harness to Rear License Plate/Tail Lamp Harness-RH (LH Similiar)


Object Number: 623153  Size: MF
(1)Back Body Opening Lower Frame
(2)Rear Lamp Wiring Harness
(3)Inline Connector 403 -Rear Lamp Harness Side
(4)Inline Connector 403 -Tail Lamp Harness Side
(5)Inline Connector 404 -Rear Lamp Harness Side
(6)Inline Connector 404 -Rear License Plate Harness Side
(7)License Plate Wiring Harness
Figure 42:

Junction Block-Rear Lamps-C1 and C2


Object Number: 814544  Size: MF
(1)C2-Gray
(2)Body Panel-RH Side
(3)Junction Block-Rear Lamps
(4)C1-Blue
Figure 43:

Junction Block-Rear Lamps-C3 and C4


Object Number: 814020  Size: MF
(1)Junction Block-Rear Lamps-Utility
(2)C4-Tail Lamp Harness -RH
(3)C3-Rear License Lamp Harness-RH