GM Service Manual Online
For 1990-2009 cars only
Figure 1:

Park Lamp Relay - Domestic


Object Number: 883210  Size: FS
Master Electrical Component List
Exterior Lighting Systems Description and Operation
Park Lamp Relay - Export
B+ Bus Bar - 2 of 2
Headlights/DRL Controls
G203 - 2 Of 2
G203 - 1 Of 2
Figure 2:

Park Lamp Relay - Export


Object Number: 883213  Size: FS
Master Electrical Component List
Exterior Lighting Systems Description and Operation
Front Park Lamps - Domestic
Park Lamp Relay - Domestic
B+ Bus Bar - 2 of 2
Daytime Running Lamps (DRL) - Export
Headlights/DRL Controls
G203 - 2 Of 2
G203 - 1 Of 2
Figure 3:

Front Park Lamps - Domestic


Object Number: 889201  Size: FS
Master Electrical Component List
Exterior Lighting Systems Description and Operation
Front Park Lamps - Export
Park Lamp Relay - Export
Left Turn Signal - Domestic
Park Lamp Relay - Domestic
Right Turn Signals - Domestic
G100, G101, G105, G106
G100, G101, G105, G106
G100, G101, G105, G106
Figure 4:

Front Park Lamps - Export


Object Number: 883218  Size: FS
Master Electrical Component List
Exterior Lighting Systems Description and Operation
Interior Park
Front Park Lamps - Domestic
S100 - Export
S101 - Export
G100, G101, G105, G106
Figure 5:

Interior Park


Object Number: 889202  Size: FS
Master Electrical Component List
Exterior Lighting Systems Description and Operation
Right Rear Park Lamps
Front Park Lamps - Export
Park Lamp Relay - Domestic
Trailer Wiring
G200 - 1 of 3
G200 - 1 of 3
G200 - 1 of 3
G200 - 2 Of 3
Figure 6:

Right Rear Park Lamps


Object Number: 889204  Size: FS
Master Electrical Component List
Exterior Lighting Systems Description and Operation
Left Rear Park Lamps
Interior Park
Park Lamp Relay - Domestic
Right Turn Signals - Domestic
G401, G402, G403
G401, G402, G403
Figure 7:

Left Rear Park Lamps


Object Number: 889205  Size: FS
Master Electrical Component List
Exterior Lighting Systems Description and Operation
Stop Lamps
Right Rear Park Lamps
Park Lamp Relay - Domestic
Left Turn Signal - Domestic
G401, G402, G403
G401, G402, G403
Figure 8:

Stop Lamps - 1 of 2


Object Number: 889209  Size: FS
Master Electrical Component List
Exterior Lighting Systems Description and Operation
Stop Lamps - 2 of 2
Trailer Wiring
Left Rear Park Lamps
B+ Bus Bar - 1 of 2
VEH CHMSL, VEH STOP, LT TRL ST/TRN, RT TRL ST/TRN
VEH CHMSL, VEH STOP, LT TRL ST/TRN, RT TRL ST/TRN
Stop Lamps - 2 of 2
G401, G402, G403
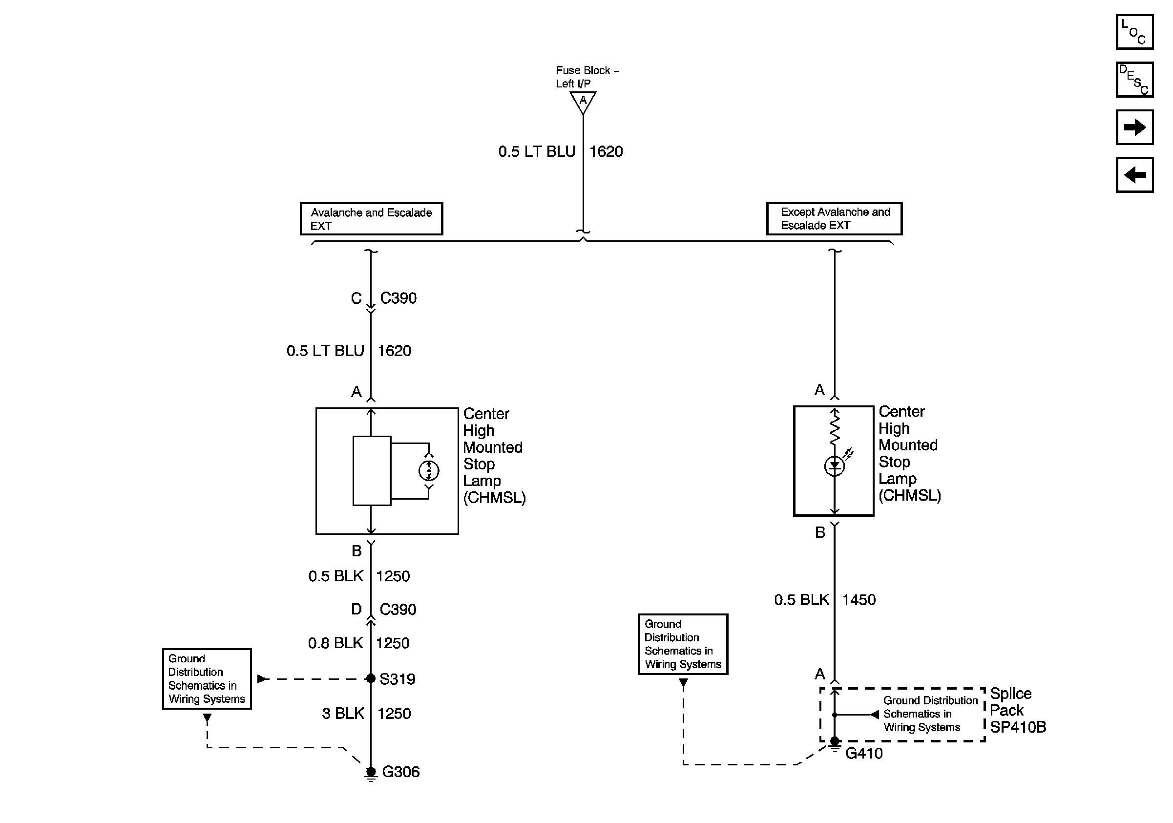
Figure 9:

Stop Lamps - 2 of 2


Object Number: 889210  Size: FS
Master Electrical Component List
Exterior Lighting Systems Description and Operation
Turn Signal Multifunction
Stop Lamps
Stop Lamps
G306
G410 - 1 Of 3
G410 - 1 Of 3
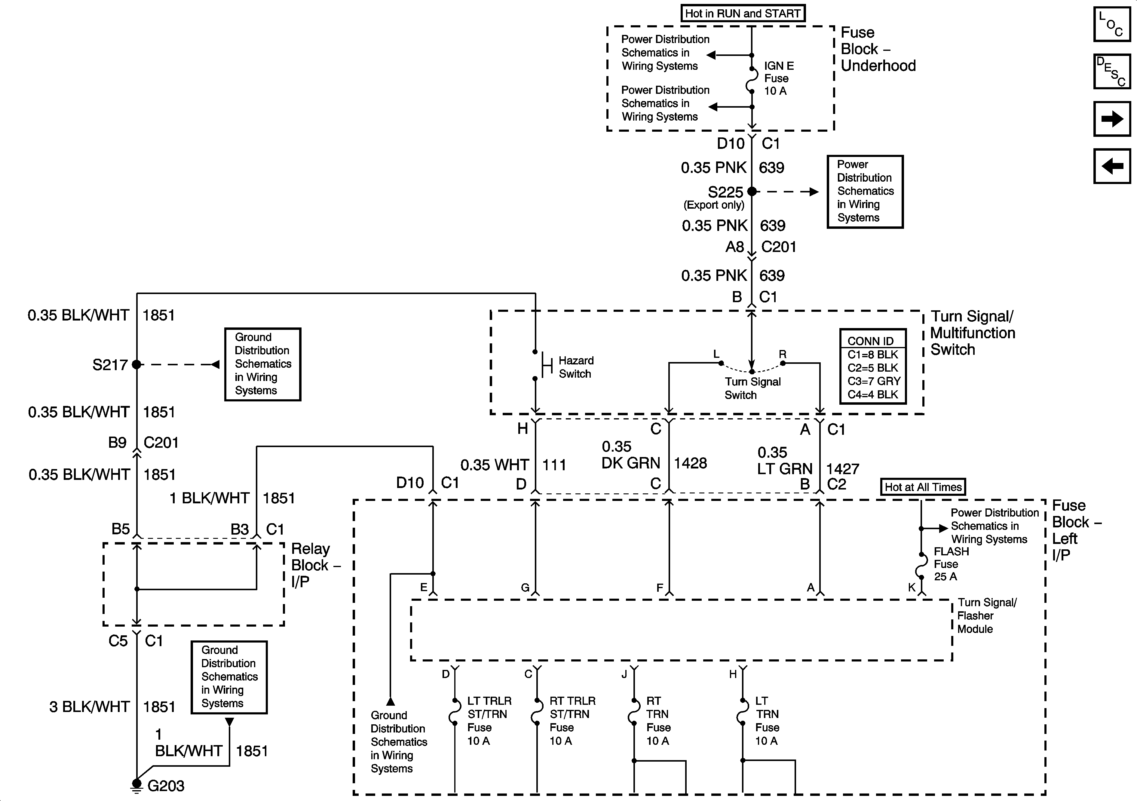
Figure 10:

Turn Signal Multifunction


Object Number: 889211  Size: FS
Master Electrical Component List
Exterior Lighting Systems Description and Operation
Left Turn Signal - Domestic
Stop Lamps - 2 of 2
Ignition, Run, Start, Accy Bus Bar
IGN E
IGN E
G203 - 3 of 3
G203 - 1 Of 2
G203 - 2 Of 2
LBEC 1, LBEC 2, MBEC 1
Figure 11:

Left Turn Signals - Domestic


Object Number: 889212  Size: FS
Master Electrical Component List
Exterior Lighting Systems Description and Operation
Left Turn Signals - Export
Turn Signal Multifunction
Left Rear Park Lamps
Left Rear Park Lamps
G100, G101, G105, G106
G401, G402, G403
Figure 12:

Left Turn Signals - Export


Object Number: 889213  Size: FS
Master Electrical Component List
Exterior Lighting Systems Description and Operation
Right Turn Signals - Domestic
Left Turn Signal - Domestic
S100 - Export
G100, G101, G105, G106
G401, G402, G403
Figure 13:

Right Turn Signals - Domestic


Object Number: 889214  Size: FS
Master Electrical Component List
Exterior Lighting Systems Description and Operation
Right Turn Signals - Export
Left Turn Signals - Export
Front Park Lamps - Domestic
Right Rear Park Lamps
G100, G101, G105, G106
G401, G402, G403
G401, G402, G403
Figure 14:

Right Turn Signals - Export


Object Number: 889215  Size: FS
Master Electrical Component List
Exterior Lighting Systems Description and Operation
Exterior Illumination Lamps
Right Turn Signals - Domestic
S101 - Export
G100, G101, G105, G106
G401, G402, G403
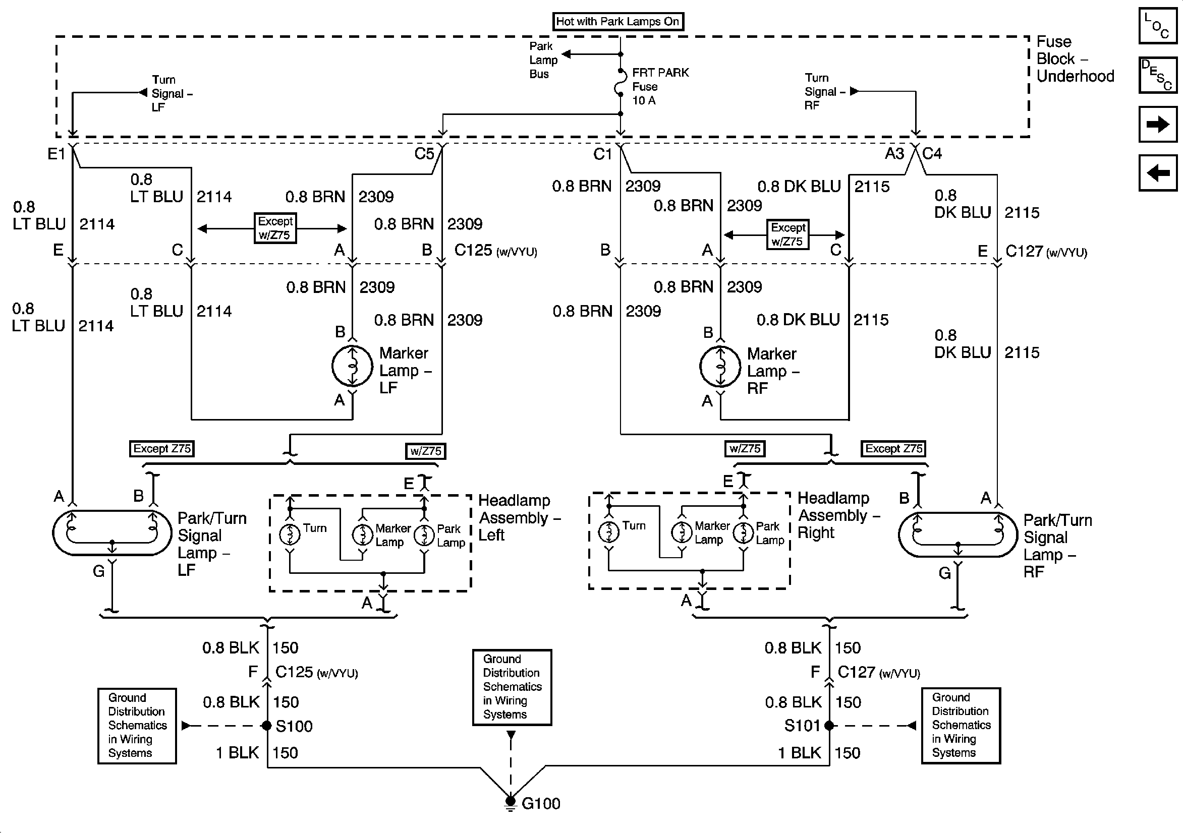
Figure 15:

Exterior Illumination Lamps


Object Number: 883241  Size: FS
Master Electrical Component List
Exterior Lighting Systems Description and Operation
Trailer Wiring
Right Turn Signals - Export
SP205 - 1 of 2
Figure 16:

Trailer Wiring


Object Number: 1207402  Size: FS
Master Electrical Component List
Exterior Lighting Systems Description and Operation
Backup Lamps
Exterior Illumination Lamps
B+ Bus Bar - 1 of 2
ABS, VSES/ECAS, STUD #1, STUD #2, TBC BATT
Park Lamp Relay - Domestic
B+ Bus Bar - 1 of 2
ABS, VSES/ECAS, STUD #1, STUD #2, TBC BATT
G200 - 3 Of 3
G200 - 1 of 3
G200 - 1 of 3
G200 - 1 of 3
Interior Park
Stop Lamps
Backup Lamps
Figure 17:

Backup Lamps


Object Number: 889216  Size: FS
Master Electrical Component List
Exterior Lighting Systems Description and Operation
Exterior Illumination Lamps
Trailer Wiring
Ignition, Run, Start, Accy Bus Bar
03 GMT800 Shift Lock CTRL SCH
G401, G402, G403
G401, G402, G403
Power, Outside Air Temp, and Light Sensors