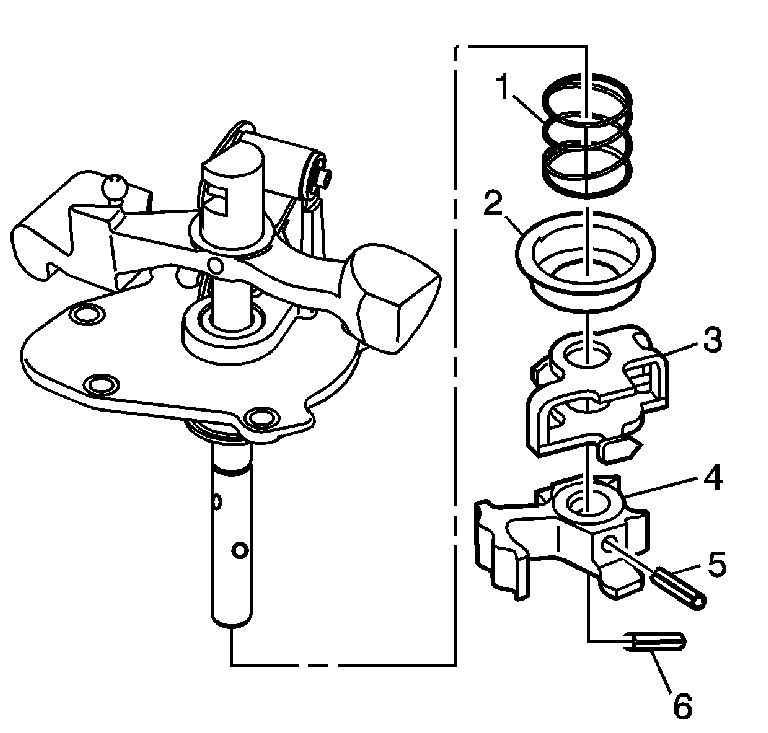
Important: Observe the orientation of the roll pin (5 and 6) relative to its position on shift rod before removal.