GM Service Manual Online
For 1990-2009 cars only

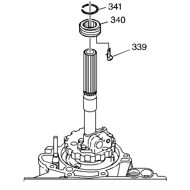
    Object Number: 181728  Size: SH
  1. Install the speedometer drive gear (340) onto the output shaft.
  2. Install the speedometer drive gear retainer clip (339), or retainer clip (341) on some models only.

    Object Number: 166342  Size: SH
  1. Install the speedometer drive gear (2) onto the transmission output shaft (3).
  2. Secure the speedometer drive gear with the 2 speedometer drive gear retaining rings (1).
  3. Install the extension housing to the transmission case. Refer to Extension Housing Installation .
  4. Lower the vehicle.
  5. Refill the transmission as necessary.