GM Service Manual Online
For 1990-2009 cars only
Figure 1:

Forward Lamp Harness, Fuse Block-Underhood


Object Number: 748823  Size: MF
(1)C105
(2)Forward Lamp Harness
(3)G101
(4)Brake Fluid Level Connector
(5)G105
(6)G102
Figure 2:

Forward Lamp Harness, Fuse Block-Underhood


Object Number: 748813  Size: MF
(1)G101
(2)Forward Lamp Harness
(3)Fuse Block-Underhood, C4
Figure 3:

Forward Lamp Harness, Front


Object Number: 748819  Size: MF
(1)Ambient Air Temperature Sensor Connector
(2)Forward Lamp Harness
(3)C118
Figure 4:

Forward Lamp Harness, Right Side


Object Number: 748820  Size: MF
(1)G103
(2)A/C Low Pressure Switch
(3)Winshield Washer Fluid Pump Connectors
(4)Windshield Washer Fluid Level Switch
(5)Forward Lamp Harness
Figure 5:

Engine Harness, Fuse Block-Underhood


Object Number: 748821  Size: MF
(1)C105, I/P to Forward Lamp Harness, Fuse Block-Underhood
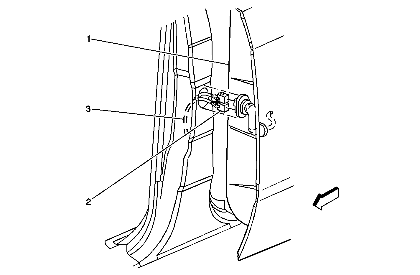
(2)C4, Forward Lamp Harness, Fuse Block-Underhood
(3)C3, Chassis Harness, Fuse Block-Underhood
(4)C2, Instrument Panel Harness, Fuse Block-Underhood
(5)C101, I/P to Chassis Harness
(6)C1, Engine Harness, Fuse Block-Underhood
Figure 6:

Engine Harness, Fuse Block-Underhood


Object Number: 748824  Size: MF
(1)PCM
(2)C100, Engine Harness to I/P Harness
(3)C1, Fuse Block-Underhood
(4)PCM Connectors
(5)Engine Harness
Figure 7:

Engine Harness, Right Side


Object Number: 748825  Size: MF
(1)Engine Harness
(2)C104, Engine to Fuel Injection Harness
Figure 8:

Engine Harness, Right Front


Object Number: 748826  Size: MF
(1)Engine Harness
(2)Oil Pressure Sensor Connector
Figure 9:

Engine Harness, Automatic Transmission


Object Number: 748827  Size: MF
(1)Engine Harness
(2)Engine Harness
Figure 10:

Engine Harness, Transfer Case


Object Number: 799400  Size: MF
(1)Transfer Case Motor Encoder Connector
(2)C310, Engine to Chassis Harness
(3)Engine Harness
(4)Chassis Harness
Figure 11:

Connector C201


Object Number: 748385  Size: MF
(1)Multi-function Switch
(2)C201
Figure 12:

Front Passenger and Driver Seats


Object Number: 800582  Size: MF
(1)C312
(2)C313
(3)C311
(4)C315
(5)C316
(6)C314
Figure 13:

Chassis Harness, Underhood


Object Number: 748836  Size: MF
(1)Chassis Harness
(2)Chassis Harness
(3)Axle Switch Connector
Figure 14:

Chassis Harness, Frame-Left Side


Object Number: 748838  Size: MF
(1)Chassis Harness
(2)Electronic Brake Control Module (EBCM)
(3)G304
Figure 15:

Chassis Harness, Fuel Tank


Object Number: 748841  Size: MF
(1)Fuel Pump and Sender Assembly
(2)Canister Vent Solenoid Connector
(3)Fuel Tank Pressure (FTP) Sensor
(4)Chassis Harness
Figure 16:

Chassis Harness, Rear Crossmember


Object Number: 748848  Size: MF
(1)Air Suspension Sensor Connector
(2)Chassis Harness
Figure 17:

Chassis Harness, Frame Grounds


Object Number: 748851  Size: MF
(1)G304
(2)G305
(3)G403 (Short Wheelbase)
Figure 18:

Chassis Harness, Rear Frame


Object Number: 748853  Size: MF
(1)Chassis Harness
(2)Backup Lamp Socket
Figure 19:

Underhood Fuse Block


Object Number: 748854  Size: MF
(1)G104
(2)G105
(3)C105, Instrument to Forward Lamp Harness
(4)C101, Instrument to Chassis Harness
(5)G102
(6)Windshield Wiper Connector
Figure 20:

Instrument Harness, Engine Compartment


Object Number: 748860  Size: MF
(1)C104, Engine to Fuel Injector Harness
(2)C100, I/P to Engine Harness
(3)C105, I/P to Forward Lamp Harness
(4)Fuse Block Underhood, C2
(5)C101, Instrument to Chassis Harness
(6)PCM Connector, C1
Figure 21:

Instrument Harness, Left I/P


Object Number: 748862  Size: MF
(1)Headlamp Switch Connectors
(2)Splice Pack SP205
(3)Grommet
(4)Instrument Panel Harness
Figure 22:

Instrument Harness, Instrument Panel


Object Number: 748865  Size: MF
(1)Connector C203
(2)Accessory Power Connector
(3)Cigar Lighter Connector
(4)Rear Window Wiper/Washer Connector
(5)Headlamp Switch
Figure 23:

Instrument Harness, Console


Object Number: 748867  Size: MF
(1)C307, I/P to Console Harness
Figure 24:

Instrument Panel, Right Side


Object Number: 879165  Size: MF
(1)Instrument Panel
(2)Body Harness
(3)C203, Body Harness
(4)C203, I/P Harness
Figure 25:

Instrument Harness, Floor


Object Number: 748869  Size: MF
(1)SP201, Ground Splice Pack
(2)Instrument Panel Harness
(3)C307, I/P to Console Harness
(4)Sensing and Diagnostic Module Connector
(5)C304, I/P to Body Harness
(6)C301, I/P to Body Harness
Figure 26:

Instrument Harness, Rear Floor


Object Number: 748868  Size: MF
(1)Body Control Module (BCM) Connectors
(2)Fuse Block-Rear, I/P Connector, C1
(3)Fuse Block-Rear, Body Connector, C2
(4)Fuse Block-Rear, Headliner Connector, C3
(5)I/P Harness
(6)VCIM Connectors
(7)Splice Pack SP306
Figure 27:

Floor Console (Long Wheelbase, Body Type VIN 6)


Object Number: 855630  Size: MF
(1)Front Floor Panel
(2)Front Floor Console
(3)Body Harness
(4)C309
Figure 28:

Body Wiring Harness Extension Harness


Object Number: 841111  Size: MF
(1)Body Control Module (BCM)
(2)Body Wiring Harness Extension Harness
(3)Fuse Block-Rear
Figure 29:

Front Doors, C500 and C600


Object Number: 1232491  Size: MF
(1)Door, LF
(2)Body Wiring Harness
(3)C500, C600 similar on right side
Figure 30:

Body Harness, Rear Floor


Object Number: 748872  Size: MF
(1)Fuse Block-Rear, Body Connector, C2
(2)C304, Body to Instrument Harness (Short Wheelbase, Body Type VIN 3)
(3)C306 Body to Headliner Harness (Short Wheelbase, Body Type VIN 3)
(4)C301, Body to Instrument Harness (Short Wheelbase, Body Type VIN 3)
(5)Vehicle Communication Interface Module (VCIM) Connectors
Figure 31:

Body Harness, Rear Floor (Long Wheelbase, Body Type VIN 6)


Object Number: 849565  Size: MF
(1)C301
(2)C304
(3)Body Harness
(4)Rear Floor
(5)Instrument Panel Harness
Figure 32:

Body Harness, Left Rear Floor (Long Wheelbase, Body Type VIN 6)


Object Number: 849569  Size: MF
(1)Fuse Block-Rear
(2)Body Harness
(3)Headliner Harness
(4)C306
Figure 33:

Body Harness, C401 (Long Wheelbase, Body Type VIN 6)


Object Number: 872310  Size: MF
(1)Mode Actuator-Auxiliary
(2)Blower-Auxiliary
(3)Air Temperature Actuator-Auxiliary
(4)C401
(5)In-Line 30A Fuse
Figure 34:

Headliner Harness, Overhead Console


Object Number: 795316  Size: MF
(1)Overhead Console
(2)C305
Figure 35:

Headliner Harness, Left B-Pillar


Object Number: 748876  Size: MF
(1)Headliner Harness
(2)Door Frame
(3)G302
Figure 36:

Headliner Harness, Left Rear Floor


Object Number: 748877  Size: MF
(1)C306, Headliner Harness to Body Harness
(2)Fuse Block-Rear, Headliner Connector, C3
(3)Body Harness
(4)Headliner Harness
Figure 37:

Sunroof Harness With Headliner Removed


Object Number: 813455  Size: MF
(1)C308
(2)Sunroof Motor Connector
(3)Connector C1
(4)Sunroof Module
(5)Connector C2
Figure 38:

Rear Doors, C700 and C800


Object Number: 755998  Size: MF
(1)Door, LR
(2)C700, C800 similar on right side
(3)Body Wiring Harness
Figure 39:

G401, G402


Object Number: 826159  Size: MF
(1)Body Side Lower Reinforcement
(2)Body Harness
(3)G401; G402 Similar on Opposite Side
Figure 40:

Tailgate Connector


Object Number: 755995  Size: MF
(1)Liftgate
(2)C900
(3)Body Opening