|
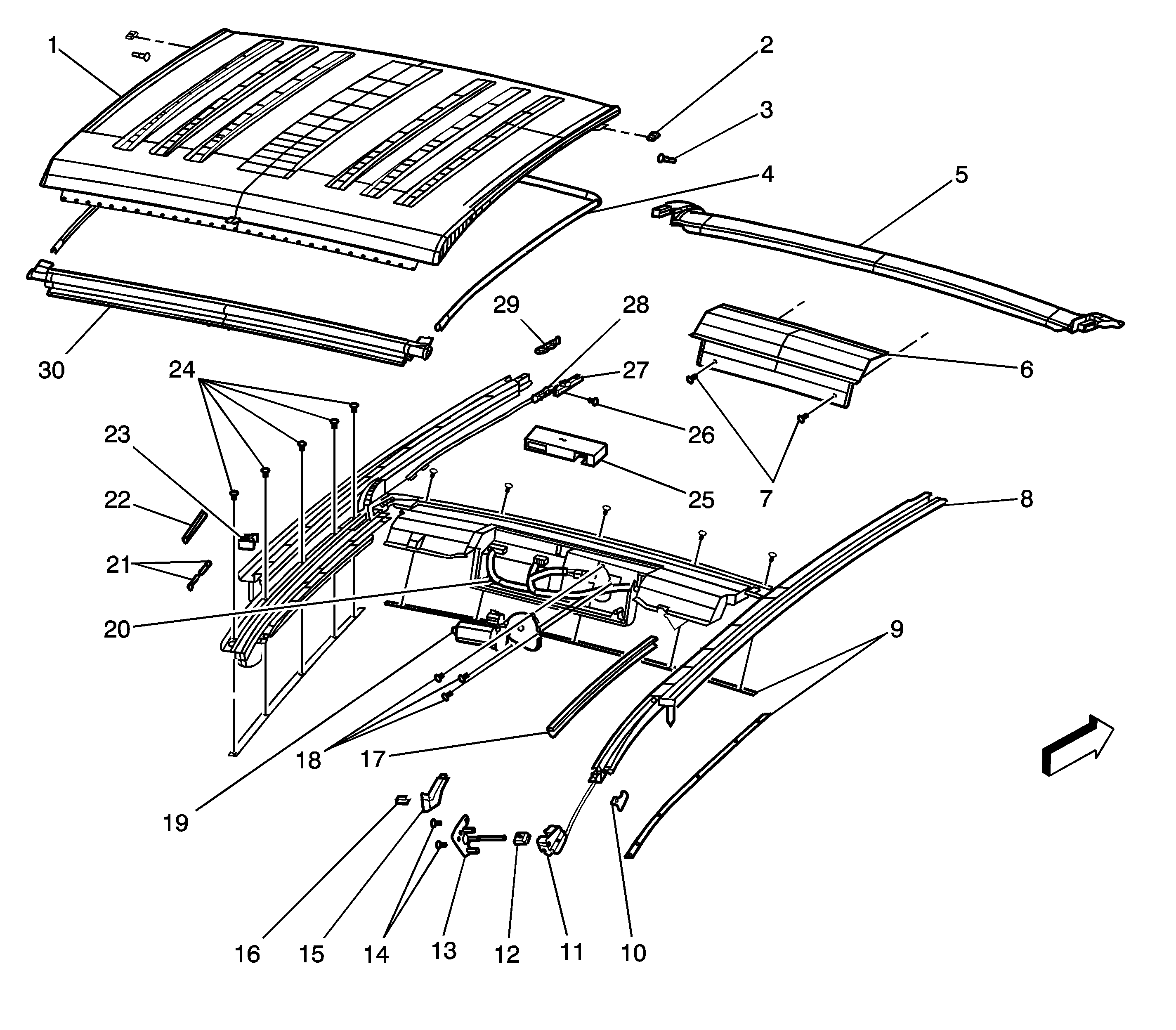
| (1) | Moveable Roof
Panel Assembly - Rooftop |
| (2) | Moveable Roof
Panel Bushing |
| (3) | Moveable
Roof Panel Front Lock Pin |
| (4) | Moveable
Roof Panel Seal |
| (5) | Moveable
Roof Panel Air Deflector - Front |
| (6) | Moveable
Roof Panel Actuator Cover |
| (7) | Moveable
Roof Panel Actuator Screws |
| (8) | Moveable
Roof Panel Frame Assembly |
| (9) | Moveable
Roof Lower Side Rail - Part of Moveable Roof Lower Side Rail Assembly Kit |
| (10) | Moveable
Roof Wedge Block Seal - Part of Moveable Roof Lower Side Rail Assembly Kit |
| (11) | Moveable
Roof Panel Drive Assembly - Part of Moveable Roof Panel Guide Kit - LH,
RH |
| (12) | Moveable
Roof Panel Support Slide - Part of Moveable Roof Panel Guide Kit - LH,
RH |
| (13) | Moveable
Roof Panel Guide Bracket - LH, RH |
| (14) | Moveable
Roof Panel Guide Bracket Screws |
| (15) | Moveable
Roof Panel Rear Locator - Part of Moveable Roof Panel Rear Locator Kit -
LH, RH |
| (16) | Moveable
Roof Panel Rear Locator Clip - Part of Moveable Roof Panel Rear Locator Kit -
LH, RH |
| (17) | Moveable
Roof Trim Seal - LH, RH |
| (18) | Moveable
Roof Panel Motor/Actuator Screws |
| (19) | Moveable
Roof Panel Motor/Actuator |
| (20) | Moveable
Roof Panel Wiring Harness |
| (21) | Moveable Roof
Panel Rear Latch Levers - Part of Moveable Roof Panel Rear Latch Kit -
LH, RH |
| (22) | Moveable Roof
Panel Rear Latch Slide - Part of Moveable Roof Panel Rear Latch Kit -
LH, RH |
| (23) | Moveable Roof
Panel Guide Plug - Part of Moveable Roof Frame Assembly |
| (24) | Moveable Roof
Lower Side Rail Screws - Part of Moveable Roof Lower Side Rail Assembly Kit |
| (25) | Moveable
Roof Panel Control Module |
| (26) | Moveable
Roof Panel Front Latch Rivet - Part of Moveable Roof Panel Front Latch Assembly
Kit - LH, RH |
| (27) | Moveable
Roof Panel Front Latch Slide - Front - Part of Moveable Roof Panel Front
Latch Assembly Kit - LH, RH |
| (28) | Moveable
Roof Panel Front Latch Slide - Rear - Part of Moveable Roof Panel Front
Latch Assembly Kit - LH, RH |
| (29) | Moveable Roof
Panel Front Spring Wedge |
| (30) | Moveable Roof
Panel Rear Header Seal |