GM Service Manual Online
For 1990-2009 cars only
Figure 1:

Module Power, Ground, Serial Data and MIL


Object Number: 858664  Size: FS
Master Electrical Component List
Electronic Ignition (EI) System Description
Fuse Block Underhood IGN 1 Relay
OBDII Symbol Description Notice
Data Link Connector and SP205
G108
B+ Bus - Underhood Fuse Block
IGN E TBC IGN 1, BACK UP, BTSI, and TRLR B/U Fuses
B+ Bus - Underhood Fuse Block
IGN E TBC IGN 1, BACK UP, BTSI, and TRLR B/U Fuses
Power, Ground, Serial Data and MIL
IGN 0, TBC IF, TBC ACC, FRT WPR, and RAIN Fuses
Figure 2:

Fuse Block - Underhood IGN 1 Relay


Object Number: 902636  Size: FS
Master Electrical Component List
Electronic Ignition (EI) System Description
Engine Data Sensors - 5 Volt and Low Reference
Module Power, Ground, Serial Data and MIL
OBDII Symbol Description Notice
ACCY/RUN and RUN/START Bus Bars
ACCY/RUN and RUN/START Bus Bars
G102, G104, G105 and G107
Figure 3:

Engine Data Sensors - 5 Volt and Low Reference


Object Number: 858665  Size: FS
Master Electrical Component List
Electronic Ignition (EI) System Description
Engine Data Sensors - Pressure, Temperature and VSS
Fuse Block Underhood IGN 1 Relay
OBDII Symbol Description Notice
Figure 4:

Engine Data Sensors - Pressure, Temperature and VSS


Object Number: 858668  Size: FS
Master Electrical Component List
Electronic Ignition (EI) System Description
Engine Data Sensors - Oxygen Sensors
Engine Data Sensors - 5 Volt and Low Reference
OBDII Symbol Description Notice
Gages
G108
PCM I, O2A, O2B and ENG I Fuses - 5.3L
PCM I, O2A, O2B and ENG I Fuses - 5.3L
Figure 5:

Engine Data Sensors - Oxygen Sensors


Object Number: 858674  Size: FS
Master Electrical Component List
Electronic Ignition (EI) System Description
Engine Data Sensors - Electronic Throttle Controls
Engine Data Sensors - Pressure, Temperature and VSS
OBDII Symbol Description Notice
G108
PCM I, O2A, O2B and ENG I Fuses - 5.3L
Figure 6:

Engine Data Sensors - Electronic Throttle Controls


Object Number: 858676  Size: FS
Master Electrical Component List
Throttle Actuator Control (TAC) System Description
Ignition Controls - Ignition System Coils 2, 4, 6, 8
Engine Data Sensors - Oxygen Sensors
OBDII Symbol Description Notice
G108
Fuse Block Underhood IGN 1 Relay
TAC Motor, APP Sensor, On/Off Switch and Stop Lamp Switch - 4.2L Only
Stop Lamps
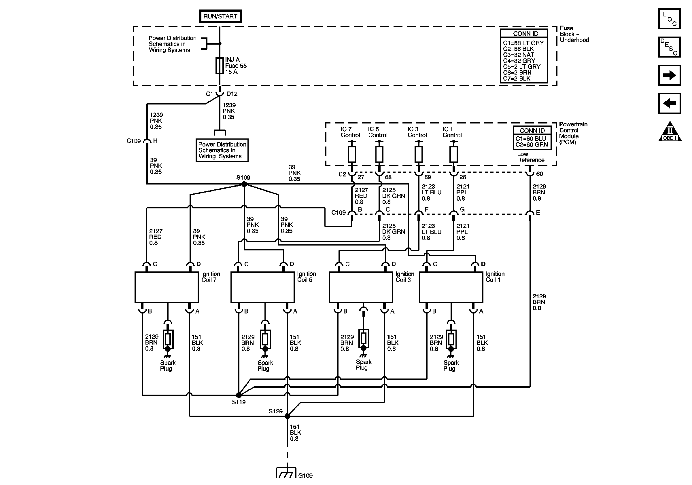
Figure 7:

Ignition Controls - Ignition Systems Coils 1, 3, 5, 7


Object Number: 858678  Size: FS
Master Electrical Component List
Electronic Ignition (EI) System Description
Ignition Controls- Sensors
Ignition Controls - Ignition System Coils 2, 4, 6, 8
OBDII Symbol Description Notice
G109
ETC, INJ A and INJ B Fuses - 5.3L
ETC, INJ A and INJ B Fuses - 5.3L
Figure 8:

Ignition Controls - Ignition System Coils 2, 4, 6, 8


Object Number: 858702  Size: FS
Master Electrical Component List
Electronic Ignition (EI) System Description
Ignition Controls - Ignition System Coils 1, 3, 5, 7
Engine Data Sensors - Electronic Throttle Controls
OBDII Symbol Description Notice
G109
ETC, INJ A and INJ B Fuses - 5.3L
ETC, INJ A and INJ B Fuses - 5.3L
Figure 9:

Ignition Controls - Sensors


Object Number: 858680  Size: FS
Master Electrical Component List
Knock Sensor (KS) System Description
Fuel Controls - Fuel Pump Controls and Fuel Injectors
Ignition Controls - Ignition System Coils 1, 3, 5, 7
OBDII Symbol Description Notice
Figure 10:

Fuel Controls - Fuel Pump Controls and Fuel Injectors


Object Number: 858687  Size: FS
Master Electrical Component List
Fuel System Description Without Returnless Fuel System
Fuel Controls - EVAP Controls
Ignition Controls- Sensors
OBDII Symbol Description Notice
G201 - 2 of 2, G305 and G306
Fuel Controls - EVAP Controls
ETC, INJ A and INJ B Fuses - 5.3L
ETC, INJ A and INJ B Fuses - 5.3L
B+ Bus - Underhood Fuse Block
G102, G104, G105 and G107
Figure 11:

Fuel Controls - EVAP Controls


Object Number: 858698  Size: FS
Master Electrical Component List
Evaporative Emission Control System Description
Controlled/Monitored Subsystem References
Fuel Controls - Fuel Pump Controls and Fuel Injectors
OBDII Symbol Description Notice
Fuel Controls - Fuel Pump Controls and Fuel Injectors
PCM I, O2A, O2B and ENG I Fuses - 5.3L
PCM I, O2A, O2B and ENG I Fuses - 5.3L
COILS, CANISTER, ECAS, IPC/DIC, FLASH, TBC1, and PCM B Fuses
Figure 12:

Controlled/Monitored Subsystem References


Object Number: 858700  Size: FS
Figure 13:

Transmission Controls References - A/T


Object Number: 858719  Size: FS
Master Electrical Component List
Electronic Ignition (EI) System Description
Controlled/Monitored Subsystem References
OBDII Symbol Description Notice
Vehicle Speed Sensor
PNP Switch and Indicator
Transmission Controls