The transmission control module (TCM) continuously monitors the system voltage on the Ignition 1 and the battery voltage circuits. Lower than normal voltage may be inadequate to operate the transmission control solenoids properly. Improper solenoid operation may cause erratic transmission operation and tie-up conditions, which may result in internal damage.
When the TCM detects low voltage, DTC P0562 sets. DTC P0562 is a type C DTC.
This diagnostic procedure supports the following DTC:
DTC P0562 System Voltage Low
The engine speed is 1,200 RPM or greater.
The TCM detects system voltage 11 volts or less for 10 seconds.
| • | The TCM does not request the engine control module (ECM) to illuminate the malfunction indicator lamp (MIL). |
| • | The TCM records the operating conditions when the Conditions for Setting the DTC are met. The TCM records this information as a Failure Record. |
| • | The TCM stores DTC P0562 in TCM history. |
| • | The TCM clears the DTC from TCM history if the vehicle completes 40 warm-up cycles without a non-emission related diagnostic fault occurring. |
| • | A scan tool can clear the DTC. |
| • | Observe the driver information center (DIC) messaging that would indicate the electrical system requires service. |
| • | Inspect for the following conditions: |
| - | Loose or damaged terminals at the generator |
| - | Loose or worn generator drive belt |
The numbers below refer to the step numbers on the diagnostic table.
This step tests the charging system voltage with a nominal load.
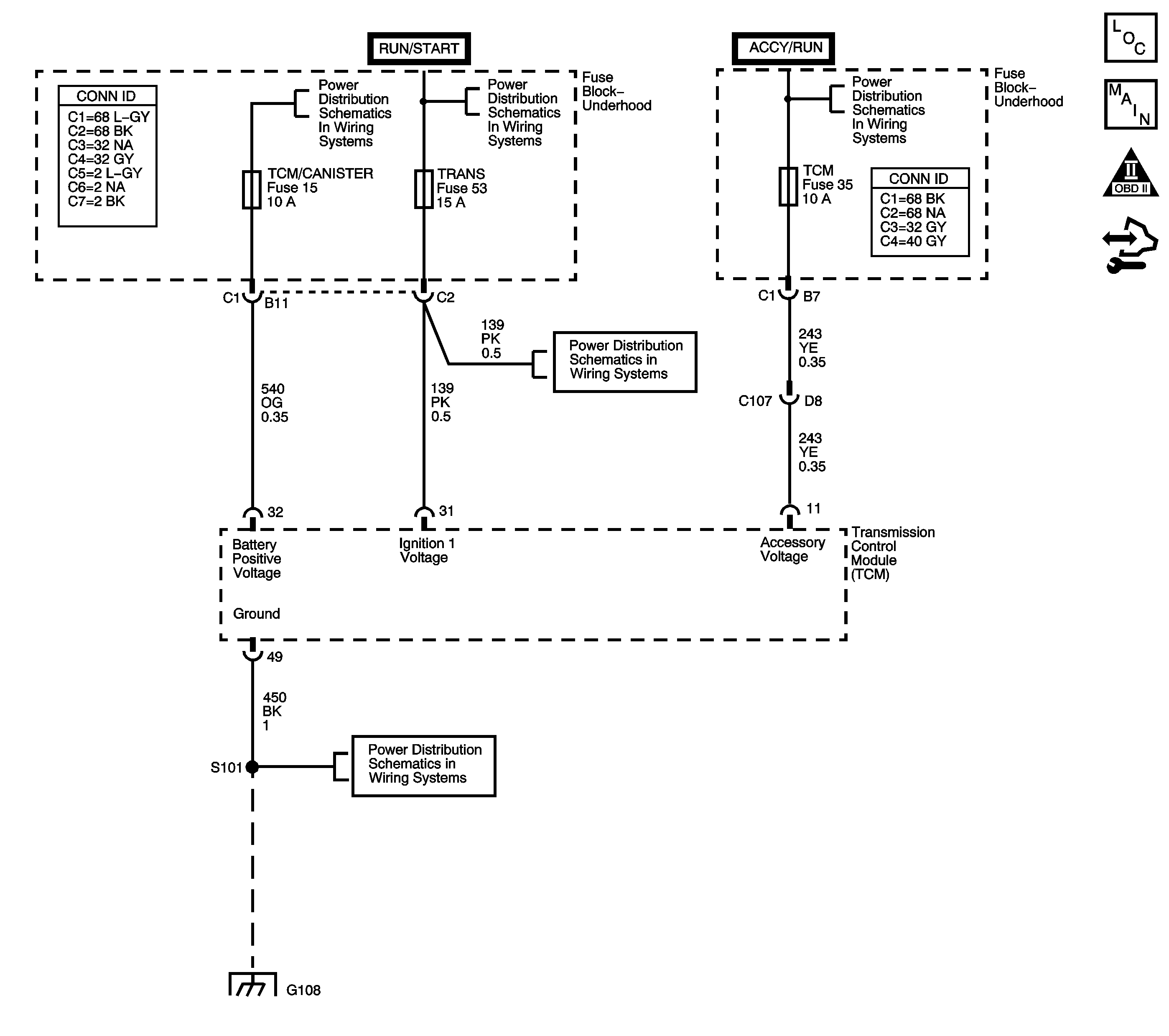
This step obtains the ignition voltage measurement reported by the TCM.
This step tests the voltage drop from the battery and ignition voltage input at the TCM.
This step tests the voltage drop from the ground terminals of the TCM to the ground terminal of the battery.
Step | Action | Values | Yes | No | ||||||||
|---|---|---|---|---|---|---|---|---|---|---|---|---|
1 | Did you perform the Diagnostic System Check - Vehicle? | -- | Go to Step 2 | |||||||||
2 |
Important:
Is the voltage higher than the specified value? | 11 V | Go to Step 3 | Go to Battery Inspection/Test | ||||||||
3 |
Is the charge indicator light ON? | -- | Go to Charging System Test | Go to Step 4 | ||||||||
Is the voltage within the specified range? | 12.5-14.5 V | Go to Step 5 | Go to Charging System Test | |||||||||
Is the scan tool Ignition Voltage within the specified range? | 12.5-14.5 V | Go to Testing for Intermittent Conditions and Poor Connections | Go to Step 6 | |||||||||
Are the voltage drop measurements less than the specified value? | 0.5 V | Go to Step 10 | Go to Step 7 | |||||||||
7 | Inspect the ignition voltage circuit fuse and the battery positive voltage circuit fuse for an open. Refer to Circuit Protection - Fuses . Did you find an open fuse? | -- | Go to Step 8 | Go to Step 9 | ||||||||
8 | Repair the short to ground in the battery positive voltage circuit or the ignition voltage circuit. Refer to Wiring Repairs . Is the repair complete? | -- | Go to Step 13 | -- | ||||||||
9 | Test the battery positive voltage circuit and the ignition voltage circuit for an open or high resistance condition. Refer to Testing for Continuity and Wiring Repairs . Did you find and correct a condition? | -- | Go to Step 13 | Go to Step 10 | ||||||||
Are both of the voltage drop measurements less than the specified value? | 0.2 V | Go to Step 12 | Go to Step 11 | |||||||||
11 | Repair the open or high resistance condition in the TCM ground circuits. Refer to Wiring Repairs . Is the repair complete? | -- | Go to Step 13 | -- | ||||||||
12 | Replace the TCM. Refer to Control Module References for replacement, setup, and programming. Is the action complete? | -- | Go to Step 13 | -- | ||||||||
13 | Perform the following procedure in order to verify the repair:
Has the test run and passed? | -- | Go to Step 14 | Go to Step 2 | ||||||||
14 | With the scan tool, observe the stored information, capture info and DTC info. Does the scan tool display any DTCs that you have not diagnosed? | -- | System OK |