GM Service Manual Online
For 1990-2009 cars only
Makes
🢒
Chevrolet
🢒
2008
🢒
TrailBlazer - 4WD
🢒
Engine
🢒
Engine Controls and Fuel - 4.2L
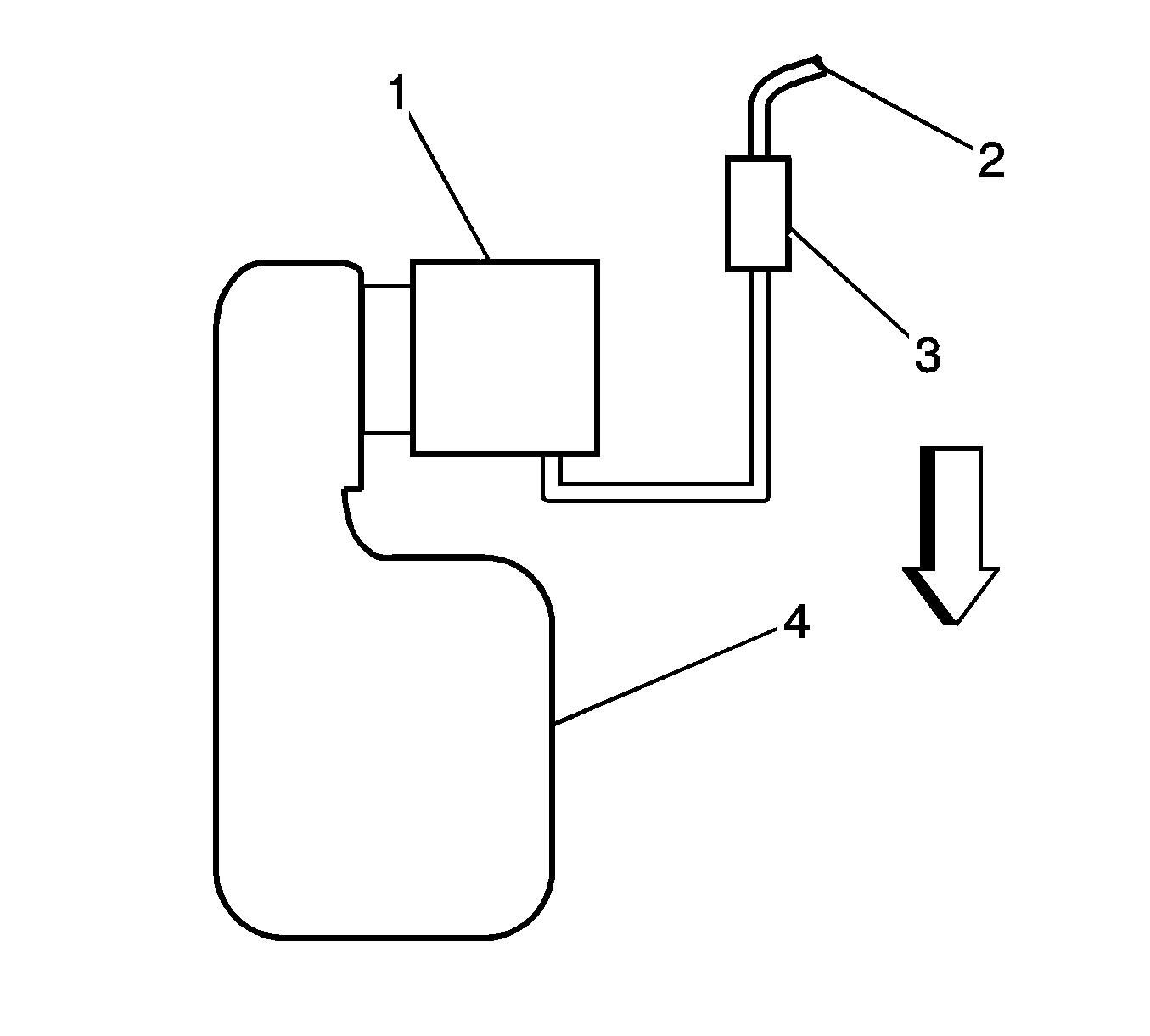
🢒 Emission Hose Routing Diagram
(1)
Throttle Body
(2)
To EVAP Canister
(3)
EVAP Canister Purge Valve
(4)
Preplenum Resonator