GM Service Manual Online
For 1990-2009 cars only

FUEL TANK THUD/CLUNK NOISE (INSTALL NEW FUEL TANK STRAPS

SUBJECT: FUEL TANK THUD/CLUNK NOISE (INSTALL NEW FUEL TANK STRAPS AND INSULATOR PADS)

MODELS: 1997-98 CHEVROLET VENTURE 1997-98 OLDSMOBILE SILHOUETTE 1997-98 OPEL SINTRA 1997-98 PONTIAC TRANS SPORT BUILT PRIOR TO VIN BREAKPOINT WD100162

CONDITION:

SOME CUSTOMERS MAY COMMENT THAT THEIR VEHICLE EXHIBITS A THUD/CLUNK TYPE NOISE AUDIBLE WHEN ACCELERATING FROM A STOP OR DURING A BRAKING MANEUVER WHEN THE FUEL TANK IS FILLED BETWEEN 5/8 AND FULL.

CAUSE:

THIS CONDITION MAY BE CAUSED BY FUEL SHIFTING WITHIN THE FUEL TANK DURING CERTAIN MANEUVERS AND COLLIDING WITH THE LARGE RADII AT THE ENDS OF THE FUEL TANK.

CORRECTION:

INSTALL INSULATOR PADS TO THE TOP SURFACE OF THE FUEL TANK AND REPLACE EXISTING FUEL TANK STRAPS WITH NEW COMPONENTS INDICATED BELOW. TO INSURE PROPER INSTALLATION, SEE FIGURE 1, AND FOLLOW THE PROCEDURES IN THE APPROPRIATE SERVICE MANUAL.

PARTS INFORMATION:

P/N DESCRIPTION =============== =========================

10419933 STRAP, FRONT, FUEL TANK

10407883 STRAP, MIDDLE, FUEL TANK

10407884 STRAP, REAR, FUEL TANK

10419938 INSULATOR PADS

PARTS ARE EXPECTED TO BE AVAILABLE FROM GMSPO, 6/17/98.

WARRANTY INFORMATION:

FOR VEHICLES REPAIRED UNDER WARRANTY, USE:

LABOR OPERATION LABOR OPERATION NUMBER DESCRIPTION TIME =============== ============================ ===============

L1260 TANK, FUEL - REPLACE USE PUBLISHED INSULATOR PAD LABOR OPERATION TIME

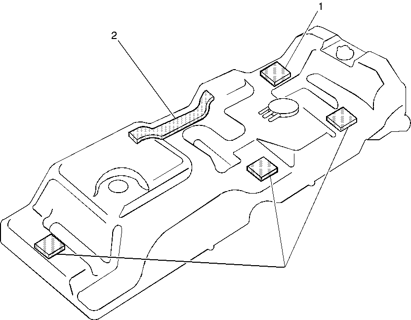
FIGURES: 01 ATTACHMENTS: 00

FIGURE 1 INSULATOR PAD UNIT - P/N 10419938 1 - 3" X 3" 2 - 1" X 12"

IMPORTANT: TANK SURFACES WHERE PADS ARE TO BE PLACED MUST BE WIPED CLEAN TO INSURE ADHESION OF PADS.


Object Number: 337008  Size: MF

GENERAL MOTORS BULLETINS ARE INTENDED FOR USE BY PROFESSIONAL TECHNICIANS, NOT A "DO-IT-YOURSELFER". THEY ARE WRITTEN TO INFORM THOSE TECHNICIANS OF CONDITIONS THAT MAY OCCUR ON SOME VEHICLES, OR TO PROVIDE INFORMATION THAT COULD ASSIST IN THE PROPER SERVICE OF A VEHICLE. PROPERLY TRAINED TECHNICIANS HAVE THE EQUIPMENT, TOOLS, SAFETY INSTRUCTIONS AND KNOW-HOW TO DO A JOB PROPERLY AND SAFELY. IF A CONDITION IS DESCRIBED, DO NOT ASSUME THAT THE BULLETIN APPLIES TO YOUR VEHICLE, OR THAT YOUR VEHICLE WILL HAVE THAT CONDITION. SEE A GENERAL MOTORS DEALER SERVICING YOUR BRAND OF GENERAL MOTORS VEHICLE FOR INFORMATION ON WHETHER YOUR VEHICLE MAY BENEFIT FROM THE INFORMATION.

COPYRIGHT 1998 GENERAL MOTORS CORPORATION. ALL RIGHTS RESERVED.