GM Service Manual Online
For 1990-2009 cars only
Figure 1:

Cell 150: G201


Object Number: 323069  Size: FS
Entertainment Components
Radio/Audio System Description
Cell 150: Windshield Antenna, PCM
Cell 11: UH: Radio Fuse
Handling ESD Sensitive Parts Notice
Cell 14: G200 and G201
Figure 2:

Cell 150: Windshield Antenna, PCM


Object Number: 323073  Size: FS
Entertainment Components
Radio/Audio System Description
Cell 150: Right and Left Radio Liftgate Speaker (Base)
Cell 150: G201
Cell 117: Headlamp and IP Lamp Dimmer Switch, Driver Information Display
Handling ESD Sensitive Parts Notice
Cell 11: UH: ALT Sense, B/U Lamp, ECM Sense, Fog LP, Fuel Pump, Horn and Park LP Fuses
Cruise Control Schematics
Handling ESD Sensitive Parts Notice
SIR Handling Caution
Cell 150: Right and Left Radio Liftgate Speaker (Base)
Cell 150: Right and Left Radio Liftgate Speaker (Uplevel)
Figure 3:

Cell 150: Right and Left Radio Liftgate Speaker (Base)


Object Number: 323077  Size: FS
Entertainment Components
Radio/Audio System Description
Cell 150: Right and Left Radio Liftgate Speaker (Uplevel)
Cell 150: Windshield Antenna, PCM
Cell 150: Windshield Antenna, PCM
Cell 150: Windshield Antenna, PCM
Cell 150: Windshield Antenna, PCM
Cell 150: Windshield Antenna, PCM
Cell 150: Windshield Antenna, PCM
Cell 150: Windshield Antenna, PCM
Figure 4:

Cell 150: Right and Left Radio Liftgate Speaker (Uplevel)


Object Number: 323081  Size: FS
Entertainment Components
Radio/Audio System Description
Cell 150: Remote CD Player
Cell 150: Right and Left Radio Liftgate Speaker (Base)
Cell 150: Windshield Antenna, PCM
Cell 150: Windshield Antenna, PCM
Cell 150: Windshield Antenna, PCM
Cell 150: Windshield Antenna, PCM
Cell 150: Windshield Antenna, PCM
Cell 150: Windshield Antenna, PCM
Handling ESD Sensitive Parts Notice
Cell 117: Headlamp and IP Lamp Dimmer Switch, Driver Information Display
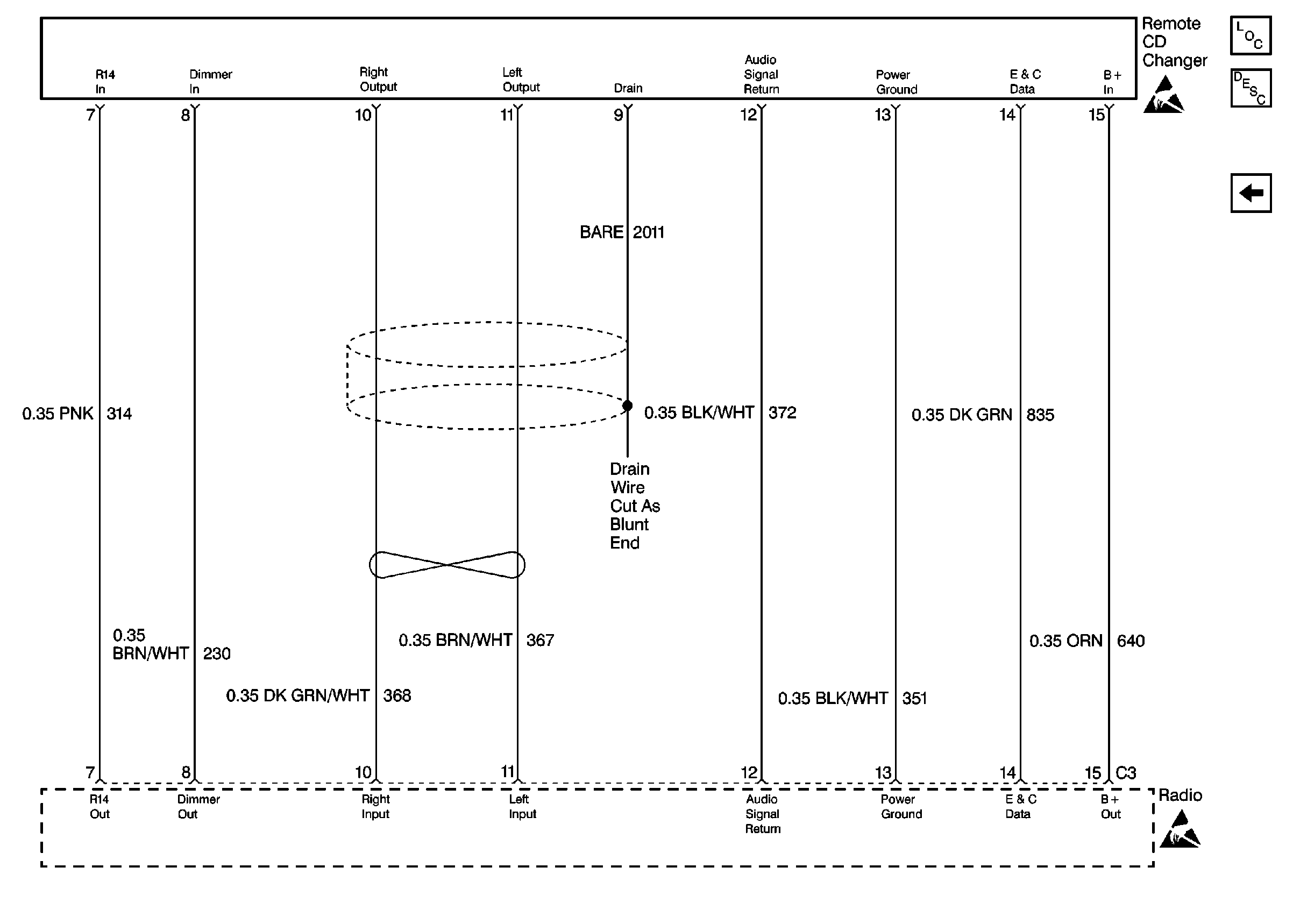
Figure 5:

Cell 150: Remote CD Player


Object Number: 323083  Size: FS
Entertainment Components
Radio/Audio System Description
Cell 150: Right and Left Radio Liftgate Speaker (Uplevel)
Handling ESD Sensitive Parts Notice
Handling ESD Sensitive Parts Notice