GM Service Manual Online
For 1990-2009 cars only
Makes
🢒
Chevrolet
🢒
2001
🢒
Venture
🢒
Restraints
🢒
SIR
🢒 SIR Schematics
Figure
1:
Power, Ground, DLC, and SIR Lamp
G302 (2 of 2)
IGN 1, SDM, T/SIG, CRUISE and PCM PASS KEY/CLUSTER Fuses
SIR Schematic Icons
SIR Schematic Icons
SIR Caution
SIR Caution
SIR Schematic Icons
SIR Caution
Power, Ground, Class 2 Data Line and Gauges
Data Link Connector (DLC)
G302 (2 of 2)
SIR Caution
Master Electrical Component List
SIR System Description and Operation
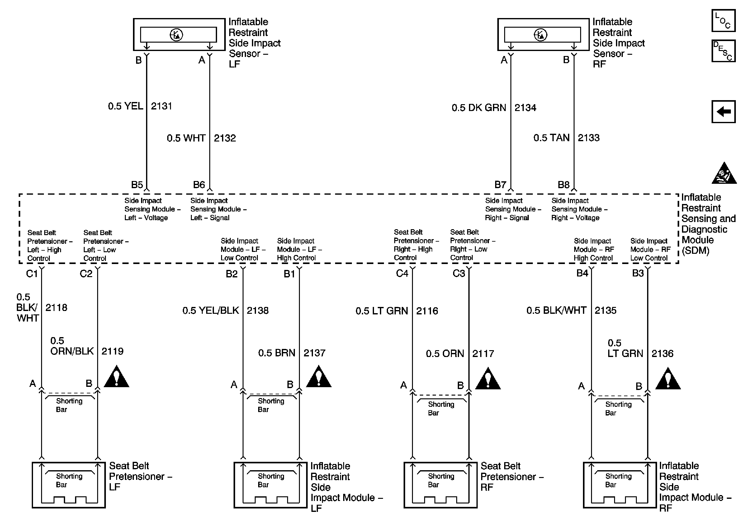
Sensors, Pretensioners, and Side Air Bags
Figure
2:
Sensors, Pretensioners, and Side Air Bags
SIR Schematic Icons
SIR Schematic Icons
SIR Schematic Icons
SIR Schematic Icons
Master Electrical Component List
SIR System Description and Operation
Power, Ground, DLC, and SIR Lamp
SIR Caution