GM Service Manual Online
For 1990-2009 cars only

Fog Lights Schematics Front Foglights

Fog Lights Schematics (Foglights) Cell 103)


Object Number: 608430  Size: FS
EBCM, BATT Main 1 and Radio Fuses
Handling ESD Sensitive Parts Notice
Headlights Schematics (Cell 100: Headlamp and IP Lamp Dimmer Switch)
Cell 14: G200
Cell 14: G101 and G102
Underhood Accessory Wiring Junction Block
Headlights Schematics (Cell 100: Headlamps)
Cell 14: G101 and G102
Lighting Systems Components
Fog Lights Circuit Description

Fog Lights Schematics Rear Foglights - Export

Figure 1:

Fog Lights Schematics (Rear Fog Lights-Export 1of 2)


Object Number: 608440  Size: FS
Stop Lamp, Hazard, and Pass Key Fuses, FRT HVAC MI BLWR and Headlamp Circuit Breakers
Headlights Schematics (Daytime Running Lights-Export 1 of 3)
BATT Main 2, Headlamps, ELC/Trailer, RR Defog/HTP Mirrors and RR Fog LP Fuses and PWR/ Heated Seat PSD Circuit Breaker
Cell 14: G200
Interior Lights Dimming Schematics (Cell 117: Headlamp and IP Lamp Dimmer Switch, Driver Information Display)
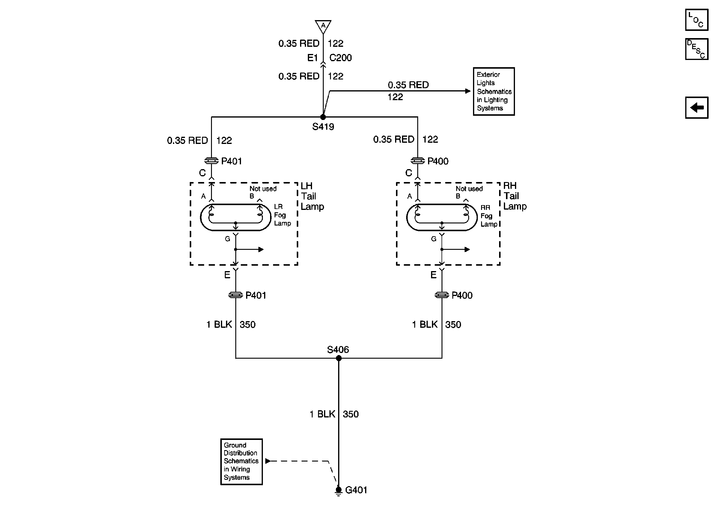
Fog Lights Schematics (Rear Fog Lights-Export 2 of 2)
Cell 14: G200
Lighting Systems Components
Fog Lights Circuit Description
Fog Lights Schematics (Rear Fog Lights-Export 2 of 2)
Figure 2:

Fog Lights Schematics (Rear Fog Lights-Export 2 of 2)


Object Number: 608445  Size: FS
Fog Lights Schematics (Rear Fog Lights-Export 1of 2)
Cell 14: G401 and G402
Export Trailer Wiring Harness
Lighting Systems Components
Fog Lights Circuit Description
Fog Lights Schematics (Rear Fog Lights-Export 1of 2)